TOP
|
特許
|
意匠
|
商標
特許ウォッチ
Twitter
他の特許を見る
10個以上の画像は省略されています。
公開番号
2025176018
公報種別
公開特許公報(A)
公開日
2025-12-03
出願番号
2025131432,2023135414
出願日
2025-08-06,2020-08-14
発明の名称
整形外科的関節のための外科的な修正処置の術前計画
出願人
ホウメディカ・オステオニクス・コーポレイション
,
Howmedica Osteonics Corp.
代理人
弁理士法人鈴榮特許綜合事務所
主分類
A61B
34/10 20160101AFI20251126BHJP(医学または獣医学;衛生学)
要約
【課題】1つまたは複数のインプラントコンポーネントが留置されている整形外科的関節の骨埋め込み前の罹患した近似を決定するための技法について提供する。
【解決手段】システムは、患者の関節の画像データを取得し、関節が既存のインプラントを含むことを決定し、既存のインプラントに関するタイプの識別を生成することと関節の埋め込み前の罹患した近似を生成することの一方または両方を行うように構成される。
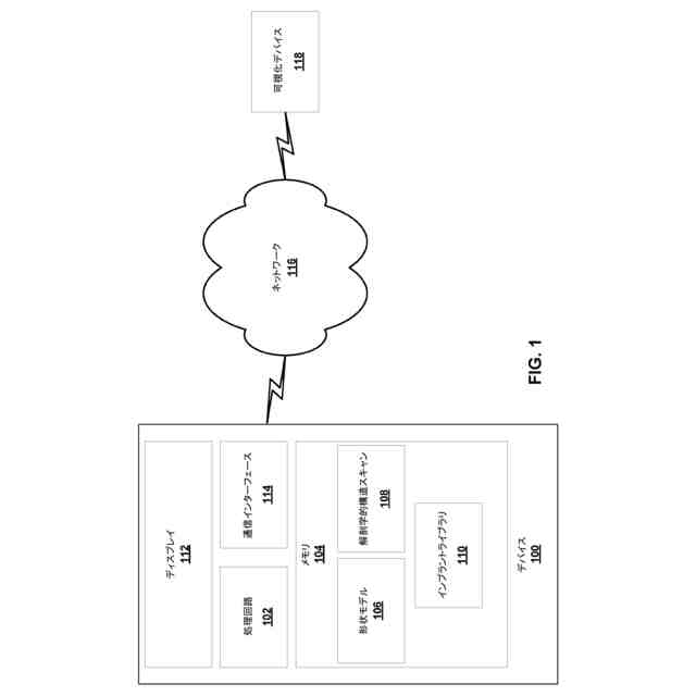
【選択図】図1
特許請求の範囲
【請求項1】
罹患した解剖学的対象物のための形状モデルを決定することと、
コンピューティングシステムによって、インプラントを含む患者の関節の画像データを取得することと、ここにおいて、前記画像データが、前記インプラントをもつ前記関節の3Dモデルを備える、
前記インプラントをもつ前記関節の前記3Dモデルにおいて、骨に対応するボクセルを識別することと、
前記骨に対応すると識別された前記ボクセルに基づいて、前記骨に対する初期形状推定を決定することと、
アライメントされた初期形状推定を形成するように前記初期形状推定を前記形状モデルにアライメントすることと、
前記骨の埋め込み前の罹患した近似を生成するために前記アライメントされた初期形状推定に基づいて前記形状モデルを変形させることと
を備える方法。
続きを表示(約 1,000 文字)
【請求項2】
前記骨の前記埋め込み前の罹患した近似をディスプレイデバイスに出力すること
をさらに備える、請求項1に記載の方法。
【請求項3】
前記インプラントをもつ前記関節の前記3Dモデルにおいて、前記インプラントに対応するボクセルを識別することと、
前記インプラントのない前記関節の3Dモデルを生成するために、前記インプラントをもつ前記関節の前記3Dモデルから前記インプラントに対応する前記ボクセルを除去することと
をさらに備える、請求項1または2に記載の方法。
【請求項4】
前記インプラントのない前記関節の前記3Dモデルをディスプレイデバイスに出力すること
をさらに備える、請求項3に記載の方法。
【請求項5】
前記骨の前記埋め込み前の罹患した近似に基づいて、前記インプラントのない前記関節の前記3Dモデルをセグメント化すること
をさらに備える、請求項1から4のいずれか一項に記載の方法。
【請求項6】
前記骨の前記埋め込み前の罹患した近似に基づいて前記インプラントのない前記関節の前記3Dモデルをセグメント化することが、前記埋め込み前の罹患した近似を機械学習システムに入力することを備える、請求項5に記載の方法。
【請求項7】
前記インプラントのない前記関節の前記セグメント化された3Dモデルを出力すること をさらに備える、請求項5に記載の方法。
【請求項8】
前記インプラントのない前記関節の前記セグメント化された3Dモデルを出力することが、前記3Dモデルのための複数の可能なセグメンテーションを出力することを備える、請求項7に記載の方法。
【請求項9】
前記3Dモデルのための前記複数の可能なセグメンテーションの信頼値を出力すること をさらに備える、請求項7に記載の方法。
【請求項10】
前記インプラントをもつ前記関節の前記3Dモデルにおいて、非インプラント特徴に対応するボクセルを識別することと、
前記インプラントの3Dモデルを生成するために、前記インプラントをもつ前記関節の前記3Dモデルから前記非インプラント特徴に対応する前記ボクセルを除去することと をさらに備える、請求項1から4のいずれか一項に記載の方法。
(【請求項11】以降は省略されています)
発明の詳細な説明
【技術分野】
【0001】
[0001]本出願は、2019年8月16日に出願された米国仮特許出願第62/887,838号の利益を主張するものであり、同仮特許出願の内容全体が参照により本明細書に組み込まれる。
続きを表示(約 2,900 文字)
【背景技術】
【0002】
[0002]外科的な関節修復処置は、損傷したまたは病んでいる関節の修復および/または置換を伴う。一例として関節置換術などの外科的な関節修復処置は、損傷した関節または損傷したインプラントを、患者の骨に埋め込まれた人工関節と置換することを伴うことがある。適切なサイズおよび形状にされた人工関節の適切な選択または設計ならびにその人工関節の適切な位置決めは、最適な外科的な転帰を保証するために重要である。外科医は、人工関節選択、設計、および/または位置決め、ならびに人工関節を受け入れるまたはこれと相互作用するように骨または組織を準備する外科的なステップの助けとするために、損傷した骨を分析し得る。
【発明の概要】
【0003】
[0003]本開示は、1つまたは複数のインプラントコンポーネントが留置されている整形外科的関節の骨の埋め込み前の罹患した近似(pre-implant, morbid approximation)を決定するための技法について説明する。本開示は、整形外科的関節に埋め込まれるインプラントのタイプを決定する技法についても説明する。
【0004】
[0004]一例によれば、方法は、罹患した解剖学的対象物のための形状モデルを決定することと、コンピューティングシステムによって、インプラントを含む患者の関節の画像データを取得することと、ここにおいて、画像データは、インプラントをもつ関節の3Dモデルを備える、インプラントをもつ関節の3Dモデルにおいて、骨に対応するボクセルを識別することと、骨に対応すると識別されたボクセルに基づいて、骨に対する初期形状推定を決定することと、アライメントされた初期形状推定を形成するように初期形状推定を形状モデルにアライメントすることと、骨の埋め込み前の罹患した近似を生成するために、アライメントされた初期形状推定に基づいて形状モデルを変形させることとを含む。
【0005】
[0005]別の例によれば、方法は、コンピューティングシステムによって、インプラントを含む患者の関節の画像データを取得することと、ここにおいて、画像データは、インプラントをもつ関節の3Dモデルを備える、3Dモデル内の第1の対象物を識別することと、ここにおいて、第1の対象物はインプラントの第1のコンポーネントに対応する、第1の対象物に基づいて第1のベクトルを決定することと、3Dモデル内の第2の対象物を識別することと、ここにおいて、第2の対象物はインプラントの第2のコンポーネントに対応する、第2の対象物に基づいて第2のベクトルを決定することと、第1のベクトルおよび第2のベクトルによって画定された平面に垂直である第3のベクトルを決定することと、第1のベクトル、第2のベクトル、および第3のベクトルに基づいて患者座標系を決定することと、3Dモデル内の解剖学的対象物を識別することと、決定された患者座標系に基づいて画像データから形状モデルに解剖学的対象物を最初にアライメントする初期アライメントされた形状を生成することと、初期アライメントされた形状に基づいて、解剖学的対象物の罹患した埋め込み前形状を示す情報を生成することとを含む。
【0006】
[0006]別の例によれば、方法は、コンピューティングシステムによって、患者の関節の画像データを取得することと、コンピューティングシステムによって、関節が既存のインプラントを含むことを決定することと、関節の画像データをセグメント化することと、既存のインプラントに関するタイプの識別を生成することとを含む。
【0007】
[0007]別の例によれば、方法は、コンピューティングシステムによって、既存のインプラントをもつ患者の関節の画像データを取得することと、コンピューティングシステムによって、既存のインプラントをもつ患者の関節の画像データ内で、既存のインプラントの画像を識別することと、メモリデバイス内で、複数のインプラント製品を複数のインプラント製品に関する画像と関連づけるデータベースにアクセスすることと、複数のインプラント製品の各インプラント製品は少なくとも1つの画像と関連づけられる、複数のインプラント製品に関する画像に対する既存のインプラントの画像の比較に基づいて、既存のインプラントに対応する少なくとも1つのインプラント製品を識別することとを含む。
【0008】
[0008]別の例によれば、方法は、コンピューティングシステムによって、既存のインプラントをもつ患者の関節の画像データを取得することと、コンピューティングシステムによって、既存のインプラントの一部分を骨に固定するセメントに対応する画像の部分を識別することと、セメントに対応する画像の部分に基づいて、既存のインプラントをもつ患者の関節のセメント強度を決定することと、決定されたセメント強度に基づいて出力を生成することとを含む。
【0009】
[0009]別の例によれば、デバイスは、メモリと、回路内で実装され、罹患した解剖学的対象物のための形状モデルを決定し、インプラントを含む患者の関節の画像データを取得し、ここにおいて、画像データは、インプラントをもつ関節の3Dモデルを備える、インプラントをもつ関節の3Dモデルにおいて、骨に対応するボクセルを識別し、骨に対応すると識別されたボクセルに基づいて、骨に対する初期形状推定を決定し、アライメントされた初期形状推定を形成するように初期形状推定を形状モデルにアライメントし、骨の埋め込み前の罹患した近似を生成するためにアライメントされた初期形状推定に基づいて形状モデルを変形させるように構成された1つまたは複数のプロセッサとを含む。
【0010】
[0010]別の例によれば、デバイスは、メモリと、回路内で実装され、インプラントを含む患者の関節の画像データを取得し、ここにおいて、画像データは、インプラントをもつ関節の3Dモデルを備える、3Dモデル内の第1の対象物を識別し、ここにおいて、第1の対象物はインプラントの第1のコンポーネントに対応する、第1の対象物に基づいて第1のベクトルを決定し、3Dモデル内の第2の対象物を識別し、ここにおいて、第2の対象物はインプラントの第2のコンポーネントに対応する、第2の対象物に基づいて第2のベクトルを決定し、第1のベクトルおよび第2のベクトルによって画定された平面に垂直である第3のベクトルを決定し、第1のベクトル、第2のベクトル、および第3のベクトルに基づいて患者座標系を決定し、3Dモデル内の解剖学的対象物を識別し、決定された患者座標系に基づいて画像データから形状モデルに解剖学的対象物を最初にアライメントする初期アライメントされた形状を生成し、初期アライメントされた形状に基づいて、解剖学的対象物の罹患した埋め込み前形状を示す情報を生成するように構成された1つまたは複数のプロセッサとを含む。
(【0011】以降は省略されています)
この特許をJ-PlatPat(特許庁公式サイト)で参照する
関連特許
個人
貼付剤
1か月前
個人
簡易担架
20日前
個人
腋臭防止剤
20日前
個人
短下肢装具
4か月前
個人
足踏み器具
27日前
個人
嚥下鍛錬装置
5か月前
個人
洗井間専家。
8か月前
個人
白内障治療法
8か月前
個人
排尿補助器具
1か月前
個人
前腕誘導装置
4か月前
個人
胸骨圧迫補助具
3か月前
個人
歯の修復用材料
5か月前
個人
アイマスク装置
3か月前
個人
バッグ式オムツ
5か月前
個人
矯正椅子
6か月前
個人
ホバーアイロン
7か月前
個人
ウォート指圧法
1か月前
個人
テスト肺
1日前
個人
腰ベルト
1か月前
個人
汚れ防止シート
2か月前
三生医薬株式会社
錠剤
8か月前
個人
美容セット
29日前
個人
陣痛緩和具
5か月前
個人
湿布連続貼り機。
3か月前
個人
哺乳瓶冷まし容器
4か月前
個人
歯の保護用シール
6か月前
個人
シャンプー
7か月前
個人
排尿排便補助器具
22日前
個人
車椅子持ち上げ器
8か月前
個人
治療用酸化防御装置
2か月前
株式会社コーセー
化粧料
1か月前
株式会社大野
骨壷
5か月前
個人
エア誘導コルセット
3か月前
個人
服薬支援装置
8か月前
個人
性行為補助具
4か月前
株式会社八光
剥離吸引管
6か月前
続きを見る
他の特許を見る