TOP
|
特許
|
意匠
|
商標
特許ウォッチ
Twitter
他の特許を見る
公開番号
2025175696
公報種別
公開特許公報(A)
公開日
2025-12-03
出願番号
2024081916
出願日
2024-05-20
発明の名称
頸部冷却装置
出願人
美津濃株式会社
代理人
弁理士法人池内アンドパートナーズ
主分類
A61F
7/03 20060101AFI20251126BHJP(医学または獣医学;衛生学)
要約
【課題】首へのフィット性が良好であり、冷えすぎることなしに、首を効果的に冷却することができる頸部冷却装置を提供する。
【解決手段】本発明は、布地で構成され、頸部に装着する頸部装着具、ペルチェ素子を有し、冷却面を備えるペルチェ素子ユニットを1つ以上、前記ペルチェ素子に電流を供給する電源装置、前記ペルチェ素子ユニットの冷却面を覆うカバー、及び前記電源装置を収容する収容袋を備え、前記頸部装着具の後頸部装着部には第1取付孔が設けられ、前記第1取付孔には、前記ペルチェ素子ユニットが、冷却面が頸部側になるように取り付けられ、前記収容袋は、前記第1取付孔と対向するように配置され、前記カバーは、布地で構成される、頸部冷却装置に関する。
【選択図】図1
特許請求の範囲
【請求項1】
布地で構成され、頸部に装着する頸部装着具、
ペルチェ素子を有し、冷却面を備えるペルチェ素子ユニットを1つ以上、
前記ペルチェ素子に電流を供給する電源装置、
前記ペルチェ素子ユニットの冷却面を覆うカバー、及び
前記電源装置を収容する収容袋を備え、
前記頸部装着具の後頸部装着部には第1取付孔が設けられ、前記第1取付孔には、前記ペルチェ素子ユニットが、冷却面が頸部側になるように取り付けられ、
前記収容袋は、前記第1取付孔と対向するように配置され、
前記カバーは、布地で構成される、頸部冷却装置。
続きを表示(約 810 文字)
【請求項2】
前記頸部装着具の左側頸部装着部及び右側頸部装着部のそれぞれには第2取付孔が設けられ、前記第2取付孔には、前記ペルチェ素子ユニットが、冷却面が頸部側になるように取り付けられる、請求項1に記載の頸部冷却装置。
【請求項3】
前記頸部装着具と前記収容袋の間には、左調整部材及び右調整部材が配置されている、請求項1又は2に記載の頸部冷却装置。
【請求項4】
前記ペルチェ素子ユニットは、冷却面が頸部側になるように脱着可能に取り付けられる、請求項1又は2に記載の頸部冷却装置。
【請求項5】
前記カバーは、目付が100~150g/m
2
のメッシュ生地で構成される、請求項1又は2に記載の頸部冷却装置。
【請求項6】
前記メッシュ生地は、生地の厚み方向に貫通した貫通孔を有し、前記貫通孔に接する少なくとも一部には疎水性繊維糸及び撥水性繊維糸からなる群から選ばれる一つ以上の繊維糸(I)が配置され、他の部分には親水性繊維糸(II)が配置されている、請求項5に記載の頸部冷却装置。
【請求項7】
前記カバーの下端部は前記頸部装着具の頸部側に縫製にて固着しており、前記カバーの上端部は、連結具にて脱着可能に前記頸部装着具の頸部側に連結している、請求項1又は2に記載の頸部冷却装置。
【請求項8】
前記電源装置は、前記ペルチェ素子に配線コードを介して電流を供給しており、前記配線コードは、前記頸部装着具の頸部側に配置されている配線コード留め具に収容されている、請求項1又は2に記載の頸部冷却装置。
【請求項9】
前記左調整部材と前記右調整部材は、前記左調整部材に設けられている第1連結手段と、前記右調整部材に設けられている第2連結手段にて脱着可能に連結する、請求項3に記載の頸部冷却装置。
発明の詳細な説明
【技術分野】
【0001】
本発明は、首に装着することができる頸部冷却装置に関する。
続きを表示(約 2,600 文字)
【背景技術】
【0002】
真夏等の高温下で運動や作業をする場合は、身体を冷却することが求められている。近年、ペルチェ素子を用いて頸部(首)に冷感を持たせることが行われている。例えば、特許文献1には、首の周囲における少なくとも半周以上の皮膚に当接する金属シートと、前記金属シートの両端部近傍に設けられた一対のペルチェ素子と、前記一対のペルチェ素子の発熱面(冷却面)に、冷却水あるいはクーラントを循環させる循環部と、前記循環部に供給される冷却水あるいはクーラントを冷却または加熱する熱交換部と、前記ペルチェ素子に電力を供給する電源部とから少なくとも構成されている身体冷暖房装置が記載されている。また、特許文献2には、人の首部に装着される筐体部と、前記筐体部に設けられ、前記筐体部が人の首部に装着された状態で当該首部に接触する冷却部材と、前記冷却部材に接合して設けられて前記冷却部材を冷却するペルチェ素子と、前記ペルチェ素子を作動させるための操作が行われる操作部とを備えた冷却装置が記載されている。
【先行技術文献】
【特許文献】
【0003】
特許第5264648号公報
実用新案登録第3224564号公報
【発明の概要】
【発明が解決しようとする課題】
【0004】
しかし、特許文献1に記載の身体冷暖房装置を冷房装置として用いた場合、首の周囲における少なくとも半周以上の皮膚に当接する金属シートと、前記金属シートの両端部近傍に設けられた一対のペルチェ素子を有することから、首へのフィット感が悪く、更なる改善が求められている。まだ、金属シートが皮膚に当接することから、冷えすぎて凍傷の恐れがあった。
また、特許文献2に記載の冷却装置も、人の首部に装着される筐体部は、ベース部材やアーム部材等で構成されており、首へのフィット感が悪く、更なる改善が求められている。また、金属材料で形成された冷却部材(冷却プレート)が首部に接触することから、冷えすぎて凍傷の恐れがあった。
【0005】
本発明は、上記従来の問題を解決するため、首へのフィット性が良好であり、冷えすぎることなしに、首を効果的に冷却することができる頸部冷却装置を提供する。
【課題を解決するための手段】
【0006】
本発明は、布地で構成され、頸部に装着する頸部装着具、ペルチェ素子を有し、冷却面を備えるペルチェ素子ユニットを1つ以上、前記ペルチェ素子に電流を供給する電源装置、前記ペルチェ素子ユニットの冷却面を覆うカバー、及び前記電源装置を収容する収容袋を備え、前記頸部装着具の後頸部装着部には第1取付孔が設けられ、前記第1取付孔には、前記ペルチェ素子ユニットが、冷却面が頸部側になるように取り付けられ、前記収容袋は、前記第1取付孔と対向するように配置され、前記カバーは、布地で構成される、頸部冷却装置に関する。
【発明の効果】
【0007】
本発明は、首へのフィット性が良好であり、冷えすぎることなしに、首を効果的に冷却することができる頸部冷却装置を提供することができる。
【図面の簡単な説明】
【0008】
本発明の一実施形態の頸部冷却装置をペルチェ素子ユニットの冷却面側から観察した模式的正面説明図である。
本発明の一実施形態の左側頸部装着部に取り付けられたペルチェ素子ユニットの冷却面を覆うカバーを外した状態の模式的正面説明図である。
本発明の一実施形態の頸部冷却装置をペルチェ素子ユニットの冷却面の反対側(放熱側)から観察した模式的部分説明図である。
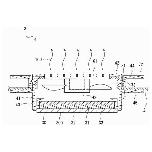
1例のペルチェ素子ユニットを頸部装着具の後頸部装着部に取り付けた状態のペルチェ素子ユニットの模式的端面図である。
本発明の一実施形態の頸部冷却装置をペルチェ素子ユニットの冷却面側から観察した模式的正面説明図である。
本発明の一実施形態の頸部冷却装置を装着した状態の身体の前面から観察した模式的説明図である。
本発明の一実施形態の頸部冷却装置を装着した状態の身体の後面から観察した模式的説明図である。
本発明の一実施形態の頸部冷却装置を装着した状態の身体の前面から観察した模式的説明図である。
【発明を実施するための形態】
【0009】
本発明者らは、上述した問題を解決するために検討を重ねた。その結果、頸部装着具を布地で構成し、頸部装着具の後頸部装着部に第1取付孔を設け、第1取付孔には、ペルチェ素子を有するペルチェ素子ユニットを冷却面が頸部側になるように取り付け、ペルチェ素子ユニットの冷却面を布地で構成されるカバーで覆い、電源装置を収容する収容袋を第1取付孔と対向するように設けることで、使用時に、収容袋に収容する電源装置の重みにより、首へのフィット性が良好になり、首を効果的に冷却し得ることを見出した。
具体的には、布地で構成された後頸部装着部に設けられた第1取付孔にペルチェ素子ユニットを冷却面が頸部側になるように取り付けることで、該頸部冷却装置を装着した場合、後頸部(首の後ろ)を冷却することができ、効率的に冷感を得ることができる。また、第1取付孔と対向するように設けられた収容袋に電源装置を収容することで、該頸部冷却装置を使用する場合、電源装置が身体の前面の首の下に位置し、電源装置の重みにより、頸部冷却装置、特にペルチェ素子ユニットを取り付けた頸部装着具の首へのフィット性が向上し、冷却面による冷却効果がより向上する。また、ペルチェ素子ユニットの冷却面を布地で構成されるカバーで覆うことで、ペルチェ素子による冷却効果を阻害せず、かつ、冷えすぎることもなく、冷えすぎることによって生じ得る凍傷も防止することができる。
【0010】
本明細書において、上下方向は、身長方向又は頸部(首)の高さ方向と一致する方向となり、左右方向(周方向)は、身幅方向又は頸部(首)の回り方向と一致する方向となる。また、本明細書において、内側は、頸部側等の身体側を意味し、外側は、身体側の反対側を意味する。
(【0011】以降は省略されています)
この特許をJ-PlatPat(特許庁公式サイト)で参照する
関連特許
美津濃株式会社
作業用上着
1日前
美津濃株式会社
作業用パンツ
1日前
美津濃株式会社
頸部冷却装置
3日前
美津濃株式会社
腰サポーター
1か月前
美津濃株式会社
グリップテープ
22日前
美津濃株式会社
ハーネス用上衣
1か月前
美津濃株式会社
アイアンゴルフクラブヘッド
1か月前
美津濃株式会社
ソール構造及びそれを備えるシューズ
1か月前
美津濃株式会社
ソール構造およびそれを備えたシューズ
1か月前
美津濃株式会社
グリップテープユニットおよびグリップテープユニットの製造方法
3か月前
美津濃株式会社
芯鞘複合繊維及びそれを含む織編物ならびに芯鞘複合繊維の製造方法
1か月前
個人
貼付剤
1か月前
個人
簡易担架
22日前
個人
健康器具
9か月前
個人
鼾防止用具
9か月前
個人
足踏み器具
29日前
個人
腋臭防止剤
22日前
個人
短下肢装具
4か月前
個人
前腕誘導装置
4か月前
個人
マッサージ機
10か月前
個人
嚥下鍛錬装置
5か月前
個人
排尿補助器具
1か月前
個人
洗井間専家。
8か月前
個人
脈波測定方法
9か月前
個人
白内障治療法
8か月前
個人
脈波測定方法
9か月前
個人
汚れ防止シート
2か月前
個人
歯の修復用材料
5か月前
個人
腰ベルト
1か月前
個人
テスト肺
3日前
個人
アイマスク装置
3か月前
個人
ホバーアイロン
8か月前
個人
バッグ式オムツ
5か月前
個人
ウォート指圧法
1か月前
個人
矯正椅子
6か月前
個人
水分吸収性物品
1日前
続きを見る
他の特許を見る