TOP
|
特許
|
意匠
|
商標
特許ウォッチ
Twitter
他の特許を見る
公開番号
2025169736
公報種別
公開特許公報(A)
公開日
2025-11-14
出願番号
2024074768
出願日
2024-05-02
発明の名称
グリップテープ
出願人
美津濃株式会社
代理人
弁理士法人深見特許事務所
主分類
A63B
60/14 20150101AFI20251107BHJP(スポーツ;ゲーム;娯楽)
要約
【課題】グリップに早く巻くことができるグリップテープを提供する。
【解決手段】グリップテープ100は、グリップ2に巻かれ得るグリップテープ100である。グリップテープ100が延在する方向(Y方向)に対して垂直な方向(X方向)におけるグリップテープ100の幅Wが35mm以上である。
【選択図】図1
特許請求の範囲
【請求項1】
グリップに巻かれ得るグリップテープであって、
前記グリップテープが延在する方向に対して垂直な方向における前記グリップテープの幅が35mm以上である、グリップテープ。
続きを表示(約 430 文字)
【請求項2】
x方向と、前記x方向に対して垂直な方向であるy方向とに延在している表面を有し、
前記表面は、前記x方向に沿っており、かつ前記グリップの端部に沿って巻き得る第1辺と、前記第1辺から前記y方向において最も遠い位置にある最遠点とを含み、
前記第1辺は、前記グリップテープが延在する方向と交差し、
前記第1辺から前記y方向における前記最遠点までの距離は、前記第1辺の前記x方向における長さの1倍以上2倍以下である、請求項1に記載のグリップテープ。
【請求項3】
前記表面は、前記第1辺と前記最遠点とを接続する第2辺を含み、
前記第1辺に対する前記第2辺の角度は、13°以上90°未満である、請求項2に記載のグリップテープ。
【請求項4】
前記グリップテープの前記x方向における伸び率は、前記グリップテープの前記y方向における伸び率と異なる、請求項2または請求項3に記載のグリップテープ。
発明の詳細な説明
【技術分野】
【0001】
この発明は、グリップテープに関する。
続きを表示(約 990 文字)
【背景技術】
【0002】
特開2022-73425号公報(特許文献1)では、帯状のグリップテープが開示されている。
【先行技術文献】
【特許文献】
【0003】
特開2022-73425号公報
【発明の概要】
【発明が解決しようとする課題】
【0004】
しかしながら、従来の帯状のグリップテープの幅は小さい。そのため、小さい幅のグリップテープを用いてグリップを完全に覆うように巻く場合、グリップテープの巻き数が多くなり、当該グリップテープをグリップに巻くのに時間を要する。
【0005】
この発明は、上記のような課題を解決するために成されたものであり、この発明の目的は、グリップに早く巻くことができるグリップテープを提供することである。
【課題を解決するための手段】
【0006】
本開示に従ったグリップテープは、グリップに巻かれ得るグリップテープである。グリップテープが延在する方向に対して垂直な方向におけるグリップテープの幅が35mm以上である。
【発明の効果】
【0007】
上記によれば、グリップに早く巻くことができるグリップテープを得ることができる。
【図面の簡単な説明】
【0008】
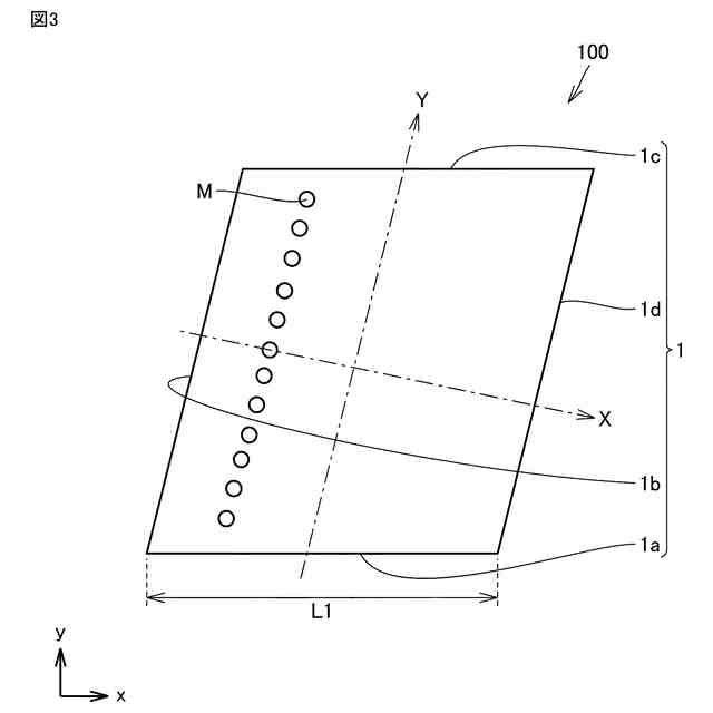
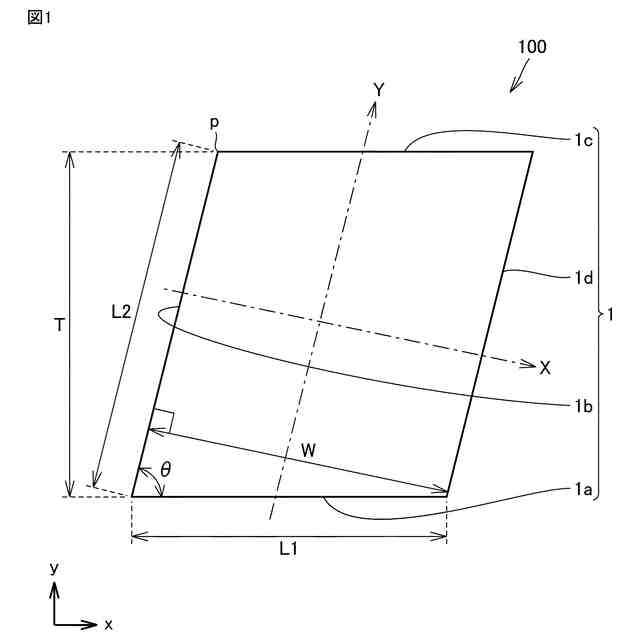
実施の形態1に係るグリップテープの概略平面図である。
グリップテープに巻かれたグリップを示す概略側面図である。
実施の形態2に係るグリップテープの概略平面図である。
実施の形態3に係るグリップテープの概略平面図である。
【発明を実施するための形態】
【0009】
以下、本発明の実施の形態を説明する。なお、特に言及しない限り、以下の図面において同一または対応する部分には同一の参照番号を付し、その説明は繰り返さない。
【0010】
(実施の形態1)
<グリップテープの構成>
図1は、実施の形態1に係るグリップテープ100の概略平面図である。図1に示されたグリップテープ100は、グリップに巻かれる前の状態におけるグリップテープ100であって、たとえば床に展開されたグリップテープ100である。
(【0011】以降は省略されています)
この特許をJ-PlatPat(特許庁公式サイト)で参照する
関連特許
美津濃株式会社
腰サポーター
1か月前
美津濃株式会社
グリップテープ
7日前
美津濃株式会社
ハーネス用上衣
1か月前
美津濃株式会社
アイアンゴルフクラブヘッド
1か月前
美津濃株式会社
ソール構造及びそれを備えるシューズ
1か月前
美津濃株式会社
ソール構造およびそれを備えたシューズ
1か月前
美津濃株式会社
グリップテープユニットおよびグリップテープユニットの製造方法
3か月前
美津濃株式会社
芯鞘複合繊維及びそれを含む織編物ならびに芯鞘複合繊維の製造方法
1か月前
個人
玩具
2か月前
個人
玩具
4か月前
個人
自走玩具
2か月前
個人
ゲーム玩具
6か月前
個人
運動補助具
4か月前
個人
小型卓球台
24日前
個人
打撃練習用具
1か月前
個人
パズル
25日前
株式会社三共
遊技機
1か月前
株式会社三共
遊技機
1か月前
株式会社三共
遊技機
1か月前
株式会社三共
遊技機
1か月前
株式会社三共
遊技機
1か月前
株式会社三共
遊技機
1か月前
株式会社三共
遊技機
1か月前
株式会社三共
遊技機
1か月前
株式会社三共
遊技機
1か月前
株式会社三共
遊技機
1か月前
株式会社三共
遊技機
1か月前
株式会社三共
遊技機
1か月前
株式会社三共
遊技機
1か月前
株式会社三共
遊技機
1か月前
株式会社三共
遊技機
1か月前
株式会社三共
遊技機
1か月前
株式会社三共
遊技機
1か月前
株式会社三共
遊技機
1か月前
株式会社三共
遊技機
1か月前
株式会社三共
遊技機
1か月前
続きを見る
他の特許を見る