TOP
|
特許
|
意匠
|
商標
特許ウォッチ
Twitter
他の特許を見る
公開番号
2025177799
公報種別
公開特許公報(A)
公開日
2025-12-05
出願番号
2024084906
出願日
2024-05-24
発明の名称
作業用上着
出願人
美津濃株式会社
代理人
弁理士法人深見特許事務所
主分類
A41D
13/00 20060101AFI20251128BHJP(衣類)
要約
【課題】腕を伸ばした際に張りが抑制され得る作業用上着を提供する。
【解決手段】作業用上着100は、身頃部1と、袖部2Lとを備える。袖部2Lは、身頃部1に接続する。袖部2Lは、第1袖部21と、第2袖部22とを含む。第1袖部21は、身頃部1に連なる。第2袖部22は、第1袖部21が延在する方向A1において第1袖部21が身頃部1に連なる一方端21aの反対に位置する他方端21bに連なっている。第1袖部21が延在する方向A1は第2袖部22が延在する方向A2と異なる。
【選択図】図1
特許請求の範囲
【請求項1】
身頃部と、
前記身頃部に接続する袖部とを備え、
前記袖部は、前記身頃部に連なる第1袖部と、前記第1袖部が延在する方向において前記第1袖部が前記身頃部に連なる一方端の反対に位置する他方端に連なっている第2袖部とを含み、
前記第1袖部が延在する方向は前記第2袖部が延在する方向と異なる、作業用上着。
続きを表示(約 770 文字)
【請求項2】
前記身頃部は、前身頃部と、前記前身頃部に連なる後身頃部とを含み、
前記身頃部には、前記前身頃部および前記後身頃部によって形成される内部空間に連通するように開口された第1開口部が設けられており、
前記第2袖部には、前記内部空間に連通するように開口された第2開口部が設けられており、
前記第1開口部の平面視において、
前記第1開口部から見て前記前身頃部が配置されている方向をx方向とし、
前記x方向に対して垂直な方向をy方向とすると、
前記袖部を前記y方向に沿って延在するように配置した場合に、
前記袖部は、前記前身頃部から前記第2開口部に連なる前方外形線と、前記後身頃部から前記第2開口部に連なる後方外形線と、前記第1開口部から前記y方向において最も遠い位置に配置されている最遠点とを含み、
前記第1開口部の前記y方向における中心から前記最遠点までの距離の40パーセント以上90パーセント以下となる前記y方向における領域において、前記後方外形線の長さは、前記前方外形線の長さより長い、請求項1に記載の作業用上着。
【請求項3】
前記袖部には、前記前方外形線に沿って縫製線が設けられている、請求項2に記載の作業用上着。
【請求項4】
前記袖部には、前記後方外形線に沿って縫製線が設けられている、請求項2に記載の作業用上着。
【請求項5】
前記第1開口部の平面視において、
前記袖部を前記y方向に沿って延在するように配置した場合に、
前記第1袖部が延在する方向に対する前記第2袖部が延在する方向の傾斜角は150°以上170°以下である、請求項2から請求項4のいずれか1項に記載の作業用上着。
発明の詳細な説明
【技術分野】
【0001】
この発明は、作業用上着に関する。
続きを表示(約 1,300 文字)
【背景技術】
【0002】
特開2020-16001号公報(特許文献1)では、作業現場などで作業者が着用する作業用上着が開示されている。たとえば作業現場で作業者が荷物を運搬する際に、作業者は腕を曲げることがある。
【先行技術文献】
【特許文献】
【0003】
特開2020-16001号公報
【発明の概要】
【発明が解決しようとする課題】
【0004】
しかしながら、作業者が腕を曲げた際に作業用上着が突っ張り、作業者の動作を阻害しまうことがある。そのため、作業用上着の突っ張りを抑制することにつき改善の余地がある。
【0005】
この発明は、上記のような課題を解決するために成されたものであり、この発明の目的は、腕を曲げた際に突っ張りが抑制され得る作業用上着を提供することである。
【課題を解決するための手段】
【0006】
本開示に従った作業用上着は、身頃部と、袖部とを備える。袖部は、身頃部に接続する。袖部は、第1袖部と、第2袖部とを含む。第1袖部は、身頃部に連なる。第2袖部は、第1袖部が延在する方向において第1袖部が身頃部に連なる一方端の反対に位置する他方端に連なっている。第1袖部が延在する方向は第2袖部が延在する方向と異なる。
【発明の効果】
【0007】
上記によれば、腕を伸ばした際に張りが抑制され得る作業用上着を得ることができる。
【図面の簡単な説明】
【0008】
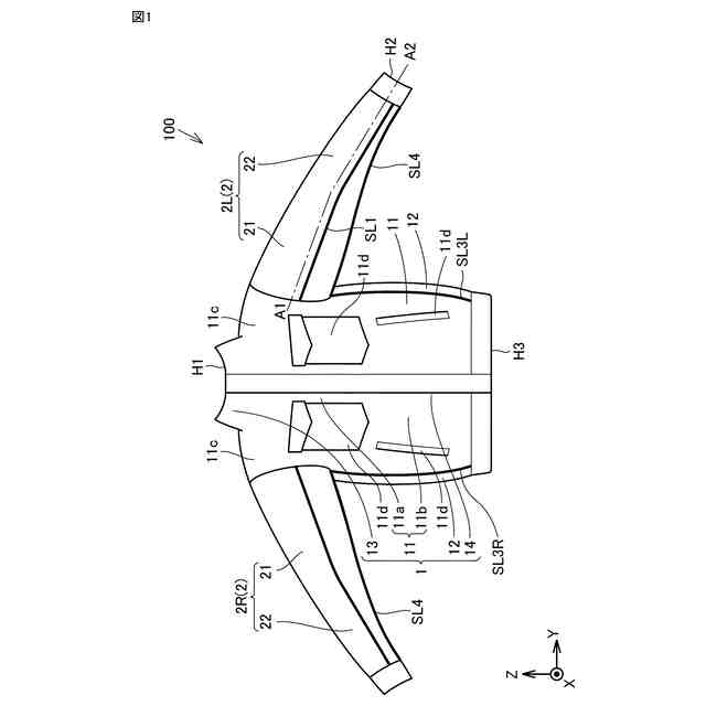
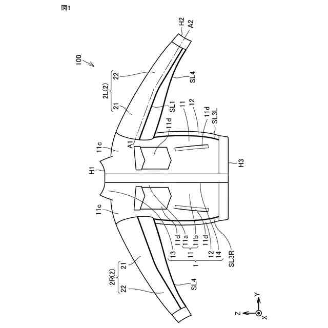
実施の形態1に係る作業用上着の概略正面図である。
実施の形態1に係る作業用上着の概略平面図である。
実施の形態1に係る作業用上着における袖部のパターンである。
実施の形態2に係る作業用上着における袖部のパターンである。
【発明を実施するための形態】
【0009】
以下、本発明の実施の形態を説明する。なお、特に言及しない限り、以下の図面において同一または対応する部分には同一の参照番号を付し、その説明は繰り返さない。
【0010】
(実施の形態1)
<作業用上着の構成>
図1は、実施の形態1に係る作業用上着100の概略正面図である。図2は、実施の形態1に係る作業用上着100の概略平面図である。図2では、襟部13に設けられている第1開口部H1によって形成されている開口面が床あるいは地面などの平面に対して水平になるように作業用上着100が置かれている。図2は、当該平面に対して垂直な方向から見た作業用上着100の平面図である。図2では、袖部2に皺が発生しないように当該袖部2を上記平面上に配置している。図2には、作業者の左腕を覆う袖部2Lが示されている。なお、ここで袖部2に皺が発生しないように袖部2を平面上に配置しているとは、極力袖部2に皺が発生しないように、当該平面上に袖部2を静置した状態を意味し、袖部2の立体形状に起因して平面上に袖部2を静置したときに必然的に発生する皺が存在する場合も含まれる。
(【0011】以降は省略されています)
この特許をJ-PlatPat(特許庁公式サイト)で参照する
関連特許
美津濃株式会社
作業用上着
1日前
美津濃株式会社
作業用パンツ
1日前
美津濃株式会社
頸部冷却装置
3日前
美津濃株式会社
グリップテープ
22日前
美津濃株式会社
芯鞘複合繊維及びそれを含む織編物ならびに芯鞘複合繊維の製造方法
1か月前
個人
衿芯
5か月前
個人
和服
7か月前
個人
シャツ
2か月前
個人
中間着
1か月前
個人
二部式袍
10か月前
個人
ネクタイ
2か月前
個人
衣装
8か月前
個人
靴下
11か月前
個人
男性用下着
2日前
個人
下着
6か月前
個人
多機能装身具
3か月前
個人
マスク
2か月前
個人
簡単帯
11か月前
個人
防虫服
1か月前
個人
作業補助ミトン
10か月前
個人
マスクインナー
8日前
個人
ショーツ
11か月前
個人
シャツ改造方法
8か月前
東レ株式会社
防護服
2か月前
個人
:マスクカバー
3か月前
個人
肩章付き衣服。
5か月前
個人
内フィルムマスク
2か月前
東洋紡株式会社
マスク
2か月前
株式会社聖
手足保護具
11か月前
個人
手袋
8か月前
株式会社聖
手足保護具
1か月前
個人
車椅子用グローブ
4か月前
個人
足首用サポーター
9か月前
個人
ソフトキャミブラ
7か月前
個人
レインコート
6か月前
グンゼ株式会社
衣服
7か月前
続きを見る
他の特許を見る