TOP
|
特許
|
意匠
|
商標
特許ウォッチ
Twitter
他の特許を見る
公開番号
2025175694
公報種別
公開特許公報(A)
公開日
2025-12-03
出願番号
2024081914
出願日
2024-05-20
発明の名称
スピンドル装置、研削装置、および切削加工装置
出願人
NTN株式会社
代理人
個人
,
個人
主分類
B23Q
11/00 20060101AFI20251126BHJP(工作機械;他に分類されない金属加工)
要約
【課題】装置内への加工液や切粉等の侵入を有効に防止でき、しかも電力消費増加を有効に防止でき、さらに、シール部材の異常摩耗による寿命低下も有効に防止できるスピンドル装置、研削装置、および切削加工装置を提供する。
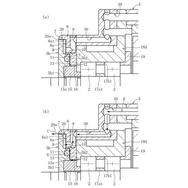
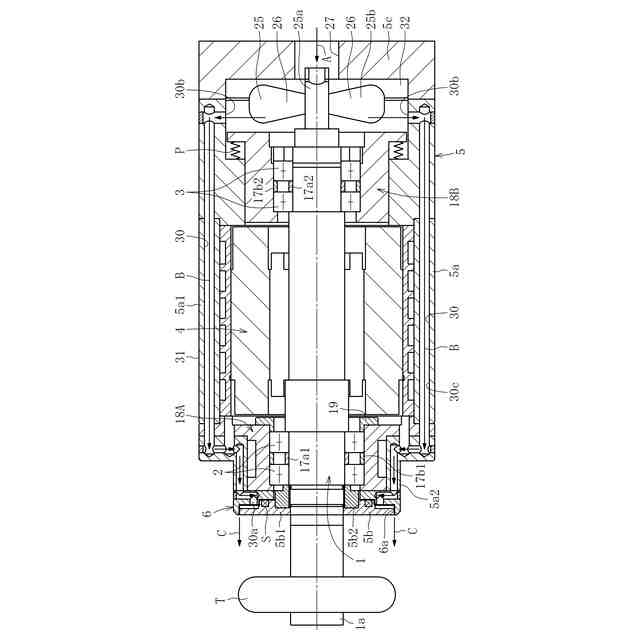
【解決手段】先端に搭載物を装着可能な回転軸と、回転軸を軸受を介して支持するハウジングと、回転軸に設けられるスピンドル装置である。回転軸の軸心廻りの回転に伴って外気を装置の後端側から装置内に吸引し、吸引したエアを装置先端側から排出する羽根車と、装置先端側の回転軸とハウジングとの間に配設されるシール装置とを備える。シール装置は、回転軸が静止乃至低速回転中では、装置先端側の回転軸とハウジングとの間を密封し、回転軸が低速回転を越えた所定回転速度以上で、エアの装置先端側からの排出を許容する。
【選択図】図1
特許請求の範囲
【請求項1】
先端に搭載物を装着可能な回転軸と、前記回転軸を軸受を介して回転自在に支持するハウジングと、前記回転軸に設けられ、前記回転軸の回転に伴って外気を装置の後端側から装置内に吸引し、吸引した外気であるエアを装置先端側から排出するための羽根車と、装置先端側の回転軸とハウジングとの間に配設されるシール装置とを備え、前記シール装置は、回転軸が静止乃至低速回転中では、装置先端側の回転軸とハウジングとの間を密封し、回転軸が前記低速回転を越えた所定回転速度以上で、エアの装置先端側からの排出を許容することを特徴とするスピンドル装置。
続きを表示(約 620 文字)
【請求項2】
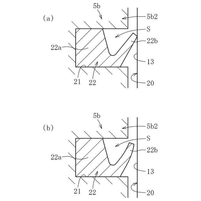
前記シール装置は、回転軸の回転により生じる遠心力と、前記羽根車により圧送されるエアのエア圧の少なくともいずれかで、開状態となるシールリップを有することを特徴とする請求項1に記載のスピンドル装置。
【請求項3】
前記回転軸を前記ハウジングに対して回転自在に支持する軸受を備え、前記軸受はグリース潤滑軸受であって、ラジアル荷重とアキシャル荷重とを受けることが可能なアンギュラ玉軸受であることを特徴とする請求項1に記載のスピンドル装置。
【請求項4】
前記軸受の転動体であるボールがセラミックス製であることを特徴とする請求項3に記載のスピンドル装置。
【請求項5】
前記ハウジングは周壁を有する筒状体で構成され、前記回転軸と前記ハウジングの周壁との少なくともいずれかに、前記羽根車の回転によって装置内へ吸引されるエアを装置後方側から装置前方側へ流通される流通路が形成さていることを特徴とする請求項1に記載のスピンドル装置。
【請求項6】
前記請求項1~請求項5に記載のスピンドル装置を備えた研削装置であって、回転軸の先端に装着される搭載物が砥石であることを特徴とする研削装置。
【請求項7】
前記請求項1~請求項5に記載のスピンドル装置を備えた切削加工装置であって、回転軸の先端に装着される搭載物が切削工具であることを特徴とする切削加工装置。
発明の詳細な説明
【技術分野】
【0001】
本発明は、スピンドル装置、研削装置、および切削加工装置に関する。
続きを表示(約 1,800 文字)
【背景技術】
【0002】
従来、工具を回転させて加工を行う装置において、回転自在な主軸に対し、工具を交換自在に取付けたスピンドル装置が知られている。すなわち、切削加工や研削加工を行う工作機械において、加工対象物を加工するために使用するエンドミルや砥石、ドレッサのような工具を回転させることや、加工対象物をクランプして回転させることにスピンドル装置を用いる。スピンドル装置は、一般的に軸受で支持された回転部と、この回転部以外の固定部とを備える。そして、回転部を構成する回転軸の先端部には、各種の加工工具(例えば、砥石や切削工具等)が装着され、これらの加工工具で加工対象物に対して加工(研磨や切削等)を行うことになる。
【0003】
このため、回転部と固定部との間のすきまから、加工中において、加工液や切粉等の異物がスピンドル装置内に侵入するおそれがあった。このように異物がスピンドル装置内に侵入すれば、回転軸の回転が滑らかに行えなくなったり、大きな負荷がかかり、スピンドル装置を損傷させたりするおそれがあった。
【0004】
従来には、軸体(回転部)の回転に伴い装置内へ圧縮エアを強制的に供給し、回転部と固定部との間に形成される隙間から装置外部へ排出するようにしたものがある(特許文献1)。
【0005】
このように圧縮エアを装置外へ排出するようにすることによって、装置内への加工液や切粉等の侵入を有効に防止できる。
【先行技術文献】
【特許文献】
【0006】
特開平11-277362号公報
【発明の概要】
【発明が解決しようとする課題】
【0007】
しかしながら、特許文献1に記載のものでは、スピンドル装置の稼働状態に関わらず常にスピンドル装置内の圧力を上昇させておくために、外部からスピンドル装置内へ圧縮エアを強制的に供給し続けなければならない。そのため、圧縮エアの消費量増加に伴う電力消費量増加が課題である。
【0008】
ところで、スピンドル装置の回転部と固定部の隙間に、接触式シールを設置するようにすれば、装置内への加工液や切粉等の侵入を有効に防止できる。このような場合、接触式シールは、スピンドル装置のような比較的回転速度が高いものへ設置する場合、一般的にスピンドル装置の固定部へ設置される。固定部に設置された接触式シールによって物理的に隙間をなくすことができ、スピンドル装置内へ加工液や切粉などの侵入を防ぐことができるために、上記したような圧縮エアを使用する必要はなくなる。しかし、接触式シールによる摩擦抵抗は、回転部の円滑な回転運動を阻害し、回転トルクが増加することでスピンドル装置を回転駆動させるための電力消費量が増加する。また、接触式シールの摩擦抵抗で回転部および固定部が発熱することで、接触式シールの異常摩耗による寿命低下や、その熱が軸受へ伝播することで軸受の異常な温度上昇が起こり、軸受が早期破損するといった課題がある。
【0009】
そこで、本発明は、装置内への加工液や切粉等の侵入を有効に防止でき、しかも、スピンドル装置内の圧力を上昇させておく必要はなく、電力消費増加を有効に防止でき、さらに、シール部材の異常摩耗による寿命低下も有効に防止できるスピンドル装置、研削装置、および切削加工装置を提供する。
【課題を解決するための手段】
【0010】
本発明のスピンドル装置は、先端に搭載物を装着可能な回転軸と、前記回転軸を軸受を介して回転自在に支持するハウジングと、前記回転軸に設けられ、前記回転軸の回転に伴って外気を装置の後端側から装置内に吸引し、吸引した外気であるエアを装置先端側から排出するための羽根車と、装置先端側の回転軸とハウジングとの間に配設されるシール装置とを備え、前記シール装置は、回転軸が静止乃至低速回転中では、装置先端側の回転軸とハウジングとの間を密封し、回転軸が前記低速回転を越えた所定回転速度以上で、エアの装置先端側からの排出を許容するものである。ここで、羽根車としては、例えば、プロペラファンで構成される。また、所定回転速度以上は、回転軸の先端に付設されている搭載物による加工が行われて、切粉等が発生する状態であり、回転軸が静止乃至低速回転中では、切粉等が発生していない状態である。
(【0011】以降は省略されています)
この特許をJ-PlatPat(特許庁公式サイト)で参照する
関連特許
NTN株式会社
焼成軸受
1か月前
NTN株式会社
焼成軸受
1か月前
NTN株式会社
把持装置
2日前
NTN株式会社
焼入れ方法
1か月前
NTN株式会社
ボールねじ
1か月前
NTN株式会社
ボールねじ装置
1か月前
NTN株式会社
ボールねじ装置
1か月前
NTN株式会社
円すいころ軸受
1か月前
NTN株式会社
密封装置付き軸受
1か月前
NTN株式会社
転がり軸受の設計方法
1か月前
NTN株式会社
ブーツ付等速自在継手
1か月前
NTN株式会社
転動部材及び転動部品
9日前
NTN株式会社
環状部品の抜け止め構造
1か月前
NTN株式会社
等速自在継手の外側継手部材
1か月前
NTN株式会社
転がり軸受の耐電食性能評価方法
1か月前
NTN株式会社
転がり軸受の耐電食性能評価方法
1か月前
NTN株式会社
転がり軸受及び転がり軸受用転動部品
2日前
NTN株式会社
窒化ケイ素焼結体、機械部品および軸受
9日前
NTN株式会社
損傷状態診断システムおよび損傷状態診断方法
1か月前
NTN株式会社
スピンドル装置、研削装置、および切削加工装置
4日前
NTN株式会社
車輪用軸受装置
1か月前
NTN株式会社
ボールねじ装置及びこれを備えた電動アクチュエータ
17日前
個人
タップ
7か月前
個人
フライス盤
2か月前
個人
加工機
6か月前
麗豊実業股フン有限公司
ラクトバチルス・パラカセイNB23菌株及びそれを筋肉量の増加や抗メタボリック症候群に用いる用途
6か月前
株式会社不二越
ドリル
7か月前
株式会社北川鉄工所
回転装置
5か月前
日東精工株式会社
ねじ締め機
3か月前
株式会社不二越
ドリル
6か月前
日東精工株式会社
ねじ締め機
1か月前
日東精工株式会社
ねじ締め機
8か月前
日東精工株式会社
ねじ締め機
6か月前
日東精工株式会社
ねじ締め機
2か月前
株式会社ダイヘン
溶接電源装置
4か月前
ダイニチ工業株式会社
配膳治具
1か月前
続きを見る
他の特許を見る