TOP
|
特許
|
意匠
|
商標
特許ウォッチ
Twitter
他の特許を見る
公開番号
2025175202
公報種別
公開特許公報(A)
公開日
2025-11-28
出願番号
2025160472,2022556667
出願日
2025-09-26,2021-12-20
発明の名称
遠隔被制御装置、及び画像表示装置
出願人
株式会社JVCケンウッド
代理人
主分類
H04N
7/18 20060101AFI20251120BHJP(電気通信技術)
要約
【課題】遠隔被制御装置と、遠隔被制御装置から送信される映像信号を表示する画像表示装置とを備える遠隔制御システムにおいて、遠隔被制御装置がユーザの意図とは無関係に動いたとしてもユーザの映像酔いまたは混乱を軽減させることができる遠隔被制御装置を提供する。
【解決手段】制御部31が、ユーザの動きに応じて可動部33を動かすよう駆動部32を制御するとき、画像表示装置10に送信する映像信号のフレーム映像を更新するレートを第1のレートとするよう映像信号処理部36を制御する。制御部31が、ユーザの動きとは無関係に可動部33を動かすよう駆動部32を制御するとき、画像表示装置10に送信する映像信号のフレーム映像を更新するレートを第1のレートより低い第2のレートとするよう映像信号処理部36を制御する。
【選択図】図1
特許請求の範囲
【請求項1】
可動部と、
前記可動部を駆動する駆動部と、
ネットワークを介して、ユーザが装着している画像表示装置に映像データを送信するネットワーク通信部と、
前記可動部を回転させるよう、前記駆動部を制御する制御部と、
前記可動部に装着されているカメラと、
前記カメラが撮影する映像信号に基づいて前記映像データを生成する映像信号処理部と、
を備え、
前記映像信号処理部は、前記制御部が前記可動部を回転させる制御を行うとき、前記可動部の回転速度に応じて異なるフレームレートで前記映像データを生成する、
遠隔被制御装置。
続きを表示(約 520 文字)
【請求項2】
前記映像信号処理部は、前記可動部の回転速度が速いほど、低いフレームレートで前記映像データを生成する、
請求項1に記載の遠隔被制御装置。
【請求項3】
前記制御部は、前記ユーザの動きデータに応じて前記可動部を回転させるとともに、前記動きデータとは無関係に前記可動部を動かすよう前記駆動部を制御し、
前記映像信号処理部は、前記制御部が前記動きデータとは無関係に前記可動部を回転させる制御を行うとき、前記可動部の回転速度に応じて異なるフレームレートで前記映像データを生成する、
請求項1に記載の遠隔被制御装置。
【請求項4】
遠隔被制御装置の可動部に装着されているカメラが撮影した映像信号及び前記可動部の回転速度と前記可動部を回転させる期間の開始から終了までを識別するための付加データを受信する受信部と、
前記受信部が受信した映像信号を画像表示する画像表示部と、
を備え、
前記画像表示部は、前記可動部が回転しているとき、前記映像信号を前記可動部の回転速度に応じて異なるフレームレートの映像として画像表示する、
画像表示装置。
発明の詳細な説明
【技術分野】
【0001】
本発明は、遠隔被制御装置、及び画像表示装置に関する。
続きを表示(約 2,700 文字)
【背景技術】
【0002】
特許文献1に記載されているように、ヘッドマウントディスプレイのような画像表示装置を装着したユーザが、遠隔地に存在するロボット(遠隔被制御装置)を制御する遠隔制御システムが実用化されている。この種の遠隔制御システムで採用されている遠隔地のロボットをリアルタイムで制御する技術は、テレイグジスタンス(telexistence)と称されている。
【先行技術文献】
【特許文献】
【0003】
特許第6801136号公報
【発明の概要】
【発明が解決しようとする課題】
【0004】
ロボットのような遠隔被制御装置は、基本的にはユーザの動きに応じて動くように構成されている。ところが、遠隔被制御装置に例えば何らかの物体がぶつかって遠隔被制御装置が故障することを回避するため、遠隔被制御装置自らが危険回避の行動をとることが考えられる。この場合、遠隔被制御装置に搭載されているカメラで撮影してユーザが装着する画像表示装置に送信される映像信号はユーザが意図せず急激に動くため、ユーザが映像酔いしたり、混乱したりすることがある。
【0005】
本発明は、遠隔被制御装置と、遠隔被制御装置から送信される映像信号を表示する画像表示装置とを備える遠隔制御システムにおいて、遠隔被制御装置がユーザの意図とは無関係に動いたとしてもユーザの映像酔いまたは混乱を軽減させることができる遠隔被制御装置、画像表示装置、及び映像表示制御方法を提供することを目的とする。
【課題を解決するための手段】
【0006】
本発明は、可動部と、前記可動部を駆動する駆動部と、ネットワークを介して、ユーザの動きを示す動きデータを受信し、前記ユーザが装着している画像表示装置に映像データを送信するネットワーク通信部と、前記動きデータに応じて前記可動部を動かすよう、前記駆動部を制御する制御部と、前記可動部に装着されているカメラと、前記カメラが撮影する映像信号に基づいて前記映像データを生成する映像信号処理部とを備え、前記制御部が、前記動きデータに応じて前記可動部を動かすよう前記駆動部を制御するとき、フレーム映像を第1のレートで更新する前記映像データを生成し、前記動きデータとは無関係に前記可動部を動かすよう前記駆動部を制御するとき、フレーム映像を前記第1のレートより低い第2のレートで更新する前記映像データを生成するよう前記映像信号処理部を制御する遠隔被制御装置を提供する。
【0007】
本発明は、ユーザの動きを検出する動きセンサと、前記動きセンサが検出した前記ユーザの動きを示す動きデータに応じて動くように構成されている遠隔被制御装置の可動部に装着されているカメラが撮影した映像信号及び前記可動部を回転させる期間の開始から終了までを識別するための付加データを受信する受信部と、前記受信部が受信した映像信号を画像表示する画像表示部とを備え、前記付加データは、前記遠隔被制御装置が前記動きデータとは無関係に前記可動部を動かすときに前記映像信号に重畳されており、前記画像表示部は、前記付加データが入力されない場合に、前記受信部が受信した映像信号を、フレーム映像を更新するレートを第1のレートとして画像表示し、前記付加データが入力された場合に、前記受信部が受信した映像信号を、フレーム映像を更新するレートを前記第1のレートより低い第2のレートとして画像表示する画像表示装置を提供する。
【0008】
本発明は、ユーザの動きを示す動きデータを遠隔被制御装置に送信し、前記遠隔被制御装置は、受信した前記動きデータに応じて可動部を動かし、前記遠隔被制御装置は、前記可動部に装着されているカメラが撮影する映像信号を前記ユーザが装着している画像表示装置に送信し、前記画像表示装置が備える画像表示部は、前記遠隔被制御装置から送信された映像信号を画像表示し、前記遠隔被制御装置が備える制御部が、前記動きデータに応じて前記可動部を動かすとき、前記画像表示部は、フレーム映像を更新するレートを第1のレートとした映像信号を画像表示し、前記制御部が前記ユーザの動きとは無関係に前記可動部を動かすとき、前記遠隔被制御装置がフレーム映像を更新するレートを前記第1のレートより低い第2のレートとした映像信号を前記画像表示装置に送信して、前記画像表示部が前記第2のレートとした映像信号を画像表示するか、前記遠隔被制御装置が前記第1のレートとした映像信号を前記画像表示装置に送信して、前記画像表示部が前記第1のレートとした映像信号に基づく前記第2のレートとした映像信号を画像表示する映像表示制御方法を提供する。
【発明の効果】
【0009】
本発明の遠隔被制御装置、画像表示装置、及び映像表示制御方法によれば、遠隔被制御装置と、遠隔被制御装置から送信される映像信号を表示する画像表示装置とを備える遠隔制御システムにおいて、遠隔被制御装置がユーザの意図とは無関係に動いたとしてもユーザの映像酔いまたは混乱を軽減させることができる。
【図面の簡単な説明】
【0010】
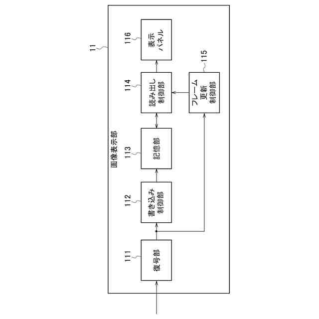
第1または第2実施形態の画像表示装置と第1または第2実施形態の遠隔被制御装置とを備える遠隔制御システムの構成例を示すブロック図である。
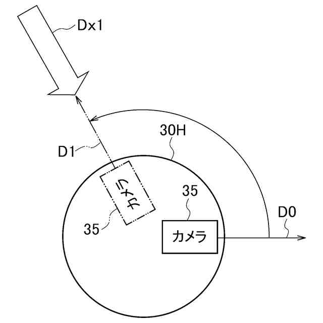
真上からロボットを見下ろした図であり、ロボットの頭部30Hを方向D0から方向D1まで回転させることを示す図である。
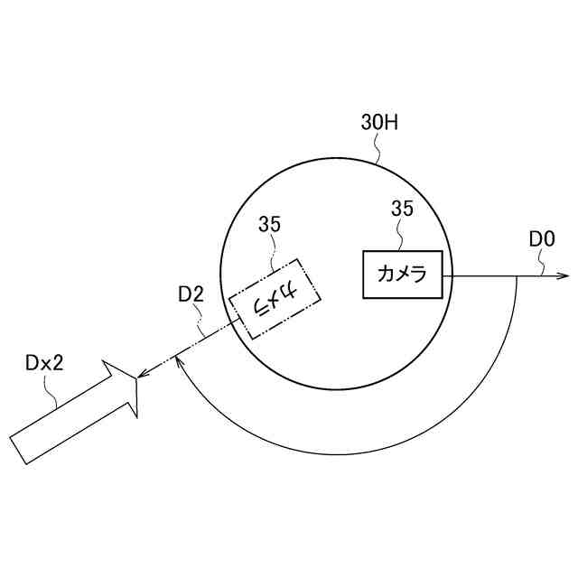
真上からロボットを見下ろした図であり、ロボットの頭部30Hを方向D0から方向D2まで回転させることを示す図である。
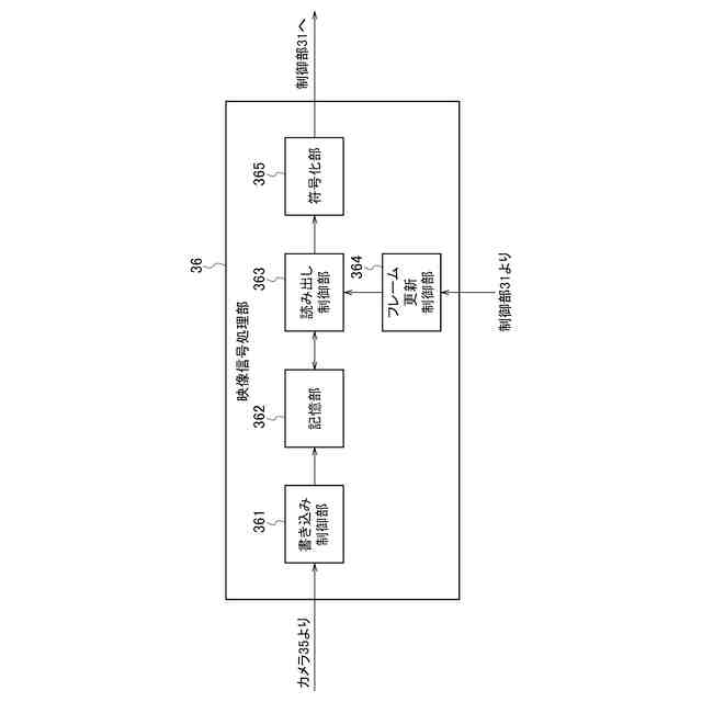
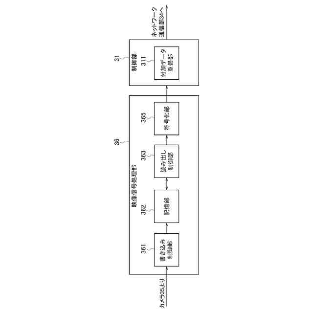
第1実施形態の遠隔被制御装置が備える映像信号処理部の具体的な構成例を示すブロック図である。
60フレーム/秒の映像信号と、フレーム映像を更新するレートを20フレーム/秒とした映像信号の例を示す図である。
60フレーム/秒の映像信号と、フレーム映像を更新するレートを20フレーム/秒及び10フレーム/秒とした映像信号の例を示す図である。
第2実施形態の遠隔被制御装置が備える映像信号処理部及び制御部の具体的な構成例を示すブロック図である。
第2実施形態の画像表示装置が備える画像表示部の具体的な構成例を示すブロック図である。
【発明を実施するための形態】
(【0011】以降は省略されています)
この特許をJ-PlatPat(特許庁公式サイト)で参照する
関連特許
個人
イヤーピース
24日前
個人
イヤーマフ
1か月前
個人
監視カメラシステム
1か月前
キーコム株式会社
光伝送線路
1か月前
個人
スイッチシステム
1か月前
サクサ株式会社
中継装置
1か月前
個人
スキャン式車載用撮像装置
1か月前
WHISMR合同会社
収音装置
2か月前
サクサ株式会社
中継装置
1か月前
アイホン株式会社
電気機器
2か月前
キヤノン株式会社
撮像装置
3か月前
キヤノン株式会社
撮像装置
3日前
サクサ株式会社
無線システム
1か月前
キヤノン電子株式会社
画像読取装置
1か月前
個人
ワイヤレスイヤホン対応耳掛け
2か月前
キヤノン電子株式会社
画像読取装置
2か月前
キヤノン電子株式会社
画像読取装置
24日前
個人
映像表示装置、及びARグラス
1か月前
株式会社リコー
画像形成装置
1か月前
株式会社リコー
画像形成装置
3か月前
キヤノン電子株式会社
画像読取装置
1か月前
株式会社リコー
画像形成装置
3か月前
ヤマハ株式会社
放音制御装置
1か月前
サクサ株式会社
無線通信装置
1か月前
サクサ株式会社
無線通信装置
1か月前
株式会社リコー
画像形成装置
3か月前
キヤノン株式会社
撮像システム
2か月前
個人
発信機及び発信方法
1か月前
キヤノン電子株式会社
シート搬送装置
24日前
日本電気株式会社
海底分岐装置
1か月前
キヤノン株式会社
情報処理装置
11日前
ブラザー工業株式会社
読取装置
3か月前
キヤノン株式会社
画像処理装置
27日前
有限会社フィデリックス
マイクロフォン
1か月前
株式会社JVCケンウッド
通信システム
1か月前
キヤノン電子株式会社
画像処理システム
1か月前
続きを見る
他の特許を見る