TOP
|
特許
|
意匠
|
商標
特許ウォッチ
Twitter
他の特許を見る
10個以上の画像は省略されています。
公開番号
2025175127
公報種別
公開特許公報(A)
公開日
2025-11-28
出願番号
2025157365,2024095156
出願日
2025-09-22,2015-09-01
発明の名称
電子機器
出願人
株式会社半導体エネルギー研究所
代理人
主分類
G09F
9/00 20060101AFI20251120BHJP(教育;暗号方法;表示;広告;シール)
要約
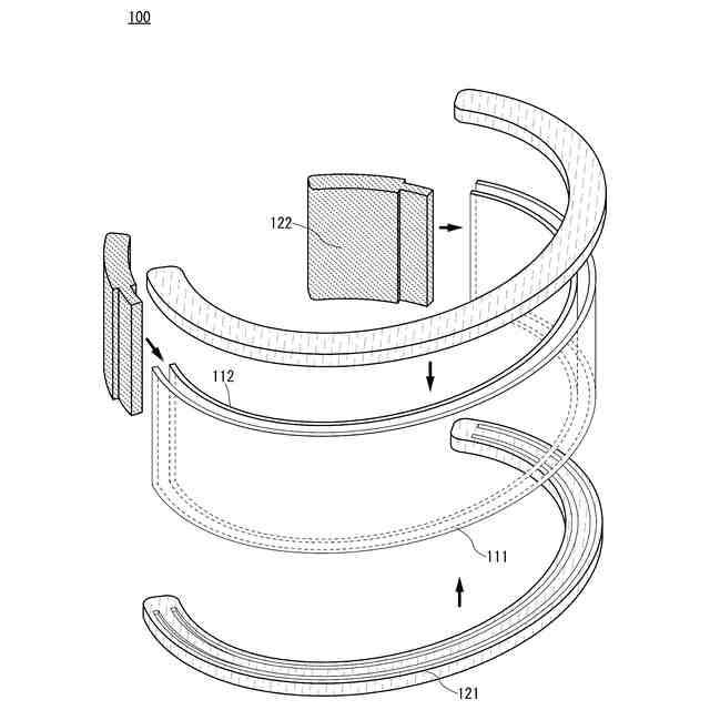
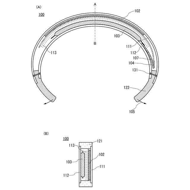
【課題】新規な電子機器を提供する。または、新規の形態を有する電子機器を提供する。
または、丈夫な電子機器を提供する。
【解決手段】筐体と、可撓性を有する表示部と、を有し、筐体は、第1の板と、第2の板
と、封止部と、を有し、第1の板は透光性を有し、第1の板と、第2の板と、は向かい合
うように配置され、封止部は、第1の板と第2の板の間に設けられ、第1の板は、筐体の
内側を形成する第1の曲面を有し、表示部は、第1の曲面と接する領域を有する電子機器
。
【選択図】図1
特許請求の範囲
【請求項1】
筐体と、可撓性を有する表示部と、を有し、
前記筐体は、第1の板と、第2の板と、封止部と、可撓性を有する蓄電装置と、を有し、
前記第1の板は透光性を有し、
前記第1の板と、前記第2の板と、は向かい合うように配置され、
前記封止部は、前記第1の板と前記第2の板との間に設けられ、
前記第1の板は、前記筐体の内側を形成する第1の曲面を有し、
前記蓄電装置は、前記表示部と前記第2の板とに挟まれた領域を有し、
前記蓄電装置は、前記第2の板と接する領域を有し、
前記表示部は、前記第1の曲面と接する領域を有する、電子機器。
発明の詳細な説明
【技術分野】
【0001】
電子機器、表示装置、発光装置、蓄電装置、それらの駆動方法、またはそれらの製造方
法に関する。
続きを表示(約 1,200 文字)
【0002】
なお、本明細書中において電子機器とは、電力を供給することで動作する装置全般を指
し、電源を有する電子機器、電源として例えば蓄電池を有する電子機器及び電気光学装置
、蓄電池を有する情報端末装置などは全て電子機器である。なお、本発明の一態様は、上
記の技術分野に限定されない。本明細書等で開示する発明の一態様の技術分野は、物、方
法、または、製造方法に関するものである。または、本発明の一態様は、プロセス、マシ
ン、マニュファクチャ、または、組成物(コンポジション・オブ・マター)に関するもの
である。そのため、より具体的に本明細書で開示する本発明の一態様の技術分野としては
、半導体装置、表示装置、液晶表示装置、発光装置、照明装置、蓄電装置、記憶装置、撮
像装置、それらの駆動方法、または、それらの製造方法、を一例として挙げることができ
る。
【背景技術】
【0003】
近年、頭部に装着する表示装置など人体に装着して使用される表示装置が提案され、ヘ
ッドマウントディスプレイや、ウェアラブルディスプレイと呼ばれている。人体に装着し
て使用される電子機器、例えば補聴器などは軽量化、小型化が求められている。
【0004】
また、電子機器の軽量化に伴い、電子機器が有する蓄電池についても、軽量化、及び小
型化が求められている。
【0005】
また、可撓性を有する表示装置を備えた電子書籍が特許文献1及び特許文献2に開示さ
れている。
【先行技術文献】
【特許文献】
【0006】
特開2010-282181
特開2010-282183
【発明の概要】
【発明が解決しようとする課題】
【0007】
使用者の装着感を快適なものとするため、人体に装着して使用される表示装置は軽量化
、及び小型化が求められ、さらに表示装置の駆動装置や電源を含めた電子機器全体の軽量
化が求められる。
【0008】
また、人体に装着して使用される表示装置や、該表示装置を有する電子機器は、持ち運
びがしやすいことや、丈夫であることが求められる。
【0009】
また、人体に装着して使用される表示装置や、該表示装置を有する電子機器は、装着お
よび脱着を繰り返すことにより曲げなどの外力が加えられ、その結果、表示部や、外観部
、及び内蔵される蓄電装置等が破壊する場合がある。
【0010】
本発明の一態様は、新規な電子機器を提供することを課題の一とする。または、本発明
の一態様は、新規の形態を有する電子機器を提供することを課題の一とする。または、本
発明の一態様は、丈夫な電子機器を提供することを課題の一とする。
(【0011】以降は省略されています)
この特許をJ-PlatPat(特許庁公式サイト)で参照する
関連特許
個人
教育のAI化
24日前
個人
英語教材
1か月前
日本精機株式会社
表示装置
27日前
日本精機株式会社
表示装置
2か月前
個人
計算用教具
2か月前
中国電力株式会社
標示旗
2か月前
日本精機株式会社
車両用表示装置
1か月前
個人
インフィニティミラー
25日前
日本精機株式会社
車両用センサ装置
2か月前
個人
モデルで薔薇の花嫁様を描く為
2か月前
個人
微細構造を模した理科学習教材
1か月前
日榮新化株式会社
対象物質感知シート
24日前
シャープ株式会社
表示装置
2か月前
ニチレイマグネット株式会社
サイン器具
1か月前
株式会社ウメラボ
学習支援システム
1か月前
株式会社ウメラボ
学習支援システム
1か月前
日本精機株式会社
表示装置及びその製造方法
27日前
ニチレイマグネット株式会社
磁着式電飾装置
2か月前
朝日インテック株式会社
ラベルシート
1か月前
株式会社リコー
画像投射システム
2か月前
朝日インテック株式会社
生体モデル装置
27日前
リンテック株式会社
表示体
1か月前
シャープ株式会社
表示装置
1か月前
株式会社イリオスNOTO
シート保管具
1か月前
シチズンファインデバイス株式会社
液晶表示装置
2か月前
学校法人関西医科大学
腹腔鏡手術訓練装置
2か月前
国立大学法人秋田大学
運転シミュレータ
1か月前
ローム株式会社
半導体装置およびシステム
11日前
セイコーエプソン株式会社
表示方法
2か月前
セイコーエプソン株式会社
表示方法
2か月前
リンテック株式会社
粘着ラベル
1か月前
ローム株式会社
暗号化装置
1か月前
キヤノン株式会社
表示装置
3日前
キヤノン株式会社
表示装置
3日前
キヤノン株式会社
発光装置
2か月前
TOPPANホールディングス株式会社
ラベル
2か月前
続きを見る
他の特許を見る