TOP
|
特許
|
意匠
|
商標
特許ウォッチ
Twitter
他の特許を見る
10個以上の画像は省略されています。
公開番号
2025175117
公報種別
公開特許公報(A)
公開日
2025-11-28
出願番号
2025154986,2022578698
出願日
2025-09-18,2021-06-29
発明の名称
第1及び第2剥離ライナを含む被覆材
出願人
メンリッケ・ヘルス・ケア・アーベー
代理人
個人
,
個人
,
個人
,
個人
,
個人
主分類
A61F
13/02 20240101AFI20251120BHJP(医学または獣医学;衛生学)
要約
【課題】薄型接着性被覆材の分野において改善を提供すること、そしてこのような被覆材の皺のない滅菌状態での被着を可能にすること。
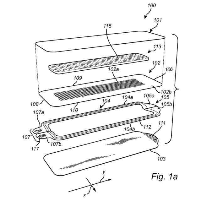
【解決手段】本開示は、裏打ち層(101)と、接着性皮膚接触層(102)と、第1剥離ライナ(103)とを含む被覆材(100)であって、接着性皮膚接触層(102)が中心部分(102a)と、中心部分(102a)を取り囲む縁部分(102b)とを含む形式のものに関する。第1剥離ライナ(103)は、接着性皮膚接触層(102)の少なくとも中心部分(102a)に剥離可能に取り付けられるように形成されている。被覆材(100)は、第1剥離ライナ(103)と、接着性皮膚接触層(102)の縁部分(102b)の少なくとも一部との間に配置された第2剥離ライナ(104)を含む。
【選択図】図2A
特許請求の範囲
【請求項1】
裏打ち層(101)と、接着性皮膚接触層(102)と、第1剥離ライナ(103)とを含む被覆材(100)であって、前記接着性皮膚接触層(102)が中心部分(102a)と、前記中心部分(102a)を取り囲む縁部分(102b)とを含み、前記第1剥離ライナ(103)が、前記接着性皮膚接触層(102)の少なくとも前記中心部分(102a)に剥離可能に取り付けられるように形成されている被覆材(100)において、
前記被覆材(100)が、前記第1剥離ライナ(103)と、前記接着性皮膚接触層(102)の前記縁部分(102b)の少なくとも一部との間に配置された第2剥離ライナ(104)を含むことを特徴とする、被覆材(100)。
続きを表示(約 1,100 文字)
【請求項2】
前記第2剥離ライナ(104)が、前記接着性皮膚接触層(102)の前記縁部分(102b)の少なくとも70%、好ましくは少なくとも80%の輪郭に追従するように配置されている、請求項1に記載の被覆材(100)。
【請求項3】
前記縁部分(102b)が、前記接着性皮膚接触層(102)の表面積の0.3~30%、好ましくは0.4~15%を構成する、請求項1又は2に記載の被覆材(100)。
【請求項4】
前記第2剥離ライナ(104)が第1タブ(105)を含み、前記第1タブ(105)が、前記接着性皮膚接触層(102)の周辺部を超えて延びるように形成されており、前記接着性皮膚接触層(102)の前記縁部分(102b)の第1縁部(106)上に配置されている、請求項1から3までのいずれか1項に記載の被覆材(100)。
【請求項5】
前記第2剥離ライナ(104)が第2タブ(107)を含み、前記第2タブ(107)が、前記接着性皮膚接触層(102)の周辺部を超えて延びるように形成されており、前記接着性皮膚接触層(102)の前記縁部分(102b)の、前記第1縁部(106)とは反対側の第2縁部(108)上に配置されている、請求項4に記載の被覆材(100)。
【請求項6】
前記第1剥離ライナ(103)が少なくとも1つの把持用タブ(111)を含み、前記把持用タブ(111)が、前記接着性皮膚接触層(102)の周辺部を超えて延びるように、前記第2剥離ライナ(104)の前記第1タブ(105)及び/又は前記第2タブ(107)タブに重なり合うように形成されている、請求項4又は5に記載の被覆材(100)。
【請求項7】
前記把持用タブ(111)と、前記第1タブ(105)又は前記第2タブ(107)とが、異なる表面構造を有している、請求項4から6までのいずれか1項に記載の被覆材(100)。
【請求項8】
前記把持用タブ(111)、前記第1タブ(105)、又は前記第2タブ(107)が、エンボス加工されている、請求項7に記載の被覆材(100)。
【請求項9】
前記第2剥離ライナ(104)が少なくとも第1取り外し可能部分(104a)及び第2取り外し可能部分(104b)を含む、請求項1から8までのいずれか1項に記載の被覆材(100)。
【請求項10】
前記第2剥離ライナ(104)の前記少なくとも第1取り外し可能部分(104a)及び第2取り外し可能部分(104b)が、前記第2剥離ライナ(104)の前記第1(105)及び前記第2(107)タブの間に延びるように形成されている、請求項9に記載の被覆材(100)。
(【請求項11】以降は省略されています)
発明の詳細な説明
【技術分野】
【0001】
本開示は、概して、第1剥離ライナと第2剥離ライナとを含む被覆材(dressing)、及びこのような被覆材を製造する方法に関する。
続きを表示(約 1,600 文字)
【背景技術】
【0002】
創傷及び傷跡を治療する目的、及び創傷がそもそも発生するのを防止する目的の両方のために、創傷のケアには接着性の被覆材がしばしば使用される。
【0003】
種々のタイプの被覆材が市場に存在している。「フィルム型被覆材(film dressings)」と一般に呼ばれるいくつかの被覆材は、裏打ち層と接着性皮膚接触層とを含む。いわゆる「縁取り型被覆材(bordered dressings)」もしばしば使用され、そしてこれらの被覆材は裏打ち層と接着性皮膚接触層との間に配置された吸収性パッドを含む。縁取り型被覆材の場合、裏打ち層と接着性皮膚接触層は、吸収性パッドの周辺部を超えて延びるように形成されている。
【0004】
接着性皮膚接触層の目的は着用者の皮膚又は創傷に付着し、被覆材を望ましい位置に固定することである。被覆材内に使用するときの接着性皮膚接触層の所望の特性は被覆材がフィルム型であるか縁取り型であるかとは無関係に、皮膚の輪郭に一致するように薄く柔軟であるべきことである。
【0005】
フィルム型被覆材及び縁取り型被覆材の(少なくとも)境界部分の薄さ及び接着性が望ましい一方で、これらの属性は典型的には被覆材の取扱い及び患者への被着を難しいものにする。被覆材は自己支持型ではなく、被着中に皺ができ又は被覆材自体にくっつくおそれがある。形成された皺は、細いチャネルを生成し、これらのチャネルを通って、液体は漏れる可能性がある。したがって、被覆材は役に立たなくなり、最終的には廃棄しなければならない。
【0006】
薄型接着性の被覆材の取扱いを容易にするために、接着性皮膚接触層に剥離ライナを取り付けることができる。しかしながら、ひとたび剥離ライナを取り外すと、接着層はなおも皺ができ、接着層自体に付着するおそれがある。さらに、剥離ライナを取り外すと、接着性皮膚接触層(及び被覆材)の縁部は、カールする傾向がある。
【0007】
薄型接着性の被覆材は、手術の後にしばしば被着され、医療用途では当初は滅菌状態であるべきである。被覆材の滅菌被着は創傷感染のリスクを回避するために極めて重要である。使用者、例えば臨床医は、特に被覆材が手術環境において使用される場合には、厳しい無菌状態下で被覆材をしばしば被着しなければならない。細菌汚染を回避するために、被覆材の表面に触れないことが重要である。
【0008】
薄型接着性の被覆材の取扱い及び被着を容易にしようと種々の試みが為されている。例えば、特許文献1に開示された複合構造はカバーと、補剛材と、剥離可能なライナとを含む。補剛材と、横方向に配置された3つの区分を含む剥離可能なライナは、複合構造に剛性をもたらし、被着時に被覆材がそれ自体にくっつき、皺を形成するのを防止する。補剛材はカバーの上面に剥離可能に固定され、そして補剛材の主要部分よりも高い剛性の取っ手を含む。
【0009】
特許文献2に開示されたポリマーフィルム型被覆材の接着面は、横方向に配置された3つの区分を成して形成された剥離紙ライナによって覆われている。中央区分は最初に取り外されるように配置されており、そして被覆材は、2つの側方区分によって掴まれ、所期位置に配置される。最後に、側方区分を取り外すことによって、被覆材の創傷への固定が完了する。
【0010】
特許文献3に開示された縁取り型被覆材は、接着性皮膚接触層に剥離可能に取り付けられた剥離ライナを含む。剥離ライナは、創傷パッド縁部から15mm未満の距離のところに設けられた分割線によって分離された少なくとも2つの取り外し可能部分を含む。被覆材はこうして切り傷の端部に正確に配置することができる。
(【0011】以降は省略されています)
この特許をJ-PlatPat(特許庁公式サイト)で参照する
関連特許
個人
貼付剤
1か月前
個人
簡易担架
17日前
個人
足踏み器具
24日前
個人
腋臭防止剤
17日前
個人
短下肢装具
4か月前
個人
洗井間専家。
8か月前
個人
排尿補助器具
1か月前
個人
嚥下鍛錬装置
4か月前
個人
前腕誘導装置
4か月前
個人
白内障治療法
8か月前
個人
バッグ式オムツ
5か月前
個人
ホバーアイロン
7か月前
個人
胸骨圧迫補助具
2か月前
個人
アイマスク装置
3か月前
個人
ウォート指圧法
1か月前
個人
腰ベルト
1か月前
個人
汚れ防止シート
2か月前
個人
矯正椅子
6か月前
個人
歯の修復用材料
5か月前
個人
車椅子持ち上げ器
8か月前
個人
歯の保護用シール
6か月前
個人
湿布連続貼り機。
3か月前
個人
排尿排便補助器具
19日前
個人
シャンプー
7か月前
個人
美容セット
26日前
個人
陣痛緩和具
4か月前
三生医薬株式会社
錠剤
8か月前
個人
哺乳瓶冷まし容器
4か月前
個人
服薬支援装置
8か月前
個人
性行為補助具
4か月前
株式会社コーセー
化粧料
1か月前
個人
エア誘導コルセット
3か月前
株式会社大野
骨壷
5か月前
個人
治療用酸化防御装置
2か月前
株式会社八光
剥離吸引管
6か月前
株式会社GSユアサ
歩行器
6か月前
続きを見る
他の特許を見る