TOP
|
特許
|
意匠
|
商標
特許ウォッチ
Twitter
他の特許を見る
10個以上の画像は省略されています。
公開番号
2025175114
公報種別
公開特許公報(A)
公開日
2025-11-28
出願番号
2025154041,2021211519
出願日
2025-09-17,2021-12-24
発明の名称
監視支援システム、方法及びプログラム
出願人
株式会社JVCケンウッド
代理人
主分類
H04N
7/18 20060101AFI20251120BHJP(電気通信技術)
要約
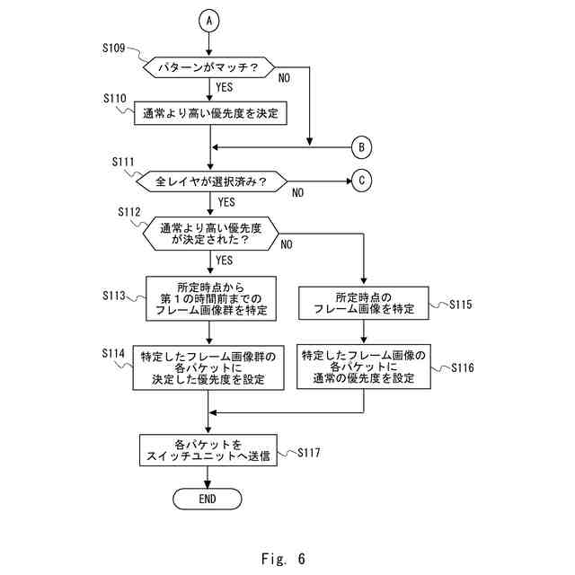
【課題】監視映像から注目すべき映像を適切に表示させることで、監視者が不審者等を効
率的に検出することを支援すること。
【解決手段】カメラユニット(100)は、所定時点にカメラにより撮影され、かつ、カ
メラとの距離が異なる複数のレイヤに対応する複数のレイヤ画像に対して、各レイヤに応
じた検出方式によりレイヤ画像内の人物の特定の行動を検出する検出部(151)と、特
定の行動が検出された場合、所定時点から第1の時間前までの間にカメラにより撮影され
た画像群を特定する特定部(152)と、通常優先度の画像よりも優先的に送信させるた
めの優先度を特定された画像群に設定する設定部(153)と、を備える。
【選択図】図2
特許請求の範囲
【請求項1】
所定時点にカメラにより撮影され、かつ、前記カメラとの距離が異なる複数のレイヤに対応する複数のレイヤ画像に対して、各レイヤに応じた検出方式により前記レイヤ画像内の人物の特定の行動を検出する検出部を備え、
前記検出部は、
前記カメラとの距離に応じた予め設定した時間内で、前記レイヤに対応し、かつ、異なる時点に撮影された所定数のレイヤ画像におけるレイヤに応じた対象のピクセル変化量の平均値を算出し、
前記平均値が所定値以上であるレイヤに対応する前記所定時点に撮影された前記レイヤ画像に対して、前記検出方式により前記特定の行動を検出する
監視支援システム。
続きを表示(約 310 文字)
【請求項2】
コンピュータが、
所定時点にカメラにより撮影され、かつ、前記カメラとの距離が異なる複数のレイヤに対応する複数のレイヤ画像に対して、各レイヤに応じた検出方式により前記レイヤ画像内の人物の特定の行動を検出するステップと、
前記カメラとの距離に応じた予め設定した時間内で、前記レイヤに対応し、かつ、異なる時点に撮影された所定数のレイヤ画像におけるレイヤに応じた対象のピクセル変化量の平均値を算出するステップと、
前記平均値が所定値以上であるレイヤに対応する前記所定時点に撮影された前記レイヤ画像に対して、前記検出方式により前記特定の行動を検出するステップと、
を行う監視支援方法。
発明の詳細な説明
【技術分野】
【0001】
本開示は、監視支援システム、方法及びプログラムに関する。
続きを表示(約 1,700 文字)
【背景技術】
【0002】
一般的に、監視カメラは、撮影した映像データのうち一部のフレーム画像をサンプリン
グして、モニタ装置へ送信する。モニタ装置は、受信したフレーム画像を、実際に撮影さ
れたフレームレートよりも長い間隔で画面に表示する。そのため、モニタ画面で監視を行
う監視者には、監視カメラで撮影された映像がコマ送りで再生されたように見える。よっ
て、監視者による不審者等の検出に遅れが生じ得る。
【0003】
特許文献1には、撮影映像中の人物の数が所定値以上であったときに近隣のカメラの撮
影領域を変更する技術が開示されている。
【先行技術文献】
【特許文献】
【0004】
特開2005-117542号公報
【発明の概要】
【発明が解決しようとする課題】
【0005】
上述したことから、店舗や街頭に設置された監視カメラにより撮影された映像のモニタ
装置での表示映像から、監視者が不審者等を検出することが困難であるという問題点があ
る。尚、上述した特許文献1にかかる技術は、不審な動きを検出するものではない。
【0006】
本開示は、上述の課題に鑑みてなされたものであり、監視映像から注目すべき映像を適
切に表示させることで、監視者が不審者等を効率的に検出することを支援するための監視
支援システム、方法及びプログラムを提供することを目的とする。
【課題を解決するための手段】
【0007】
本開示の第1の態様は、所定時点にカメラにより撮影され、かつ、前記カメラとの距離
が異なる複数のレイヤに対応する複数のレイヤ画像に対して、各レイヤに応じた検出方式
により前記レイヤ画像内の人物の特定の行動を検出する検出部と、前記特定の行動が検出
された場合、前記所定時点から第1の時間前までの間に前記カメラにより撮影された画像
群を特定する特定部と、通常優先度の画像よりも優先的に送信させるための優先度を前記
特定された画像群に設定する設定部と、を備える監視支援システムを提供する。
【0008】
本開示の第2の態様は、コンピュータが、所定時点にカメラにより撮影され、かつ、前
記カメラとの距離が異なる複数のレイヤに対応する複数のレイヤ画像に対して、各レイヤ
に応じた検出方式により前記レイヤ画像内の人物の特定の行動を検出するステップと、前
記特定の行動が検出された場合、前記所定時点から第1の時間前までの間に前記カメラに
より撮影された画像群を特定するステップと、通常優先度の画像よりも優先的に送信させ
るための優先度を前記特定された画像群に設定するステップと、を行う監視支援方法を提
供する。
【0009】
本開示の第3の態様は、所定時点にカメラにより撮影され、かつ、前記カメラとの距離
が異なる複数のレイヤに対応する複数のレイヤ画像に対して、各レイヤに応じた検出方式
により前記レイヤ画像内の人物の特定の行動を検出するステップと、前記特定の行動が検
出された場合、前記所定時点から第1の時間前までの間に前記カメラにより撮影された画
像群を特定するステップと、通常優先度の画像よりも優先的に送信させるための優先度を
前記特定された画像群に設定するステップと、をコンピュータに実行させる監視支援プロ
グラムを提供する。
【発明の効果】
【0010】
本開示により、監視映像から注目すべき映像を適切に表示させることで、監視者が不審
者等を効率的に検出することを支援するための監視支援システム、方法及びプログラムを
提供することができる。
【図面の簡単な説明】
(【0011】以降は省略されています)
この特許をJ-PlatPat(特許庁公式サイト)で参照する
関連特許
個人
イヤーピース
24日前
個人
イヤーマフ
1か月前
個人
監視カメラシステム
1か月前
個人
スイッチシステム
1か月前
キーコム株式会社
光伝送線路
1か月前
個人
スキャン式車載用撮像装置
1か月前
サクサ株式会社
中継装置
1か月前
WHISMR合同会社
収音装置
2か月前
サクサ株式会社
中継装置
1か月前
キヤノン株式会社
撮像装置
3か月前
キヤノン株式会社
撮像装置
3日前
アイホン株式会社
電気機器
2か月前
キヤノン電子株式会社
画像読取装置
24日前
キヤノン電子株式会社
画像読取装置
2か月前
キヤノン電子株式会社
画像読取装置
1か月前
株式会社リコー
画像形成装置
1か月前
サクサ株式会社
無線システム
1か月前
個人
ワイヤレスイヤホン対応耳掛け
2か月前
株式会社リコー
画像形成装置
3か月前
サクサ株式会社
無線通信装置
1か月前
サクサ株式会社
無線通信装置
1か月前
株式会社リコー
画像形成装置
3か月前
個人
映像表示装置、及びARグラス
1か月前
キヤノン電子株式会社
画像読取装置
1か月前
ヤマハ株式会社
放音制御装置
1か月前
個人
発信機及び発信方法
1か月前
キヤノン株式会社
情報処理装置
11日前
キヤノン株式会社
撮像システム
2か月前
日本電気株式会社
海底分岐装置
1か月前
キヤノン電子株式会社
シート搬送装置
24日前
キヤノン株式会社
画像処理装置
27日前
シャープ株式会社
端末装置
1か月前
株式会社NTTドコモ
端末
1か月前
パテントフレア株式会社
超高速電波通信
2か月前
シャープ株式会社
表示装置
24日前
シャープ株式会社
表示装置
24日前
続きを見る
他の特許を見る