TOP
|
特許
|
意匠
|
商標
特許ウォッチ
Twitter
他の特許を見る
公開番号
2025174972
公報種別
公開特許公報(A)
公開日
2025-11-28
出願番号
2025134470,2022549957
出願日
2025-08-12,2021-02-16
発明の名称
コンテキスト化された検索およびコンテンツ配信のためのコンテキスト仕様を生成するシステムおよび方法
出願人
スタックアダプト インコーポレイテッド
代理人
個人
,
個人
,
個人
,
個人
,
個人
,
個人
主分類
G06Q
30/0241 20230101AFI20251120BHJP(計算;計数)
要約
【課題】本明細書に記載されるシステムおよび方法は、キャンペーンを生成し、インターネットデータへのキャンペーンデータの掲載のための入札を効率的に計算することを提供する。
【解決手段】実施形態は、キャンペーン用語およびビーコン用語に基づいて、キャンペーンデータのコンテキストスコアを計算し得る。コンテキストスコアは、高いページスコアを有するインターネットコンテンツを識別するために使用され得る。特定のインターネットコンテンツのページスコアが既定の閾値を超える場合、システムは、入力パフォーマンススコア、コンテキストスコア、ページスコア、キャンペーン予算、および他のパラメータを入力として取る、開示されたアルゴリズムに基づいて、キャンペーンの入札を行い得る。したがって、システムは、本明細書で開示されるパラメータが与えられると、特定のキャンペーンに対して行う最適な入札を迅速かつ効果的に計算することができる。
【選択図】図1
特許請求の範囲
【請求項1】
コンピュータ実装方法であって、
コンピュータによって、機械学習モデルをクライアントデバイスから受信した第1のコンテキスト用語のセットに適用して、コーパスデータベースからビーコン用語のセットを出力することであって、前記機械学習モデルが、前記コーパスデータベース内に記憶された複数のコーパス用語について訓練されて、前記複数のコーパス用語に対応する複数の共起確率を判定する、出力することと、
前記コンピュータによって、前記ビーコン用語のセットおよび前記第1のコンテキスト用語のセットに基づいて、前記コーパスデータベース内に記憶された複数のコーパスウェブページの複数のページスコアを計算することと、
前記コンピュータによって、前記複数のコーパスウェブページにおいて、閾値を満たすページスコアを有するコンテキストウェブページのセットを識別することと、
前記コンピュータによって、前記機械学習モデルを、前記クライアントデバイスから受信した前記第1のコンテキスト用語のセットおよび第2のコンテキスト用語のセットに適用して、更新されたビーコン用語のセットを出力することと、
前記コンピュータによって、前記更新されたビーコン用語のセット、前記第1のコンテキスト用語のセット、および前記第2のコンテキスト用語のセットに基づいて、前記コーパスデータベース内に記憶された1つ以上のコーパスウェブページの1つ以上の更新されたページスコアを計算することと、
前記コンピュータによって、前記1つ以上の更新されたページスコアに基づいて、前記コンテキストウェブページのセットを更新することと、
前記コンピュータによって、前記ビーコン用語のセットおよび前記コンテキストウェブページのセットを含むユーザのキャンペーンデータをキャンペーンデータベース内に記憶することであって、前記キャンペーンデータが、リアルタイム入札選択操作の間に、1つ以上の利用可能なウェブページの前記リアルタイム入札選択操作を実行するように構成される、記憶することと、を含む、コンピュータ実装方法。
続きを表示(約 1,600 文字)
【請求項2】
前記機械学習モデルを前記第1のコンテキスト用語のセットに適用して、前記コーパスデータベースから前記ビーコン用語のセットを出力することが、
前記コンピュータによって、前記第1のコンテキスト用語のセットのための1つ以上の埋め込みを抽出することであって、前記ビーコン用語のセットが、前記第1のコンテキスト用語のセットのための前記1つ以上の埋め込みからの閾値距離を満たす特徴ベクトルを有する、前記コーパスデータベース内の1つ以上のコーパス用語を含む、抽出することを含む、請求項1に記載の方法。
【請求項3】
単語確率、単語共起数、および単語間確率論的含意のうちの少なくとも1つに基づいて、前記コンピュータによって、前記第1のコンテキスト用語のセットにおける各コンテキスト用語のコンテキストスコアを計算することであって、前記1つ以上のビーコン用語を識別するための各コンテキスト用語の各埋め込みが、前記コンテキスト用語の前記コンテキストスコアに基づいている、計算することをさらに含む、請求項2に記載の方法。
【請求項4】
前記コンピュータによって、各コンテキストスコアを、各コンテキスト用語のデフォルトスコアとして設定することと、
前記コンピュータによって、1つ以上のユーザ入力に従って前記コンテキスト用語の前記コンテキストスコアを調整することと、をさらに含む、請求項3に記載の方法。
【請求項5】
前記第1のコンテキスト用語のセットが、少なくとも1つのコンテキスト外用語を含む、請求項1に記載の方法。
【請求項6】
前記コンピュータによって、前記クライアントデバイスから受信した1つ以上のユーザ入力に基づいて、前記コンテキストウェブページのセットのためのコンテキストデータを生成することと、
前記コンピュータによって、前記クライアントデバイスのグラフィカルユーザインターフェース(GUI)で表示するために、前記コンテキストデータを前記クライアントデバイスに送信することと、をさらに含む、請求項1に記載の方法。
【請求項7】
前記コンピュータが、クエリ構成ウェブページを介して前記クライアントデバイスから各コンテキスト用語を受信する、請求項1に記載の方法。
【請求項8】
前記コンピュータによって、ユニフォームリソースロケータ(URL)に従って、ページコンテンツおよびメタデータを含むウェブページのウェブページデータを要求することと、
前記コンピュータによって、前記ウェブページデータを、前処理されたページとして前記コーパスデータベース内に記憶することであって、前記前処理されたページが、前記前処理されたページについてのデータレコードに記憶され、前記データレコードが、前記ページコンテンツおよび前記メタデータ、タイムスタンプ、前記URL、ならびに1つ以上のコンテンツタグのうちの少なくとも一部分を含む、記憶することと、をさらに含む、請求項2に記載の方法。
【請求項9】
前記コンピュータによって、入札システムからの入札を要求する1つ以上の利用可能なウェブページの可用性リストを入札サーバから受信することと、
前記コンピュータによって、前記更新されたビーコン用語のセットと、前記利用可能なウェブページ内の1つ以上のコンテキスト内用語とを含む1つ以上のキャンペーン用語の発生回数に少なくとも部分的に基づいて、前記可用性リスト内の各利用可能なウェブページのリアルタイムページスコアを計算することと、をさらに含む、請求項1に記載の方法。
【請求項10】
前記コンピュータによって、前記入札閾値を満たす前記可用性リストの前記利用可能なウェブページの各々を含むウェブページの入札リストを識別することをさらに含む、請求項9に記載の方法。
(【請求項11】以降は省略されています)
発明の詳細な説明
【技術分野】
【0001】
[関連出願の相互参照]
本出願は、2020年2月19日に出願された米国仮出願第62/978,746号の優先権を主張し、その全体が参照により組み込まれる。
続きを表示(約 5,200 文字)
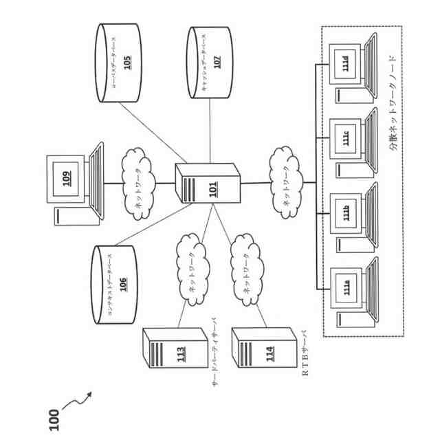
【0002】
本出願は、概して、コンテキスト検索パラメータを生成し、分散型ネットワークを介して高いコンテキストコンテンツを配信するためのシステムおよび方法に関する。より具体的には、本出願は、コンテンツプロバイダが、特定のコンテンツについてコンテキストに関連するコンテンツ公開者および配布者を効率的に識別することを可能にすることに関する。
【背景技術】
【0003】
先行技術のシステムは、キーワードターゲティングを使用してキーワードのセットに基づいて、コンテンツキャンペーンからのコンテンツをコンテンツ配布者と結び付けることを可能にする。例えば、検索エンジンは、検索リクエストに指定されたキーワードが含まれている場合に出現する広告を販売し得る。この基本的な方法は、配布されるコンテンツが検索に無関係であることが多い、比較的貧弱な経験を提供する。例えば、リンゴパイおよびパン屋に関連する情報を配布したいコンテンツジェネレータは、キーワード「リンゴ」に基づいてウェブサイト上でコンテンツを検索して公開したい場合があるが、そのようなサイトには「リンゴ」というキーワードも含まれるため、コンテンツは、同じ名前のテクノロジ企業であるApple(登録商標)を考察しているテクノロジまたはビジネスのウェブサイトに誤って掲載される場合がある。
【0004】
広告を掲載するコンテキストを指定する第2の方法は、インタラクティブ広告局(IAB)カテゴリなど、配布されるコンテンツに関連するいくつかの事前確立されたカテゴリ分類を通じて行われる。この方法では、公開者およびコンテンツプロバイダは、ドメインまたは記事を、事前定義されたIABカテゴリに分類する。次いで、コンテンツジェネレータ(例えば、広告主)は、コンテンツジェネレータがコンテンツをコロケーションしたいカテゴリを選択する。しかしながら、この方法では、コンテンツジェネレータは、事前定義されたカテゴリのみから選択することに限定され、コンテンツジェネレータとコンテンツ公開者/プロバイダとの間に競合するインセンティブがあり、その結果、コンテンツ公開者/プロバイダは、コンテンツジェネレータに属するコロケーションされたコンテンツの配信を過度に制限または過度に満足させる可能性のある、それらの記事または他のマテリアルを可能な限り多くのまたは少ないカテゴリに配置することを望み得る。キーワードの大きなリストを指定する、またはIABカテゴリを選択する以外に、コンテンツジェネレータのコンテンツ(例えば、広告)が出現するべきコンテキストを指定する既知の方法はない。加えて、そのようなコンテンツがコンテンツジェネレータによって指定されると、そのようなコンテンツを指定されたコンテキストに効率的に配信する既知の方法はない。
【0005】
したがって、必要なのは、コンテンツが出現するべきコンテキストを指定するための、かつコロケーションおよびプレゼンテーションのためにコンテキストに関連するウェブサイトにコンテンツを効率的に配信するためのより効果的で効率的な手段である。
【発明の概要】
【発明が解決しようとする課題】
【0006】
本明細書に開示されるシステムおよび方法は、上述した当技術分野における欠点に取り組むことを意図しているが、追加または代替の利点も提供し得る。本明細書で説明されるように、システムおよび方法は、キャンペーンコンテンツとインターネットコンテンツとの間の相関を改善するためにコンテキスト用語を使用し得る。これらのシステムおよび方法は、広告主が広告を出現させたいコンテキストを指定し、そのコンテキストを有するサイトに広告を配信することを可能にする。
【0007】
本明細書に開示される改善されたシステムおよび方法は、ウェブサイト、ビデオ、またはオーディオファイルなどの非常に多数(例えば、数千、数百万)のインターネットコンテンツを前処理して、印象を提供するためにキャンペーンが入札する最良の機会を判定するために、複雑なアルゴリズムを実行する1つ以上の機械学習技術およびアルゴリズムを含む。コンテキスト用語またはキャンペーン用語は、キーワードもしくはフレーズ、または音声ファイルもしくはビジュアルファイルのデジタル指紋などのコンテンツを識別する他の手段であり得る。例えば、ハリケーンの画像には、ハリケーンであることが知られているデジタル指紋があり、キーワード「ハリケーン」が割り当てられている可能性がある。キャンペーンコンテンツには、家電製品および雑誌の購読の販売などの広告、または政治キャンペーンまたは行動の呼びかけなどのプロモーション資料が含まれ得る。現在のシステムは、インターネットコンテンツと多数のキャンペーンコンテンツを効率的かつ効果的に結び付けることができない。インターネットコンテンツには、オンラインビデオ、ニュース記事、ブログ投稿、リアルタイムのビデオフィード、オンラインフォーラム、ソーシャルネットワーク、オンライン雑誌、ゲーム、モバイルソフトウェアアプリケーション、またはコンテンツを表示するスマートディスプレイなどのモノのインターネット(IOT)機器が含まれる。このインターネットコンテンツの多く、例えば、新しいビデオ、ブログ投稿、記事、またはフォーラムコンテンツなどは、リアルタイムで生成され得、このアプリケーションのコンピュータ化されたシステムおよび方法は、そのようなリアルタイムの印象の機会をキャンペーンと結び付けることができる。本出願に開示される改善されたシステムおよび方法は、キャンペーンとインターネットコンテンツに隣接する掲載との間のリアルタイムの意思決定を提供し得るデータベースに情報を記憶することによって、より高い関連性およびより良好な結果を可能にする。広告と広告が出現するコンテキストの一致が改善されると、より高い広告キャンペーンのパフォーマンスをもたらす可能性が高い。
【課題を解決するための手段】
【0008】
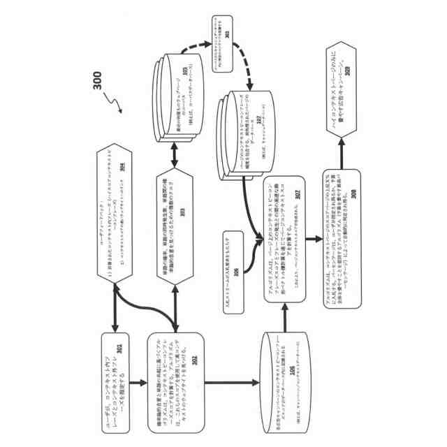
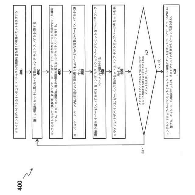
一実施形態では、コンピュータ実装方法は、コンピュータによって、機械学習モデルを、クライアントデバイスから受信した第1のコンテキスト用語のセットに適用して、コーパスデータベースからビーコン用語のセットを出力することであって、機械学習モデルが、コーパスデータベースに記憶された複数のコーパス用語について訓練され、複数のコーパス用語に対応する複数の共起確率を判定する、出力することと、コンピュータによって、ビーコン用語のセットおよび第1のコンテキスト用語のセットに基づいて、コーパスデータベースに記憶された複数のコーパスウェブページの複数のページスコアを計算することと、コンピュータによって、複数のコーパスウェブページにおいて、閾値を満たすページスコアを有するコンテキストウェブページのセットを識別することと、コンピュータによって、機械学習モデルを、クライアントデバイスから受信した第1のコンテキスト用語のセットおよび第2のコンテキスト用語のセットに適用して、更新されたビーコン用語のセットを出力することと、コンピュータによって、更新されたビーコン用語のセット、第1のコンテキスト用語のセット、および第2のコンテキスト用語のセットに基づいて、コーパスデータベース内に記憶された1つ以上のコーパスウェブページの1つ以上の更新されたページスコアを計算することと、コンピュータによって、1つ以上の更新されたページスコアに基づいて、コンテキストウェブページのセットを更新することと、コンピュータによって、更新されたビーコン用語のセットおよびコンテキストウェブページのセットを含むユーザのキャンペーンデータをキャンペーンデータベース内に記憶することであって、キャンペーンデータが、リアルタイム入札選択操作中に、1つ以上の利用可能なウェブページのためのリアルタイム入札選択操作を実行するように構成された、記憶することと、を含む。
【0009】
別の実施形態では、システムは、ユニフォームリソースロケータ(URL)およびページコンテキストスコアに対応する複数のインターネットコンテンツデータの少なくとも一部を記憶するように構成された非一時的記憶媒体を含むコーパスデータベースと、複数のユーザのためのキャンペーンデータを記憶するように構成された非一時的記憶媒体を含むキャンペーンデータベースであって、キャンペーンデータが、リアルタイム入札選択操作の間に1つ以上の利用可能なウェブページのためのリアルタイム入札選択操作を実行するように構成された、キャンペーンデータベースと、プロセッサを含むサーバであって、プロセッサが、機械学習モデルをクライアントデバイスから受信した第1のコンテキスト用語のセットに適用して、コーパスデータベースからビーコン用語のセットを出力することであって、機械学習モデルが、複数のコーパス用語に対応する複数の共起確率を判定するために、コーパスデータベース内に記憶された複数のコーパス用語について訓練される、出力することと、ビーコン用語のセットおよび第1のコンテキスト用語のセットに基づいて、コーパスデータベース内に記憶された複数のコーパスウェブページの複数のページスコアを計算することと、複数のコーパスウェブページにおいて、閾値を満たすページスコアを有するコンテキストウェブページのセットを識別することと、機械学習モデルを、クライアントデバイスから受信した第1のコンテキスト用語のセットおよび第2のコンテキスト用語のセットに適用して、更新されたビーコン用語のセットを出力することと、ビーコン用語の更新されたセット、第1のコンテキスト用語のセット、および第2のコンテキスト用語のセットに基づいて、コーパスデータベース内に記憶された1つ以上のコーパスウェブページの1つ以上の更新されたページスコアを計算することと、1つ以上の更新されたページスコアに基づいて、コンテキストウェブページのセットを更新することと、キャンペーンデータベース内に、ビーコン用語のセットおよびコンテキストウェブページのセットを含むユーザのキャンペーンデータを記憶することであって、キャンペーンデータが、リアルタイム入札選択操作中に1つ以上の利用可能なウェブページのためのリアルタイム入札選択操作を実行するように構成された、記憶することと、を行うように構成されている、サーバと、を備える。
【0010】
別の実施形態では、機械実行可能プログラム命令を含むコンピュータ可読媒体であって、コンピュータシステムの1つ以上のプロセッサによるプログラム命令の実行は、1つ以上のプロセッサに、機械学習モデルをクライアントデバイスから受信した第1のコンテキスト用語のセットに適用して、コーパスデータベースからビーコン用語のセットを出力するステップであって、機械学習モデルが、複数のコーパス用語に対応する複数の共起確率を判定するためにコーパスデータベース内に記憶された複数のコーパス用語について訓練される、出力するステップと、ビーコン用語のセットおよび第1のコンテキスト用語のセットに基づいて、コーパスデータベース内に記憶された複数のコーパスウェブページの複数のページスコアを計算するステップと、複数のコーパスウェブページにおいて、閾値を満たすページスコアを有するコンテキストウェブページのセットを識別するステップと、機械学習モデルを、クライアントデバイスから受信した第1のコンテキスト用語のセットおよび第2のコンテキスト用語のセットに適用して、更新されたビーコン用語のセットを出力するステップと、更新されたビーコン用語のセット、第1のコンテキスト用語のセット、および第2のコンテキスト用語のセットに基づいて、コーパスデータベース内に記憶された1つ以上のコーパスウェブページの1つ以上の更新されたページスコアを計算するステップと、1つ以上の更新されたページスコアに基づいて、コンテキストウェブページのセットを更新するステップと、キャンペーンデータベース内に、ビーコン用語のセットおよびコンテキストウェブページのセットを含むユーザのキャンペーンデータを記憶するステップであって、キャンペーンデータが、リアルタイム入札選択操作中に1つ以上の利用可能なウェブページのリアルタイム入札選択操作を実行するように構成された、記憶するステップと、を実行させる、コンピュータ可読媒体。
(【0011】以降は省略されています)
この特許をJ-PlatPat(特許庁公式サイト)で参照する
関連特許
個人
詐欺保険
1か月前
個人
縁伊達ポイン
1か月前
個人
RFタグシート
1か月前
個人
職業自動販売機
14日前
個人
5掛けポイント
21日前
個人
ペルソナ認証方式
29日前
個人
QRコードの彩色
1か月前
個人
地球保全システム
1か月前
個人
情報処理装置
24日前
個人
自動調理装置
1か月前
個人
為替ポイント伊達夢貯
2か月前
個人
冷凍食品輸出支援構造
2か月前
個人
農作物用途分配システム
1か月前
個人
表変換編集支援システム
2か月前
個人
残土処理システム
1か月前
個人
知財出願支援AIシステム
2か月前
個人
知的財産出願支援システム
1か月前
個人
サービス情報提供システム
16日前
個人
インターネットの利用構造
28日前
個人
タッチパネル操作指代替具
1か月前
個人
パスワード管理支援システム
2か月前
個人
スケジュール調整プログラム
1か月前
個人
AIによる情報の売買の仲介
2か月前
個人
携帯端末障害問合せシステム
1か月前
個人
行動時間管理システム
2か月前
個人
AIキャラクター制御システム
2か月前
個人
システム及びプログラム
2か月前
個人
エリアガイドナビAIシステム
29日前
個人
海外支援型農作物活用システム
2か月前
株式会社キーエンス
受発注システム
1か月前
個人
食品レシピ生成システム
1か月前
株式会社キーエンス
受発注システム
1か月前
株式会社キーエンス
受発注システム
1か月前
日本精機株式会社
施工管理システム
2か月前
株式会社ワコム
電子ペン
23日前
キヤノン株式会社
情報処理装置
8日前
続きを見る
他の特許を見る