TOP
|
特許
|
意匠
|
商標
特許ウォッチ
Twitter
他の特許を見る
公開番号
2025174294
公報種別
公開特許公報(A)
公開日
2025-11-28
出願番号
2024080479
出願日
2024-05-16
発明の名称
吸収性物品
出願人
王子ホールディングス株式会社
代理人
弁理士法人秀和特許事務所
主分類
A61F
13/539 20060101AFI20251120BHJP(医学または獣医学;衛生学)
要約
【課題】本発明は、圧搾部の端部に到達した尿等の排出液の漏出を抑制する吸収性物品を提供することを目的とする。
【解決手段】吸収性物品は、着用者の前後方向に対応する長手方向に沿った長さと、長手方向に直交する幅方向に沿った長さと、吸収マットと、吸収マットの着用者の肌面側に配置された第1透水性シートと、を有する吸収体と、吸収体の肌面側に設けられた圧搾溝と、第1透水性シートの肌面側に接着され、圧搾溝に沿った形状を有する第2透水性シートと、圧搾溝の端部側の第1透水性シートと第2透水性シートの接着力が圧搾溝の中央部側よりも弱い弱接着部と、を備える。
【選択図】図4
特許請求の範囲
【請求項1】
着用者の前後方向に対応する長手方向に沿った長さと、
前記長手方向に直交する幅方向に沿った長さと、
吸収マットと、前記吸収マットの前記着用者の肌面側に配置された第1透水性シートと、を有する吸収体と、
前記吸収体の前記肌面側に設けられた圧搾溝と、
前記第1透水性シートの前記肌面側に接着され、前記圧搾溝に沿った形状を有する第2透水性シートと、
前記圧搾溝の端部側の前記第1透水性シートと前記第2透水性シートの接着力が前記圧搾溝の中央部側よりも弱い弱接着部と、を備える、
吸収性物品。
続きを表示(約 700 文字)
【請求項2】
前記圧搾溝は、深さ及び幅が一様である、
請求項1に記載の吸収性物品。
【請求項3】
前記圧搾溝は、前記吸収体の前記長手方向中央部の前記幅方向中央部を含み、前記幅方向に延在する、
請求項1又は2に記載の吸収性物品。
【請求項4】
前記第1透水性シートは、前記吸収マットの前記肌面側に複数枚配置され、前記圧搾溝の中央部側よりも前記圧搾溝端部側に配置される前記第1透水性シートの枚数が多い、
請求項1又は2に記載の吸収性物品。
【請求項5】
前記圧搾溝の端部側に積層された前記第1透水性シート及び前記第2透水性シート間に厚み方向に隣接する透水性シート同士が非接着である非接着部を備える、
請求項1又は2に記載の吸収性物品。
【請求項6】
前記第2透水性シートの前記幅方向の両側に前記長手方向に延在する非透水性の一対の防漏シートを備え、
前記防漏シートは、
前記幅方向の外側の一端が前記第2透水性シートに接合された接合部と、
前記幅方向の内側の一端が前記肌面側に起立可能な自由端部と、
前記自由端部に伸長状態で前記長手方向に延在するように接着された弾性部材と、
前記長手方向の端部において前記第2透水性シートに接続された固定部と、を有する、
請求項1又は2に記載の吸収性物品。
【請求項7】
前記圧搾溝の中央部において、前記第1透水性シートと前記第2透水性シートは、間欠接着されている、
請求項1又は2に記載の吸収性物品。
発明の詳細な説明
【技術分野】
【0001】
本発明は、吸収性物品に関する。
続きを表示(約 1,600 文字)
【背景技術】
【0002】
使い捨ておむつや、吸収性パッド、生理用品等の吸収性物品が開発されている。吸収性物品は、着用者が排出した尿等の排出液を吸収する吸収体を備えている。例えば、特許文献1には、圧搾によって形成された圧搾溝を備える吸収性物品が開示されている。
【先行技術文献】
【特許文献】
【0003】
特開2019-103782号公報
【発明の概要】
【発明が解決しようとする課題】
【0004】
圧搾溝は、着用者が排出した尿等の排出液を吸収体全体に拡散し、尿等の排出液を吸収体の全体で効率よく吸収できる。しかしながら、圧搾溝の端部が吸収体の端部近傍まで設けられている場合、尿等の排出液が圧搾溝の端部にまで到達し吸収体から漏出してしまう虞がある。
【0005】
本発明は、圧搾部の端部に到達した尿等の排出液の漏出を抑制する吸収性物品を提供することを目的とする。
【課題を解決するための手段】
【0006】
本発明の一側面に係る吸収性物品は、
着用者の前後方向に対応する長手方向に沿った長さと、
前記長手方向に直交する幅方向に沿った長さと、
吸収マットと、前記吸収マットの前記着用者の肌面側に配置された第1透水性シートと、を有する吸収体と、
前記吸収体の前記肌面側に設けられた圧搾溝と、
前記第1透水性シートの前記肌面側に接着され、前記圧搾溝に沿った形状を有する第2透水性シートと、
前記圧搾溝の端部側の前記第1透水性シートと前記第2透水性シートの接着力が前記圧搾溝の中央部側よりも弱い弱接着部と、を備える。
【発明の効果】
【0007】
本発明によれば、圧搾部の端部に到達した尿等の排出液の漏出を抑制することができる。
【図面の簡単な説明】
【0008】
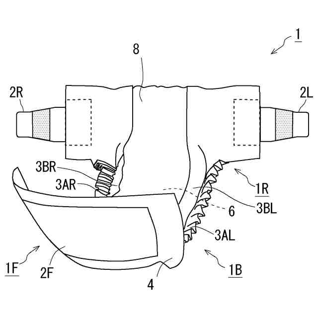
図1は、実施形態に係るおむつの外観斜視図である。
図2は、実施形態に係るおむつの分解斜視図である。
図3は、実施形態に係るおむつの平面図である。
図4は、実施形態に係るおむつの断面図である。
図5は、実施形態に係るおむつに設けられた圧搾部を示した図である。
図6は、実施形態に係るおむつに設けられた圧搾部を拡大した拡大図である。
図7は、実施形態に係るおむつに設けられた防漏壁が起立した状態における断面図である。
図8は、実施形態に係るおむつに設けられた非接着部を示した図である。
【発明を実施するための形態】
【0009】
以下、本発明の実施形態について説明する。以下に示す実施形態は、本願発明の一態様であり、本願発明の技術的範囲を限定するものではない。
【0010】
<実施形態>
本実施形態では、テープ型使い捨ておむつ(本願でいう「吸収性物品」の一例であり、以下、単に「おむつ」という)について、着用者の腹部に対向して配置される前身頃と背部に対向して配置される後身頃とを結ぶ方向を長手方向とする。これらの前身頃(長手方向の一側)と後身頃(長手方向の他側)との間(長手方向の中央)には、着用者の股下に配置(股間に対向して配置)される股下部が位置する。また、おむつが着用者に着用された状態(以下、「着用状態」と略称する)において、着用者の肌に向かう側(着用された状態で内側)を肌面側とし、肌面側の反対側(着用された状態で外側)を非肌面側とする。さらに、肌面側と非肌面側とを結ぶ方向を厚み方向とし、長手方向と厚み方向の何れにも直交する方向を幅方向とする。そのほか、厚み方向から視ることを平面視とする。また、おむつの左右方向は、着用状態において、着用者の右手側が右方向、着用者の左手側が左方向とする。
(【0011】以降は省略されています)
この特許をJ-PlatPat(特許庁公式サイト)で参照する
関連特許
個人
貼付剤
1か月前
個人
簡易担架
16日前
個人
短下肢装具
4か月前
個人
足踏み器具
23日前
個人
腋臭防止剤
16日前
個人
嚥下鍛錬装置
4か月前
個人
洗井間専家。
8か月前
個人
前腕誘導装置
4か月前
個人
白内障治療法
8か月前
個人
排尿補助器具
1か月前
個人
アイマスク装置
3か月前
個人
胸骨圧迫補助具
2か月前
個人
汚れ防止シート
2か月前
個人
矯正椅子
6か月前
個人
腰ベルト
1か月前
個人
ウォート指圧法
1か月前
個人
ホバーアイロン
7か月前
個人
歯の修復用材料
5か月前
個人
バッグ式オムツ
5か月前
三生医薬株式会社
錠剤
8か月前
個人
哺乳瓶冷まし容器
4か月前
個人
シャンプー
7か月前
個人
車椅子持ち上げ器
8か月前
個人
美容セット
25日前
個人
歯の保護用シール
6か月前
個人
湿布連続貼り機。
3か月前
個人
排尿排便補助器具
18日前
個人
陣痛緩和具
4か月前
個人
エア誘導コルセット
3か月前
個人
治療用酸化防御装置
2か月前
個人
服薬支援装置
8か月前
個人
性行為補助具
4か月前
株式会社結心
手袋
8か月前
株式会社コーセー
化粧料
1か月前
株式会社八光
剥離吸引管
6か月前
株式会社大野
骨壷
5か月前
続きを見る
他の特許を見る