TOP
|
特許
|
意匠
|
商標
特許ウォッチ
Twitter
他の特許を見る
10個以上の画像は省略されています。
公開番号
2025174148
公報種別
公開特許公報(A)
公開日
2025-11-28
出願番号
2024080251
出願日
2024-05-16
発明の名称
情報処理システム及びプログラム
出願人
富士フイルムビジネスイノベーション株式会社
代理人
個人
,
個人
主分類
H04L
67/51 20220101AFI20251120BHJP(電気通信技術)
要約
【課題】ユーザによる自システムの利用要求に応じて、そのユーザが利用可能なネットワークを特定することを、多数のユーザとネットワークとの対応付けを変更する際の作業負荷を増大させることなく可能とする。
【解決手段】1又は複数のプロセッサを備え、1又は複数のプロセッサは、ユーザによる自システムの利用要求に応じて、第1の対応情報でユーザに対応付けられたグループを特定し、グループが特定されると、自システムに接続された複数のネットワークのうち、第1の対応情報とは切り離された第2の対応情報でグループに対応付けられたネットワークを、ユーザが利用可能なネットワークとして特定する、情報処理システムである。
【選択図】図8
特許請求の範囲
【請求項1】
1又は複数のプロセッサを備え、
前記1又は複数のプロセッサは、
ユーザによる自システムの利用要求に応じて、第1の対応情報で当該ユーザに対応付けられたグループを特定し、
前記グループが特定されると、自システムに接続された複数のネットワークのうち、前記第1の対応情報とは切り離された第2の対応情報で当該グループに対応付けられたネットワークを、前記ユーザが利用可能なネットワークとして特定する、
情報処理システム。
続きを表示(約 1,100 文字)
【請求項2】
前記第1の対応情報は、複数のユーザの各々と複数のグループの各々とを対応付けた対応情報である、請求項1に記載の情報処理システム。
【請求項3】
前記第2の対応情報は、複数のグループの各々と前記複数のネットワークの各々とを対応付けた対応情報である、請求項1に記載の情報処理システム。
【請求項4】
前記グループは、複数のユーザの各々に割り当てられた役割によって当該複数のユーザを分けることで得られたユーザの集合である、請求項1に記載の情報処理システム。
【請求項5】
前記1又は複数のプロセッサは、
前記ユーザによる自システムの利用要求に応じて、前記複数のネットワークのうちの何れのネットワークも当該ユーザに対応付けられていなければ、前記第1の対応情報で当該ユーザに対応付けられたグループを特定し、前記第2の対応情報で当該グループに対応付けられたネットワークを、当該ユーザが利用可能なネットワークとして特定する、請求項1に記載の情報処理システム。
【請求項6】
前記1又は複数のプロセッサは、
前記ユーザによる自システムの利用要求に応じて、前記複数のネットワークのうちの何れのネットワークも当該ユーザに対応付けられていなければ、予め定められたネットワークを、当該ユーザが利用可能なネットワークとして特定する、請求項1に記載の情報処理システム。
【請求項7】
前記1又は複数のプロセッサは、
前記ユーザによる自システムの利用要求に応じて、前記複数のネットワークのうちの特定のネットワークが当該ユーザに対応付けられていれば、当該特定のネットワークを、当該ユーザが利用可能なネットワークとして特定する、請求項5又は請求項6に記載の情報処理システム。
【請求項8】
前記第1の対応情報は、複数のユーザの各々と複数のグループの各々とを一の対応付け方法で対応付けた一の対応情報であり、
前記第2の対応情報は、複数のグループの各々と前記複数のネットワークの各々とを複数の対応付け方法で対応付けた複数の対応情報から選択された一の対応情報である、請求項1に記載の情報処理システム。
【請求項9】
前記第2の対応情報は、前記複数の対応情報から、前記ユーザによる利用要求を受け付けた情報処理装置に応じて選択された一の対応情報である、請求項8に記載の情報処理システム。
【請求項10】
前記1又は複数のプロセッサは、
前記第2の対応情報の作成要求に応じて、複数のグループと前記複数のネットワークとを対応付けた当該第2の対応情報を作成する、請求項1に記載の情報処理システム。
(【請求項11】以降は省略されています)
発明の詳細な説明
【技術分野】
【0001】
本発明は、情報処理システム及びプログラムに関する。
続きを表示(約 4,100 文字)
【背景技術】
【0002】
特許文献1には、使用者ごとの使用者情報が記憶された記憶手段と、使用しようとする使用者の使用者情報により、使用しようとする通信回線が使用可能か否かを判定する判定手段とを有し、使用者情報は、使用者ごとに設定された使用者識別情報と、使用者識別情報ごとに使用可能な通信回線とが、それぞれ対応付けて記憶されている、通信制御装置が記載されている。
【先行技術文献】
【特許文献】
【0003】
特開2019-22171号公報
【発明の概要】
【発明が解決しようとする課題】
【0004】
ユーザによる自システムの利用要求に応じて、そのユーザが利用可能なネットワークを特定する場合がある。その場合、対応情報でそのユーザに対応付けられたネットワークを、利用可能なネットワークとして特定する構成を採用したとする。しかしながら、このような構成を採用したのでは、多数のユーザとネットワークとの対応付けを変更する際の作業負荷が増大する。
【0005】
本発明の目的は、ユーザによる自システムの利用要求に応じて、そのユーザが利用可能なネットワークを特定することを、多数のユーザとネットワークとの対応付けを変更する際の作業負荷を増大させることなく可能とすることにある。
【課題を解決するための手段】
【0006】
請求項1に記載の発明は、1又は複数のプロセッサを備え、前記1又は複数のプロセッサは、ユーザによる自システムの利用要求に応じて、第1の対応情報で当該ユーザに対応付けられたグループを特定し、前記グループが特定されると、自システムに接続された複数のネットワークのうち、前記第1の対応情報とは切り離された第2の対応情報で当該グループに対応付けられたネットワークを、前記ユーザが利用可能なネットワークとして特定する、情報処理システムである。
請求項2に記載の発明は、前記第1の対応情報は、複数のユーザの各々と複数のグループの各々とを対応付けた対応情報である、請求項1に記載の情報処理システムである。
請求項3に記載の発明は、前記第2の対応情報は、複数のグループの各々と前記複数のネットワークの各々とを対応付けた対応情報である、請求項1に記載の情報処理システムである。
請求項4に記載の発明は、前記グループは、複数のユーザの各々に割り当てられた役割によって当該複数のユーザを分けることで得られたユーザの集合である、請求項1に記載の情報処理システムである。
請求項5に記載の発明は、前記1又は複数のプロセッサは、前記ユーザによる自システムの利用要求に応じて、前記複数のネットワークのうちの何れのネットワークも当該ユーザに対応付けられていなければ、前記第1の対応情報で当該ユーザに対応付けられたグループを特定し、前記第2の対応情報で当該グループに対応付けられたネットワークを、当該ユーザが利用可能なネットワークとして特定する、請求項1に記載の情報処理システムである。
請求項6に記載の発明は、前記1又は複数のプロセッサは、前記ユーザによる自システムの利用要求に応じて、前記複数のネットワークのうちの何れのネットワークも当該ユーザに対応付けられていなければ、予め定められたネットワークを、当該ユーザが利用可能なネットワークとして特定する、請求項1に記載の情報処理システムである。
請求項7に記載の発明は、前記1又は複数のプロセッサは、前記ユーザによる自システムの利用要求に応じて、前記複数のネットワークのうちの特定のネットワークが当該ユーザに対応付けられていれば、当該特定のネットワークを、当該ユーザが利用可能なネットワークとして特定する、請求項5又は請求項6に記載の情報処理システムである。
請求項8に記載の発明は、前記第1の対応情報は、複数のユーザの各々と複数のグループの各々とを一の対応付け方法で対応付けた一の対応情報であり、前記第2の対応情報は、複数のグループの各々と前記複数のネットワークの各々とを複数の対応付け方法で対応付けた複数の対応情報から選択された一の対応情報である、請求項1に記載の情報処理システムである。
請求項9に記載の発明は、前記第2の対応情報は、前記複数の対応情報から、前記ユーザによる利用要求を受け付けた情報処理装置に応じて選択された一の対応情報である、請求項8に記載の情報処理システムである。
請求項10に記載の発明は、前記1又は複数のプロセッサは、前記第2の対応情報の作成要求に応じて、複数のグループと前記複数のネットワークとを対応付けた当該第2の対応情報を作成する、請求項1に記載の情報処理システムである。
請求項11に記載の発明は、コンピュータに、ユーザによる自システムの利用要求に応じて、第1の対応情報で当該ユーザに対応付けられたグループを特定する機能と、前記グループが特定されると、自システムに接続された複数のネットワークのうち、前記第1の対応情報とは切り離された第2の対応情報で当該グループに対応付けられたネットワークを、前記ユーザが利用可能なネットワークとして特定する機能と、を実現させるためのプログラムである。
【発明の効果】
【0007】
請求項1の発明によれば、ユーザによる自システムの利用要求に応じて、そのユーザが利用可能なネットワークを特定することが、多数のユーザとネットワークとの対応付けを変更する際の作業負荷を増大させることなく可能となる。
請求項2の発明によれば、ユーザが利用可能なネットワークを特定する際に、複数のユーザの各々と複数のグループの各々とを対応付けた対応情報でそのユーザに対応付けられたグループを特定することができる。
請求項3の発明によれば、ユーザが利用可能なネットワークを特定する際に、複数のグループの各々と前記複数のネットワークの各々とを対応付けた対応情報でグループに対応付けられたネットワークを特定することができる。
請求項4の発明によれば、ユーザが利用可能なネットワークを特定する際に、複数のユーザの各々に割り当てられた役割によって複数のユーザを分けることで得られたユーザの集合を特定することができる。
請求項5の発明によれば、何れのネットワークもユーザに対応付けられていない場合であっても、そのユーザのグループに対応付けられたネットワークを、そのユーザが利用可能なネットワークとして特定することができる。
請求項6の発明によれば、何れのネットワークもユーザに対応付けられていない場合であっても、予め定められたネットワークを、そのユーザが利用可能なネットワークとして特定することができる。
請求項7の発明によれば、特定のネットワークがユーザに対応付けられている場合に、その特定のネットワークを、そのユーザが利用可能なネットワークとして特定することができる。
請求項8の発明によれば、ユーザが利用可能なネットワークを特定する際に、複数のグループの各々と複数のネットワークの各々とを複数の対応付け方法で対応付けた複数の対応情報から選択された一の対応情報でグループに対応付けられたネットワークを特定することができる。
請求項9の発明によれば、ユーザが利用可能なネットワークを特定する際に、情報処理装置に応じて選択された一の対応情報でグループに対応付けられたネットワークを特定することができる。
請求項10の発明によれば、グループとネットワークとの対応情報を、作成要求に応じて作成することができる。
請求項11の発明によれば、ユーザによる自システムの利用要求に応じて、そのユーザが利用可能なネットワークを特定することが、多数のユーザとネットワークとの対応付けを変更する際の作業負荷を増大させることなく可能となる。
【図面の簡単な説明】
【0008】
第1の実施の形態における画像処理システムの全体構成例を示す図である。
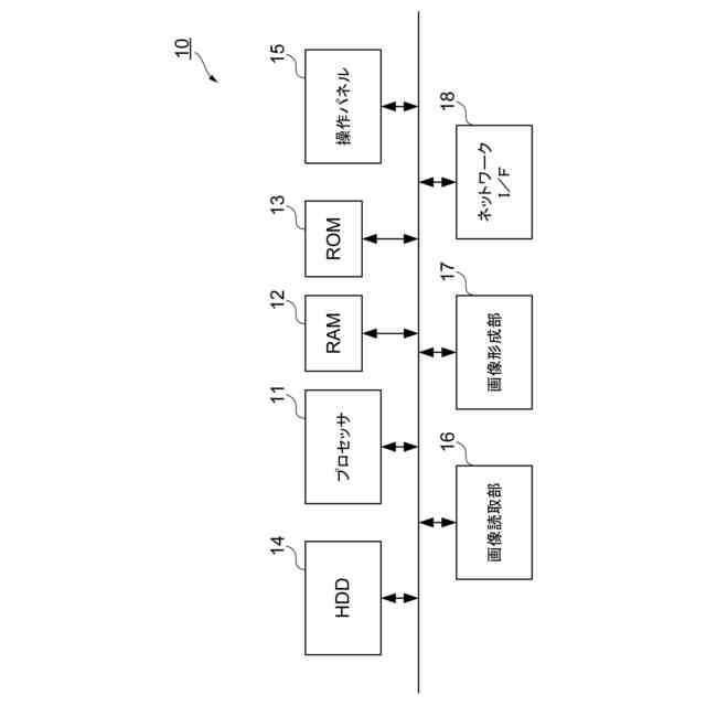
第1の実施の形態における画像処理装置のハードウェア構成例を示す図である。
ロールの例について模式的に示す図である。
図3のようなロールが設定されている場合のユーザ情報の一例を示す図である。
ロールと利用可能ネットワークとのマッチングの例について模式的に示す図である。
図5のようなロールと利用可能ネットワークとのマッチングを表すマッチングテーブルの一例を示す図である。
ユーザの利用可能ネットワークの判断の例について模式的に示す図である。
第1の実施の形態における画像処理装置の機能構成例を示すブロック図である。
第1の態様の画像処理装置の動作例を示すフローチャートである。
第2の態様の画像処理装置の動作例を示すフローチャートである。
第3の態様の画像処理装置の動作例を示すフローチャートである。
第2の実施の形態における画像処理システムの全体構成例を示す図である。
第2の実施の形態における画像処理システムの具体例を示す図である。
【発明を実施するための形態】
【0009】
以下、添付図面を参照して、本実施の形態について詳細に説明する。
【0010】
[本実施の形態の概要]
本実施の形態は、ユーザによる自システムの利用要求に応じて、第1の対応情報でユーザに対応付けられたグループを特定し、グループが特定されると、自システムに接続された複数のネットワークのうち、第1の対応情報とは切り離された第2の対応情報でグループに対応付けられたネットワークを、ユーザが利用可能なネットワークとして特定する、情報処理システムを提供する。
(【0011】以降は省略されています)
この特許をJ-PlatPat(特許庁公式サイト)で参照する
関連特許
個人
イヤーピース
23日前
個人
イヤーマフ
1か月前
個人
監視カメラシステム
1か月前
キーコム株式会社
光伝送線路
1か月前
個人
スイッチシステム
1か月前
WHISMR合同会社
収音装置
2か月前
サクサ株式会社
中継装置
1か月前
個人
スキャン式車載用撮像装置
1か月前
サクサ株式会社
中継装置
1か月前
アイホン株式会社
電気機器
2か月前
キヤノン株式会社
撮像装置
2日前
キヤノン株式会社
撮像装置
3か月前
株式会社リコー
画像形成装置
3か月前
キヤノン電子株式会社
画像読取装置
2か月前
サクサ株式会社
無線通信装置
1か月前
サクサ株式会社
無線通信装置
1か月前
株式会社リコー
画像形成装置
3か月前
サクサ株式会社
無線システム
1か月前
個人
ワイヤレスイヤホン対応耳掛け
2か月前
ヤマハ株式会社
放音制御装置
1か月前
個人
映像表示装置、及びARグラス
1か月前
株式会社リコー
画像形成装置
1か月前
キヤノン電子株式会社
画像読取装置
1か月前
キヤノン電子株式会社
画像読取装置
23日前
キヤノン電子株式会社
画像読取装置
1か月前
キヤノン株式会社
画像処理装置
26日前
キヤノン電子株式会社
シート搬送装置
23日前
キヤノン株式会社
撮像システム
2か月前
キヤノン株式会社
情報処理装置
10日前
日本電気株式会社
海底分岐装置
1か月前
個人
発信機及び発信方法
1か月前
キヤノン電子株式会社
画像処理システム
1か月前
シャープ株式会社
表示装置
23日前
有限会社フィデリックス
マイクロフォン
1か月前
株式会社NTTドコモ
端末
1か月前
国立大学法人電気通信大学
小型光学装置
3か月前
続きを見る
他の特許を見る