TOP
|
特許
|
意匠
|
商標
特許ウォッチ
Twitter
他の特許を見る
公開番号
2025174134
公報種別
公開特許公報(A)
公開日
2025-11-28
出願番号
2024080228
出願日
2024-05-16
発明の名称
流入量予測方法及び流入量予測装置
出願人
水ing株式会社
代理人
個人
,
個人
主分類
E03F
1/00 20060101AFI20251120BHJP(上水;下水)
要約
【課題】下水処理場への下水流入量を簡易に精度よく予測できる流入量予測方法を提供する。
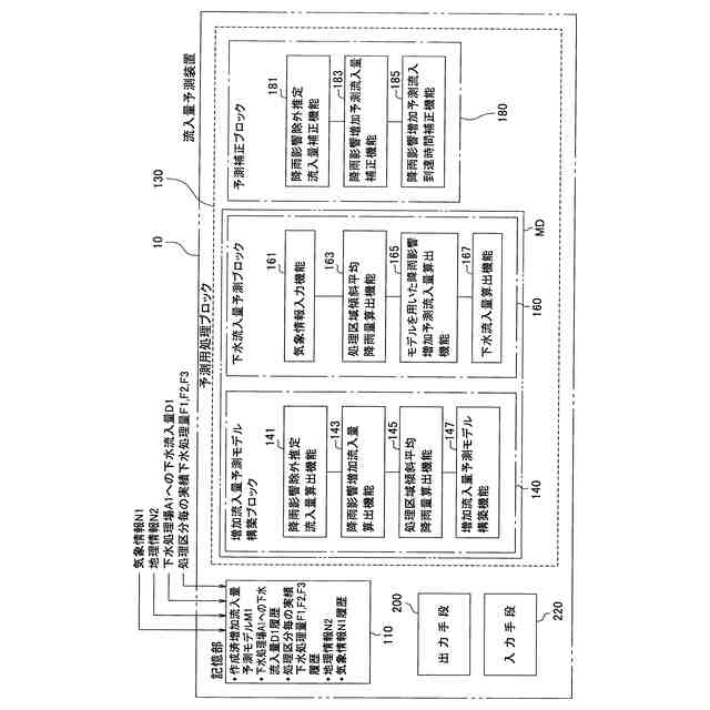
【解決手段】下水処理場への下水流入量D1から降雨影響除外推定流入量D2を求め、下水流入量D1と降雨影響除外推定流入量D2の差から降雨影響増加流入量D3を求める。処理区域C1を分割した各処理区分C11~15の下水の実績下水処理量F1~3を求め、各実績下水処理量に応じて各処理区分で降った処理区分平均降雨量を傾斜平均化した下水処理量補正平均降雨量r1~3を求める。各下水処理量補正平均降雨量同士を加算して処理区域C1の処理区域傾斜平均降雨量H1を求める。処理区域傾斜平均降雨量から降雨影響増加流入量を降雨影響増加予測流入量D4として再現する増加流入量予測モデルM1を構築する。降雨量から処理区域傾斜平均降雨量を求め、モデルM1を用いて降雨影響増加予測流入量を求め、降雨影響除外推定流入量を加算して予測下水流入量とする。
【選択図】図1
特許請求の範囲
【請求項1】
処理区域から水処理施設に集められる下水の下水流入量を予測する流入量予測方法において、
予め、
前記処理区域における降雨の影響が無いときの前記水処理施設への下水流入量から降雨影響除外推定流入量を求め、
且つ、降雨時の前記水処理施設への下水流入量と前記降雨影響除外推定流入量との差から降雨影響増加流入量を求め、
前記処理区域を分割した複数の処理区分それぞれにおいて集められる下水の実績下水処理量を求め、当該処理区分毎の実績下水処理量に応じて各処理区分で降った処理区分平均降雨量を傾斜平均化した各処理区分毎の下水処理量補正平均降雨量を求めてこれら各下水処理量補正平均降雨量同士を加算することで処理区域全体の処理区域傾斜平均降雨量を求め、
当該処理区域傾斜平均降雨量から、前記降雨影響増加流入量を、降雨影響増加予測流入量として再現する増加流入量予測モデルを構築しておき、
次に、
気象情報として入力した降雨量から処理区域傾斜平均降雨量を求め、当該処理区域傾斜平均降雨量から前記増加流入量予測モデルを用いて降雨影響増加予測流入量を求め、
求めた当該降雨影響増加予測流入量に前記降雨影響除外推定流入量を加算することにより、前記水処理施設への下水流入量を予測する
ことを特徴とする流入量予測方法。
続きを表示(約 1,100 文字)
【請求項2】
請求項1に記載の流入量予測方法であって、
降雨の影響が無いときの前記水処理施設への実際の下水流入量が、予め求めた前記降雨影響除外推定流入量に比べて経時的に増減した場合は、前記降雨影響除外推定流入量を再度取得し直すこと無く、前記降雨影響除外推定流入量を前記増減に合わせて増減する補正を行うことを特徴とする流入量予測方法。
【請求項3】
請求項1に記載の流入量予測方法であって、
実際の前記降雨影響増加流入量が、前記増加流入量予測モデルを用いて求めた降雨影響増加予測流入量に比べて経時的に増減した場合は、前記増加流入量予測モデルを変更すること無く、前記増加流入量予測モデルを用いて求めた降雨影響増加予測流入量を前記増減に合わせて増減する補正を行うことを特徴とする流入量予測方法。
【請求項4】
請求項1に記載の流入量予測方法であって、
実際の前記降雨影響増加流入量が、前記増加流入量予測モデルを用いて求めた降雨影響増加予測流入量に比べて、降雨の影響が前記水処理施設へ到達する到達時間の経時的な変動によって変化した場合は、前記増加流入量予測モデルを変更すること無く、前記増加流入量予測モデルを用いて求めた降雨影響増加予測流入量を前記到達時間の変動に合わせて補正することを特徴とする流入量予測方法。
【請求項5】
処理区域から水処理施設に集められる下水の下水流入量を予測する流入量予測装置において、
前記処理区域における降雨の影響が無いときの前記水処理施設への下水流入量から降雨影響除外推定流入量を求める手段と、
降雨時の前記水処理施設への下水流入量と前記降雨影響除外推定流入量との差から降雨影響増加流入量を求める手段と、
前記処理区域を分割した複数の処理区分それぞれにおいて集められる下水の実績下水処理量を求め、当該処理区分毎の実績下水処理量に応じて各処理区分で降った処理区分平均降雨量を傾斜平均化した各処理区分毎の下水処理量補正平均降雨量を求めてこれら各下水処理量補正平均降雨量同士を加算することで処理区域全体の処理区域傾斜平均降雨量を求める手段と、
当該処理区域傾斜平均降雨量から、前記降雨影響増加流入量を、降雨影響増加予測流入量として再現する増加流入量予測モデルを構築する手段と、
気象情報として入力した降雨量から処理区域傾斜平均降雨量を求め、当該処理区域傾斜平均降雨量から前記増加流入量予測モデルを用いて降雨影響増加予測流入量を求める手段と、
求めた当該降雨影響増加予測流入量に前記降雨影響除外推定流入量を加算することにより、前記水処理施設への下水流入量を予測する手段と、
を有することを特徴とする流入量予測装置。
発明の詳細な説明
【技術分野】
【0001】
本発明は、ポンプ場、下水処理場内のポンプ棟、あるいはポンプ棟を有さない下水処理場等の水処理施設に流入してくる下水の流入量を予測する流入量予測方法及び流入量予測装置に関するものである。
続きを表示(約 2,500 文字)
【背景技術】
【0002】
従来、ポンプ場、下水処理場内のポンプ棟、あるいはポンプ棟を有さない下水処理場等の水処理施設に流入してくる下水の流入量を予測することは、当該水処理施設の適切な運転方法による処理水質の安定化、雨天時における維持管理の適切な人員配置計画、水処理施設内外における溢水の未然防止等において重要である。
【0003】
水処理施設に流入する下水流入量の予測を行う方法として、特許文献1には、非降雨日の平均変動パターンを作成し、流入下水量から平均変動パターンを差し引いた残渣データ(降雨のみの下水流入量データ)を作成し、残渣部分のデータと降雨強度との関係を統計モデルのシステム変数として作成し、これを用いて降雨日流入量の予測値を演算し、平均変動パターンと降雨日流入量の予測値との和によって流入下水量を予測する方法が開示されている。
【0004】
また特許文献2には、雨水レーダの観測メッシュを選択などすることで流入量予測モデルを作成し、当該流入量予測モデルを用いて気象情報を受け取り、雨水流入量を予測する方法であって、ユーザは流入量予測値の計算結果を見ながら、流入量予測値の波形を調整したり、流下時間を調整したりすることが開示されている。
【先行技術文献】
【特許文献】
【0005】
特開2000-345604号公報
特開2007-255114号公報
【発明の概要】
【発明が解決しようとする課題】
【0006】
ところで、ポンプ場などの水処理施設が担当する処理区域は広く、このため処理区域内の降雨状態は各地域で異なるばかりか、各地域での降雨量が水処理施設における下水流入量に与える影響も同一ではない。
【0007】
しかし特許文献1、特許文献2においては、水処理施設が担当する処理区域(対象流域)内の各地域での降雨量が水処理施設における下水流入量に与える影響度合いを的確な方法で考慮しているとは言えず、水処理施設に流入する下水流入量を簡易な方法でより正確に予測することは困難であった。
【0008】
本発明は上述の点に鑑みてなされたものでありその目的は、水処理施設に流入する下水流入量の予測を、簡易な方法で安価且つ精度よく行うことができる流入量予測方法及び流入量予測装置を提供することにある。
【課題を解決するための手段】
【0009】
本発明は、処理区域から水処理施設に集められる下水の下水流入量を予測する流入量予測方法において、予め、前記処理区域における降雨の影響が無いときの前記水処理施設への下水流入量から降雨影響除外推定流入量を求め、且つ、降雨時の前記水処理施設への下水流入量と前記降雨影響除外推定流入量との差から降雨影響増加流入量を求め、前記処理区域を分割した複数の処理区分それぞれにおいて集められる下水の実績下水処理量を求め、当該処理区分毎の実績下水処理量に応じて各処理区分で降った処理区分平均降雨量を傾斜平均化した各処理区分毎の下水処理量補正平均降雨量を求めてこれら各下水処理量補正平均降雨量同士を加算することで処理区域全体の処理区域傾斜平均降雨量を求め、当該処理区域傾斜平均降雨量から、前記降雨影響増加流入量を、降雨影響増加予測流入量として再現する増加流入量予測モデルを構築しておき、次に、気象情報として入力した降雨量から処理区域傾斜平均降雨量を求め、当該処理区域傾斜平均降雨量から前記増加流入量予測モデルを用いて降雨影響増加予測流入量を求め、求めた当該降雨影響増加予測流入量に前記降雨影響除外推定流入量を加算することにより、前記水処理施設への下水流入量を予測することを特徴としている。
ここで前記水処理施設への下水流入量を予測する一連の操作を行う方法(または一連のプログラム)全体を、流入量予測モデルと呼ぶこととする。
本発明によれば、上記流入量予測モデルを用いることで、運用時の下水流入量予測に必要な入力データは気象情報から得られる降雨量のみ、即ち水処理施設のリアルタイムの下水流入量の実測データや機械学習などの複雑な計算手段を用いることなく、極めて簡易に導入及び運用ができ、水処理施設に流入する下水流入量を予測することができる。
また増加流入量予測モデルの構築や当該増加流入量予測モデルに入力する気象情報として処理区域傾斜平均降雨量を用い、これによって処理区分別の下水流入量に与える影響度合いを補正しているので、単に処理区域に降る雨全体の平均降雨量を用いて構築した増加流入量予測モデルによって予測する場合に比べて、より正確な下水流入量の予測を行うことができる。
【0010】
また本発明は、上記特徴に加え、降雨の影響が無いときの前記水処理施設への実際の下水流入量が、予め求めた前記降雨影響除外推定流入量に比べて経時的に増減した場合は、前記降雨影響除外推定流入量を再度取得し直すこと無く、前記降雨影響除外推定流入量を前記増減に合わせて増減する補正を行うことを特徴としている。
下水流入量を予測する前記流入量予測モデルに用いる降雨影響除外推定流入量は、過去のデータに基づいているため、処理区域の水の使用状況や、管渠施設の状態変化などに伴って変化し、これによって前記流入量予測モデルを用いて予測した下水流入量の予測値が実測値から乖離していく可能性がある。
本発明によれば、実測値と予測値の乖離が降雨影響除外推定流入量の変化に伴って大きくなったような場合でも、新たに取得したデータ(降雨影響除外推定流入量)を過去データとして流入量予測モデルを作成しなおすこと無く、当該流入量予測モデルを用いて求めた水処理施設への下水流入量の予測値自体を補正することにより、長期間に渡って精度の高い下水流入量の予測を行うことができる。
(【0011】以降は省略されています)
この特許をJ-PlatPat(特許庁公式サイト)で参照する
関連特許
水ing株式会社
廃溶液の処理方法
1か月前
水ing株式会社
流入量予測方法及び流入量予測装置
2日前
水ing株式会社
有機性廃水の処理装置及び高分子凝集剤
12日前
水ing株式会社
浄水用フロック形成装置及びその運転方法
10日前
丸一株式会社
排水配管部材
11日前
一文機工株式会社
トイレ装置
16日前
TOTO株式会社
トイレ装置
1か月前
株式会社田中設備
蓋体
1か月前
個人
ドクター中まミズつクル
2か月前
TOTO株式会社
排水システム
1か月前
TOTO株式会社
排水システム
1か月前
株式会社タカギ
水栓装置
5か月前
株式会社KVK
水栓
3か月前
TOTO株式会社
便座装置
2か月前
タイガースポリマー株式会社
側溝
2か月前
株式会社KVK
水栓
3か月前
株式会社KVK
水栓
3か月前
ミサワホーム株式会社
外構
1か月前
株式会社KVK
水栓
1か月前
TOTO株式会社
トイレ装置
2か月前
TOTO株式会社
トイレ装置
2か月前
TOTO株式会社
トイレ装置
2か月前
株式会社タカギ
水栓装置
4か月前
ホーコス株式会社
床置型グリース阻集器
2か月前
TOTO株式会社
洗面器及び洗面台
3か月前
TOTO株式会社
洗面器及び洗面台
3か月前
クリナップ株式会社
キッチン
1か月前
TOTO株式会社
浴室床
3か月前
株式会社Deto
吐水器
1か月前
TOTO株式会社
洗い場床
4か月前
三興建設株式会社
下水道バイパス装置
3か月前
TOTO株式会社
トイレ装置
4か月前
TOTO株式会社
トイレ装置
4か月前
共立製薬株式会社
小便器用排水システム
10日前
TOTO株式会社
排水管継手
3か月前
TOTO株式会社
排水管継手
3か月前
続きを見る
他の特許を見る