TOP
|
特許
|
意匠
|
商標
特許ウォッチ
Twitter
他の特許を見る
10個以上の画像は省略されています。
公開番号
2025172860
公報種別
公開特許公報(A)
公開日
2025-11-26
出願番号
2025141568,2024032159
出願日
2025-08-27,2018-11-16
発明の名称
複数のケア環境にわたる継続したケアの提供
出願人
ブルーイン、バイオメトリクス、リミテッド、ライアビリティー、カンパニー
,
BRUIN BIOMETRICS, LLC
代理人
個人
,
個人
,
個人
主分類
G06Q
50/22 20240101AFI20251118BHJP(計算;計数)
要約
【課題】患者が複数の環境においてケアを受ける場合に、患者の情報、特に褥瘡性潰瘍を発症するリスクに関連する情報を転送及び取り扱うことでケアを改善する方法を提供する。
【解決手段】方法は、患者を第一のケア環境から第二のケア環境に転所することを決定するステップと、第一のケア環境において患者の第一の評価を実行するステップと、評価についての転所記録を作成するステップと、転所記録を患者と一緒に第二のケア環境に転送するステップと、を含む。
【選択図】図1
特許請求の範囲
【請求項1】
ケア環境間を転所する間、患者に対して継続したケアを提供する方法であって、
患者を第一のケア環境から第二のケア環境に転所することを決定するステップと、
第一のケア環境において患者の第一の評価を実行するステップと、
当該評価についての転所記録を作成するステップと、
前記転所記録を患者と一緒に第二のケア環境に転送するステップと、を含む方法。
続きを表示(約 1,100 文字)
【請求項2】
前記第一の評価は、前記患者の少なくとも1つの身体の場所の表皮下水分(SEM)スキャンを実行することを含む、請求項1記載の方法。
【請求項3】
SEMスキャンは、前記身体の場所におけるSEM値の複数の測定と、複数のSEM値からデルタ値を算出することとを含む、請求項2記載の方法。
【請求項4】
前記第一のケア環境にいる間に、異なる時に前記患者の複数のSEMスキャンを実行するステップと、
各SEMスキャンのそれぞれからのデルタ値を記録するステップとをさらに含むものであって、前記患者を転所する決定は、前記第一のケア環境にいる間に記録された前記デルタ値に一部基づく、請求項3記載の方法。
【請求項5】
前記転所記録は、前記第一のケア環境にいる間に異なる時に行った、前記患者の前記複数のSEMスキャンの一部からの前記デルタ値を含む、請求項4記載の方法。
【請求項6】
SEMスキャンは、モニタリングのために特定された身体の場所全てにおいて実行される、請求項2記載の方法。
【請求項7】
前記第一の評価は、前記患者のリスク評価、前記患者の前記少なくとも1つの身体の場所の目視皮膚評価、及び前記少なくとも1つの身体の場所の画像のうちの少なくとも1つを含む、請求項1記載の方法。
【請求項8】
前記転所記録は、トランザクションの種類、トランザクションの日付/時刻、「転所先」の場所、及び「転所元」の場所のうちの少なくとも1つを含む、請求項1記載の方法。
【請求項9】
前記第一のケア環境にいる間に、前記患者の少なくとも1つの身体の場所の第一のSEMスキャンを実行するものであって、該第一のSEMスキャンは、前記身体の場所におけるSEM値の複数の測定と、当該複数のSEM値から第一のデルタ値を算出することとを含むものである、前記第一のSEMスキャンを実行するステップと、
前記第一のデルタ値を含む第一のデータ記録を作成するステップと、
データベースに前記第一のデータ記録を報告するステップと、
前記データベースに前記転所記録を報告するステップとをさらに含む、請求項1記載の方法。
【請求項10】
前記第一のデータ記録は、患者の識別名と、前記第一のSEMスキャンを実行したときの第一の日付/時刻とを含み、
また前記転所記録は、前記患者の識別名と、前記第一の評価を実行したときの第二の日付/時刻とを含む、請求項9記載の方法。
(【請求項11】以降は省略されています)
発明の詳細な説明
【技術分野】
【0001】
関連特許出願への相互参照
本願は、2017年11月16日出願の米国仮特許出願第62/587,337号及び2018年7月3日出願の米国仮特許出願第62/693,810号の利益を請求する。
これら出願の全体的な内容は参照により本明細書に援用する。
続きを表示(約 3,000 文字)
【0002】
本開示は、患者が複数の環境においてケアを受ける場合に、患者の情報、特に褥瘡性潰瘍を発症するリスクに関連する情報、を転送及び取り扱うことでケアを改善する方法を提供する。
【背景技術】
【0003】
皮膚は、人体における最大の器官である。様々な種類の損傷及び外傷に容易に晒される。皮膚及びその周囲組織が外圧及び機械的力を再分配することができないと、潰瘍が形成され得る。例えば仰臥位患者の体重により生じた当該患者の背面側の皮膚表面における圧力であるような中程度の圧力に対してでさえも、長引く連続曝露により、褥瘡性潰瘍につながり得る。糖尿病により誘発される可能性がある神経障害及び末梢組織の衰弱等の他の損傷の存在下では、中程度の圧力及び応力に対する周期的な曝露に対してでさえも、潰瘍、例えば足部潰瘍につながり得る。
【0004】
褥瘡性潰瘍は、米国では年間およそ250万人が、EUでは同等の人数が、発症している。長期の救急環境では、高齢で不動の患者の最大25%が、褥瘡性潰瘍を発症している。褥瘡性潰瘍からの感染症及び他の合併症が原因で、年間、米国のおよそ60,000人の患者が亡くなっている。
【0005】
患者にとってのみならず社会にとって、皮膚が崩壊する前に組織損傷を検出して適切な治療法を介入することで、下層組織のさらなる悪化を回避することが望ましい。圧力誘発性の損傷を処置するための平均費用は、最も早期の視認できる徴候(ステージ1の潰瘍)では2,000ドルに過ぎないが、潰瘍が筋肉又は骨を露出するのに十分なほど深くなると(ステージ4の潰瘍)、これが129,000ドルに上昇する。現在のところ、患者は通常、褥瘡性潰瘍の汎用予防を受けるが、これは当該予防が任意の特定の解剖学的部位を狙ったものではないことを意味する。患者は、褥瘡性潰瘍が目視評価によって特定可能である点に達した後になってようやく、潰瘍の狙った局所的な処置を受ける。褥瘡性潰瘍を検出するための現在の標準は目視検査によるが、これは主観的であり、信頼性が低く、時期を得ず、かつ、特異度が低い。したがって、患者は皮膚の炎症、潰瘍の発症の徴候を抱えていたとしても、該患者は、発症中の潰瘍に対して狙った局所的な処置を受けることとはならない。代わりに、炎症が継続して本格的な潰瘍を発症することとなる。
【0006】
現在の実務においては、あるケア環境に到着した時に、患者の褥瘡性潰瘍を発症するリスクについて独立に評価が行われる。このように前のケア環境からの知識が不足することで、新しいケア環境で受けられるケアの質が低下し得る。
【発明の概要】
【0007】
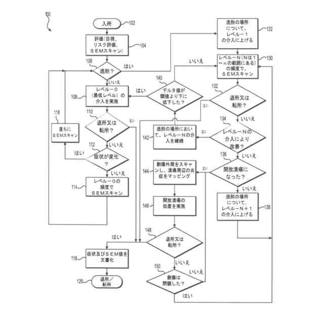
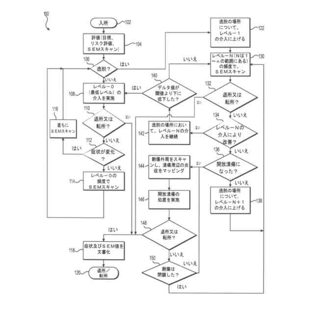
一態様においては、本開示は、複数の表皮下水分(SEM)測定に基づいて、患者に対して適切なレベルの褥瘡性潰瘍のケアを特定及び提供する方法を、提供し、且つ含む。ある態様においては、患者は、SEM測定における変化に基づいて、褥瘡性潰瘍の次第に高くなっていく効果的な介入がもたらされる。ある態様においては、患者は、SEM測定における変化に基づいて、褥瘡性潰瘍に低強度の介入がなされる。
【0008】
ケア環境間を転所する間、患者に対して継続したケアを提供する方法であって、患者を第一のケア環境から第二のケア環境に転所することを決定するステップと、第一のケア環境において患者の第一の評価を実行するステップと、当該評価についての転所記録を作成するステップと、転所記録を患者と一緒に第二のケア環境に転送するステップと、を含む方法。
【0009】
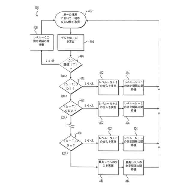
ある態様においては、本開示は、褥瘡性潰瘍の処置を必要とする患者を特定及び処置する方法であって、介護施設への入所時に患者の褥瘡性潰瘍のリスクについて患者を評価するステップであって、当該患者の第一の複数の表皮下水分(SEM)測定を行うことを含む上記評価するステップと、第一の複数のSEM測定の一部から第一のデルタ値を算出するステップと、第一のデルタ値が第一の閾値を超えるか否かを判断するステップと、第一のデルタ値が第一の閾値を超えていなければレベル-0の第一の介入を施与するステップと、第一のデルタ値が第一の閾値を超えていればレベル-Nの第一の介入を施与するステップとを含むものであって、ここでNはある整数であり、またNは1以上の値を有するものである、上記方法を、提供し、且つ含む。さらなる態様においては、本開示は、施与される介入レベルに対応する第一の予め決定された頻度で、患者に第二の複数のSEM測定を行うことと、第二の複数のSEM測定の一部から第二のデルタ値を算出することと、第二のデルタ値が第二の閾値を超えるか否かを判断することと、第二のデルタ値が第二の閾値を超えていなければ第一の介入の施与を継続することと、第二のデルタ値が第二の閾値を超えていなければ第一の予め決定された頻度で複数のSEM測定を行うことを継続することと、第二のデルタ値が第二の閾値を超えていればレベル-Mの第二の介入を施与することであって、Mはある整数であり、またMはNより大きいものである、上記レベル-Mの第二の介入を施与することと、第二のデルタ値が第二の閾値を超えていればレベル-Mに対応する第二の予め決定された頻度で複数のSEM測定を行うこととを、提供し、且つ含む。またさらなる態様においては、本開示は、第二のデルタ値が第三の閾値未満であるか否かを判断することと、第二のデルタ値が第三の閾値未満であれば、かつ、第一の介入がレベル-0のものでなければ、レベル-(N-1)の介入を施与することと、第二のデルタ値が第三の閾値未満であればレベル-(N-1)に対応する予め決定された頻度で複数のSEM測定を行うこととを、提供し、且つ含む。
【0010】
一態様においては、本開示は、これを必要とする患者において褥瘡性潰瘍の発症の進行を遅らせる方法であって、患者が受けたレベル-Kの現在の介入を特定するステップと、患者の複数の表皮下水分(SEM)測定を行うステップと、複数のSEM測定の一部からデルタ値を算出するステップと、デルタ値が第一の閾値を超えるか否かを判断するステップと、デルタ値が第一の閾値を超えていなければ現在の介入の施与を継続するステップと、デルタ値が第一の閾値を超えていなければレベル-Kに対応する予め決定された頻度で複数のSEM測定を行うことを継続するステップと、デルタ値が第一の閾値を超えていればレベル-Nの新規介入を施与するステップであって、NはKより大きい値を有するものである、上記レベル-Nの新規介入を施与するステップと、デルタ値が第一の閾値を超えていればレベル-Nに対応する予め決定された頻度で複数のSEM測定を行うステップとを含む方法を、提供し、且つ含む。さらなる態様においては、本開示は、デルタ値が第二の閾値未満であるか否かを判断することと、デルタ値が第二の閾値未満であればレベル-Lの介入を施与することであって、LはK未満のマイナスでない値を有するものである、上記レベル-Lの介入を施与することと、デルタ値が第二の閾値未満であればレベル-Lに対応する予め決定された頻度で複数のSEM測定を行うこととを、提供し、且つ含む。
(【0011】以降は省略されています)
この特許をJ-PlatPat(特許庁公式サイト)で参照する
関連特許
個人
詐欺保険
1か月前
個人
縁伊達ポイン
1か月前
個人
職業自動販売機
13日前
個人
5掛けポイント
20日前
個人
RFタグシート
1か月前
個人
QRコードの彩色
1か月前
個人
ペルソナ認証方式
28日前
個人
地球保全システム
1か月前
個人
自動調理装置
1か月前
個人
情報処理装置
23日前
個人
農作物用途分配システム
1か月前
個人
残土処理システム
1か月前
個人
表変換編集支援システム
2か月前
個人
タッチパネル操作指代替具
1か月前
個人
インターネットの利用構造
27日前
個人
知的財産出願支援システム
1か月前
個人
サービス情報提供システム
15日前
個人
スケジュール調整プログラム
1か月前
個人
行動時間管理システム
2か月前
個人
携帯端末障害問合せシステム
1か月前
個人
パスワード管理支援システム
2か月前
個人
システム及びプログラム
2か月前
株式会社キーエンス
受発注システム
1か月前
個人
エリアガイドナビAIシステム
28日前
株式会社キーエンス
受発注システム
1か月前
個人
AIキャラクター制御システム
2か月前
個人
食品レシピ生成システム
1か月前
株式会社キーエンス
受発注システム
1か月前
個人
海外支援型農作物活用システム
2か月前
キヤノン株式会社
表示システム
1か月前
株式会社ケアコム
項目選択装置
23日前
株式会社ケアコム
項目選択装置
23日前
個人
未来型家系図構築システム
2か月前
株式会社ワコム
電子ペン
22日前
株式会社ワコム
電子ペン
22日前
エッグス株式会社
情報処理装置
1か月前
続きを見る
他の特許を見る