TOP
|
特許
|
意匠
|
商標
特許ウォッチ
Twitter
他の特許を見る
公開番号
2025172166
公報種別
公開特許公報(A)
公開日
2025-11-20
出願番号
2025153137,2022536994
出願日
2025-09-16,2020-12-30
発明の名称
自動車用マイクロホンシステムの、整合され、等化されたマイクロホン出力
出願人
ハーマン ベッカー オートモーティブ システムズ ゲーエムベーハー
代理人
個人
,
個人
主分類
H04R
3/00 20060101AFI20251113BHJP(電気通信技術)
要約
【課題】好適な自動車用マイクロホンシステムの、整合され、等化されたマイクロホン出力を提供すること。
【解決手段】車両マイクロホンシステムは、マイクロホンアレイを形成する少なくとも2つのマイクロホンと、音声信号を発するように構成された少なくとも1つのラウドスピーカと、メモリに結合され、マイクロホンアレイから着信音声信号を受信し、マイクロホンアレイのチャネルごとに少なくとも1つのパラメータを決定し、各チャネルのパラメータ間の差に基づいて、少なくとも1つのチャネルに適用するための少なくとも1つのフィルタを決定し、メモリに少なくとも1つのフィルタを記憶するようにプログラムされたプロセッサとを含み得る。
【選択図】図6
特許請求の範囲
【請求項1】
本明細書に記載の発明。
発明の詳細な説明
【技術分野】
【0001】
関連出願の相互参照
本願は、その開示がその全体で参照することにより本明細書に組み込まれる、2019年12月30日に出願された米国仮出願第62/955,171号の利益を主張する。
続きを表示(約 3,800 文字)
【0002】
本開示は、自動車用マイクロホンシステムの、整合され、等化されたマイクロホン出力に関する。
【背景技術】
【0003】
車両には、ますます高度なインフォテインメントシステムが組み込まれている。これらのインフォテインメントシステムは、様々なラウドスピーカ、ディスプレイなどを含む。現在の車両キャビンの音響は、ユーザー体験及び音声品質を高めるために様々な信号処理技法を使用している。そのような音声処理は、車載マイクロホンからの入力信号に依存する。
【発明の概要】
【課題を解決するための手段】
【0004】
車両マイクロホンシステムは、マイクロホンアレイを形成する少なくとも2つのマイクロホンと、音声信号を発するように構成された少なくとも1つのラウドスピーカと、メモリに結合され、マイクロホンアレイから着信音声信号を受信し、マイクロホンアレイのチャネルごとに少なくとも1つのパラメータを決定し、各チャネルのパラメータ間の差に基づいて、少なくとも1つのチャネルに適用するための少なくとも1つのフィルタを決定し、メモリに少なくとも1つのフィルタを記憶するようにプログラムされたプロセッサとを含み得る。
【0005】
車両マイクロホンシステム内でマイクロホンパラメータ間の差を減少させるための方法は、車両マイクロホンアレイから着信音声信号を受信することと、マイクロホンアレイのチャネルごとに少なくとも1つのパラメータを決定することと、各チャネルのパラメータ間の差に基づいて、少なくとも1つのチャネルに適用するための少なくとも1つのフィルタを決定することと、メモリに少なくとも1つのメモリを記憶することとを含み得る。
【0006】
車両マイクロホンシステム内でマイクロホンパラメータ間の差を減少させるための命令を含む非一時的なコンピュータ可読媒体は、車両マイクロホンアレイから着信音声信号を受信することと、マイクロホンアレイのチャネルごとに少なくとも1つのパラメータを決定することと、各チャネルのパラメータ間の差に基づいて、少なくとも1つのチャネルに適用するための少なくとも1つのフィルタを決定することと、メモリに少なくとも1つのメモリを記憶することとを含む。
【0007】
本開示の実施形態は、添付の特許請求の範囲の特異点とともに指摘される。しかしながら、様々な実施形態の他の特徴は、以下の詳細な説明を添付の図面と併せて参照することによってより明らかになり、最もよく理解される。
本明細書は、例えば、以下の項目も提供する。
(項目1)
車両マイクロホンシステムであって、
マイクロホンアレイを形成する少なくとも2つのマイクロホンと、
音声信号を発するように構成された少なくとも1つのラウドスピーカと、
メモリに結合され、
前記マイクロホンアレイから着信音声信号を受信し、
前記マイクロホンアレイのチャネルごとに少なくとも1つのパラメータを決定し、
各チャネルの前記少なくとも1つのパラメータ間の差に基づいて、少なくとも1つのチャネルに適用するための少なくとも1つのフィルタを決定し、
前記メモリに前記少なくとも1つのフィルタを記憶する
ようにプログラムされたプロセッサと
を備える、前記車両マイクロホンシステム。
(項目2)
前記少なくとも1つのパラメータが、各チャネルの周波数応答を含む、項目1に記載のシステム。
(項目3)
前記少なくとも1つのパラメータが、各チャネルの位相を含む、項目1に記載のシステム。
(項目4)
前記少なくとも1つのフィルタが、各チャネルの前記少なくとも1つのパラメータ間の差を減少させるために、関連するチャネルの前記少なくとも1つのパラメータを調整するように構成される、項目1に記載のシステム。
(項目5)
前記少なくとも1つのパラメータが、前記関連するチャネルの周波数または位相を含む、項目4に記載のシステム。
(項目6)
前記プロセッサが、前記少なくとも1つのフィルタの適用後に、後続の音声信号の前記少なくとも1つのパラメータを再測定し、前記後続の音声信号の前記少なくとも1つのパラメータと、前記他のチャネルのそれぞれの前記パラメータとの間の前記差に基づいて、前記少なくとも1つのフィルタを調整するようにさらにプログラムされる、項目1に記載のシステム。
(項目7)
前記マイクロホンアレイが複数のデジタルマイクロホンを含む、項目1に記載のシステム。
(項目8)
前記マイクロホンアレイが複数のアナログマイクロホンを含む、項目1に記載のシステム。
(項目9)
車両マイクロホンシステム内でマイクロホンパラメータ間の差を減少させるための方法であって、
車両マイクロホンアレイから着信音声信号を受信することと、
前記マイクロホンアレイのチャネルごとに少なくとも1つのパラメータを決定することと、
各チャネルの前記少なくとも1つのパラメータ間の差に基づいて、前記チャネルの少なくとも1つに適用するための少なくとも1つのフィルタを決定することと、
メモリに前記少なくとも1つのフィルタを記憶することと
を含む、前記方法。
(項目10)
前記少なくとも1つのパラメータが、各チャネルの周波数応答を含む、項目9に記載の方法。
(項目11)
前記少なくとも1つのパラメータが、各チャネルの位相を含む、項目9に記載の方法。
(項目12)
前記少なくとも1つのフィルタが、各チャネルの少なくとも1つのパラメータ間の前記差を減少させるために、関連するチャネルの前記少なくとも1つのパラメータを調整するように構成される、項目9に記載の方法。
(項目13)
前記少なくとも1つのパラメータが、前記関連するチャネルの周波数または位相を含む、項目12に記載の方法。
(項目14)
前記少なくとも1つのフィルタの適用後に、後続の音声信号の前記少なくとも1つのパラメータを再測定し、前記後続の音声信号の前記少なくとも1つのパラメータと、前記他のチャネルのそれぞれの前記パラメータとの間の前記差に基づいて、前記少なくとも1つのフィルタを調整することをさらに含む、項目9に記載の方法。
(項目15)
前記マイクロホンアレイが複数のデジタルマイクロホンを含む、項目9に記載の方法。
(項目16)
前記マイクロホンアレイが複数のアナログマイクロホンを含む、項目9に記載の方法。
(項目17)
車両マイクロホンシステム内でマイクロホンパラメータ間の前記差を減少させるための命令を含む非一時的なコンピュータ可読媒体であって、
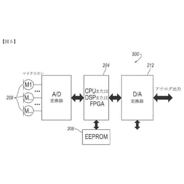
【図面の簡単な説明】
【0008】
自動車用マイクロホンシステムの例示的なブロック図を示す。
マイクロホンシステムの例示的なブロック図を示す。
別のマイクロホンシステムの例示的なブロック図を示す。
別のマイクロホンシステムの例示的なブロック図を示す。
別のマイクロホンシステムの例示的なブロック図を示す。
マイクロホンシステムのプロセスの例示的なフローチャートを示す。
【発明を実施するための形態】
【0009】
必要に応じて、本発明の詳細な実施形態が本明細書中に開示されるが、開示された実施形態は、様々なかつ代替の形式で具現化され得る本発明の単なる例であることが理解されよう。図は必ずしも縮尺通りではなく、一部の特徴は、特定の構成要素の詳細を示すために誇張または最小化され得る。したがって、本明細書に開示される具体的な構造的及び機能的詳細は、限定するものではなく、単に当業者が本発明を様々に採用するのに教示するための代表的な基礎として解釈されたい。
【0010】
マイクロホンアレイは、信号強調及びノイズ抑制におけるその優れた性能により自動車用途でますます普及している。アレイは、車両音声システムに対するユーザーの満足感を生じさせるために使用され得る。例えば、マイクロホンアレイは、ノイズキャンセル機能、指向性音声経験などで役立ち得る。しかしながら、アレイには複数のマイクロホン素子があるため、多くの場合、素子全体でのパラメータの不一致は最適な音響アレイ性能を達成するための懸念事項である。微小電気機械システム(MEMS)のマイクロホン設計による通常のマイクロホン整合は、1kHzで+-1dBである。より高度なアルゴリズムを使用できるためには、素子は、単に1kHzでではなく完全な音声範囲(20Hz~20kHz)でさらによく整合しなければならない。そのような不一致は、音声システム内の特定の音声処理機能の効果を低下させる場合がある。
(【0011】以降は省略されています)
この特許をJ-PlatPat(特許庁公式サイト)で参照する
関連特許
個人
イヤーピース
18日前
個人
イヤーマフ
1か月前
個人
監視カメラシステム
1か月前
キーコム株式会社
光伝送線路
1か月前
個人
スイッチシステム
26日前
WHISMR合同会社
収音装置
2か月前
個人
スキャン式車載用撮像装置
1か月前
サクサ株式会社
中継装置
1か月前
サクサ株式会社
中継装置
1か月前
キヤノン株式会社
撮像装置
3か月前
アイホン株式会社
電気機器
2か月前
キヤノン電子株式会社
画像読取装置
1か月前
株式会社リコー
画像形成装置
2か月前
ヤマハ株式会社
放音制御装置
26日前
キヤノン電子株式会社
画像読取装置
26日前
キヤノン電子株式会社
画像読取装置
2か月前
個人
映像表示装置、及びARグラス
27日前
サクサ株式会社
無線システム
1か月前
株式会社リコー
画像形成装置
1か月前
キヤノン電子株式会社
画像読取装置
18日前
株式会社リコー
画像形成装置
2か月前
サクサ株式会社
無線通信装置
1か月前
個人
ワイヤレスイヤホン対応耳掛け
2か月前
サクサ株式会社
無線通信装置
1か月前
日本電気株式会社
海底分岐装置
1か月前
キヤノン株式会社
画像処理装置
21日前
個人
発信機及び発信方法
1か月前
キヤノン株式会社
撮像システム
2か月前
キヤノン株式会社
情報処理装置
5日前
キヤノン電子株式会社
シート搬送装置
18日前
株式会社NTTドコモ
端末
1か月前
株式会社NTTドコモ
端末
1か月前
株式会社NTTドコモ
端末
1か月前
シャープ株式会社
表示装置
18日前
シャープ株式会社
表示装置
18日前
株式会社NTTドコモ
端末
1か月前
続きを見る
他の特許を見る