TOP
|
特許
|
意匠
|
商標
特許ウォッチ
Twitter
他の特許を見る
10個以上の画像は省略されています。
公開番号
2025172096
公報種別
公開特許公報(A)
公開日
2025-11-20
出願番号
2025143182,2022579741
出願日
2025-08-29,2021-06-23
発明の名称
ロボットアームと外科手術プローブの統合
出願人
プロセプト バイオロボティクス コーポレイション
代理人
個人
,
個人
,
個人
,
個人
,
個人
主分類
A61B
34/30 20160101AFI20251113BHJP(医学または獣医学;衛生学)
要約
【課題】好適なロボットアームと外科手術プローブの統合を提供する。
【解決手段】本開示の実施形態は、プローブを器具デバイスマニピュレータ(例えばロボットアーム)に結合するための改良された方法および装置を提供する。いくつかの実施形態では、ハンドピースによって担持され得るプローブが、ロボットアームのデバイスマニピュレータの端部に結合するよう構成される。変換装置が、プローブに結合し、また、器具デバイスマニピュレータに結合するよう構成されるよう提供され得る。変換装置は、運動入力を器具デバイスマニピュレータから受信し、運動入力をプローブの運動に変換するよう構成され得る。変換装置は、プローブの改良された移動を提供し得る。ハンドピースおよびプローブ上の構成要素の数を減少させることによって、ハンドピースおよびプローブは、滅菌単回使用消耗品デバイスとして提供され得、変換装置は、再使用され得る。
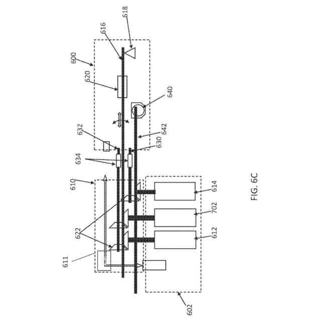
【選択図】図6C
特許請求の範囲
【請求項1】
本明細書に記載の発明。
発明の詳細な説明
【技術分野】
【0001】
(関連出願)
本願は、その開示が参照することによってその全体として本明細書に組み込まれる、2020年7月27日に出願された、米国特許出願第16/940,085号、および2020年6月26日に出願された、米国仮出願第63/044,914号の優先権を主張する。
続きを表示(約 3,600 文字)
【0002】
本願の主題は、その出願の全内容が参照することによって本明細書に組み込まれる、2015年9月4日に出願され、第WO2016/037137号として2016年3月10日に公開された、国際出願第PCT/US2015/048695号、および2020年3月9日に出願され、第WO2020/181290号として2020年9月10日に公開され、「ROBOTIC ARMS AND METHODS FOR TISSUE RESECTION AND IMAGING」と題された、国際出願第PCT/US2020/021756号に関する。
【背景技術】
【0003】
本開示の分野は、エネルギーを用いた組織の治療に関し、より具体的には、そのような治療において使用される外科手術実装に関する。そのような治療を行う以前のアプローチは、手動で制御される、またはある場合には、ロボットアーム等の器具デバイスマニピュレータに取り付けられ得る、1つまたはそれを上回る器具を利用する。
【0004】
本開示に関連する研究は、以前の治療デバイスのうちの少なくともいくつかが、ロボットアームと結合するために準理想的に好適であることを示唆する。外科手術システムにおいて使用されるロボットアームは、典型的には、モータをアームの端部上に有する。これらのモータは、アームの端部上にあるため、そのサイズおよび性能特性は、幾分、限定される。また、以前の外科手術器具のうちの少なくともいくつかは、ロボットアーム上へ設置のためにあまり好適ではない。例えば、以前の器具のうちの少なくともいくつかは、以前のロボットアームで容易に満たされない、性能要件を有し得る。
【0005】
上記に照らして、ロボットアームに容易に結合され、改良された性能を提供し得る、器具の必要性が存在する。
【0006】
これらの欠点のうちの少なくともいくつかは、本開示を用いて改良されるであろう。
【発明の概要】
【課題を解決するための手段】
【0007】
本開示の実施形態は、プローブを器具デバイスマニピュレータ(例えば、ロボットアーム)に結合するための改良された方法および装置を提供する。いくつかの実施形態では、ハンドピースによって担持され得る、プローブが、ロボットアームのデバイスマニピュレータの端部に結合するように構成される。変換装置が、プローブに結合し、また、器具デバイスマニピュレータに結合するように構成されるように提供されることができる。変換装置は、運動入力を器具デバイスマニピュレータから受信し、運動入力をプローブの運動に変換するように構成されることができる。変換装置は、プローブの改良された移動を提供することができる。いくつかの実施形態では、変換装置は、プローブを線形に、回転可能に移動させ得、所定の治療計画に従って、プローブを発振させ得る。いくつかの実施形態では、変換装置は、再使用されるように構成され、ハンドピースおよび治療プローブは、消耗品として構成される。ハンドピースおよびプローブ上の構成要素の数を減少させることによって、ハンドピースおよびプローブは、滅菌単回使用消耗品デバイスとして提供され、変換装置は、再使用されることができる。
本発明は、例えば、以下を提供する。
(項目1)
患者を治療または撮像するシステムであって、前記システムは、
前記患者の中への挿入のためにサイズ決めされるプローブと、
前記プローブに結合するように構成される変換装置と、
前記変換装置に動作可能に結合するように構成される器具デバイスマニピュレータであって、前記器具デバイスマニピュレータは、前記変換装置と係合するように構成される1つまたはそれを上回るモータを備える、器具デバイスマニピュレータと
を備え、
前記変換装置は、入力を前記1つまたはそれを上回るモータから受信するように構成され、さらに、前記1つまたはそれを上回るモータからの入力を前記プローブに伝送し、前記プローブを回転させる、平行移動させる、関節運動させる、または組み合わせを行わせるように構成される、システム。
(項目2)
前記プローブは、治療プローブであり、前記患者の中への挿入のためにサイズ決めされる撮像プローブをさらに備える、項目1に記載のシステム。
(項目3)
前記撮像プローブは、膀胱鏡である、項目2に記載のシステム。
(項目4)
前記撮像プローブは、TRUSプローブである、項目2に記載のシステム。
(項目5)
前記治療プローブは、組織サンプル収集のために構成される、項目2に記載のシステム。
(項目6)
前記変換装置は、前記入力を前記1つまたはそれを上回るモータから受信し、前記治療プローブを回転させる、平行移動させる、関節運動させる、または組み合わせを行わせるように構成される、項目2に記載のシステム。
(項目7)
前記変換装置は、前記入力を2つまたはそれを上回るモータから受信し、前記2つまたはそれを上回るモータからの入力を前記変換装置の出力に追加するように構成される、項目6に記載のシステム。
(項目8)
前記変換装置は、前記器具デバイスマニピュレータと治療プローブとの間の電気通信を提供するように構成される、項目1に記載のシステム。
(項目9)
前記電気通信は、前記治療プローブの位置、平行移動、および回転のうちの1つまたはそれを上回るものと関連付けられる前記治療プローブからのエンコーダ信号を備える、項目8に記載のシステム。
(項目10)
前記電気通信は、電力を前記治療プローブに送達することを含む、項目8に記載のシステム。
(項目11)
前記変換装置は、駆動シャフト上の駆動歯車と、被駆動シャフト上の被駆動歯車とを備え、前記駆動シャフトおよび前記被駆動シャフトは、相互に略直交する、項目1に記載のシステム。
(項目12)
前記駆動歯車および前記被駆動歯車は、ベベル歯車を備える、項目11に記載のシステム。
(項目13)
前記駆動歯車および前記被駆動歯車は、スピロイド歯車を備える、項目11に記載のシステム。
(項目14)
前記駆動歯車および前記被駆動歯車は、ウォーム歯車を備える、項目11に記載のシステム。
(項目15)
前記変換装置は、駆動歯車または駆動プーリを駆動シャフト上に、および被駆動歯車または被駆動プーリを被駆動シャフト上に備え、前記駆動シャフトおよび前記被駆動シャフトは、相互に略平行にある、項目1に記載のシステム。
(項目16)
前記駆動歯車および前記被駆動歯車は、スパー歯車を備える、項目15に記載のシステム。
(項目17)
前記駆動歯車および前記被駆動歯車は、はすば歯車を備える、項目15に記載のシステム。
(項目18)
前記駆動プーリおよび前記被駆動プーリは、タイミングベルトによって接続されるタイミングプーリを備える、項目15に記載のシステム。
(項目19)
前記駆動プーリおよび前記被駆動プーリは、タイミングチェーンによって接続されるタイミングスプロケットを備える、項目15に記載のシステム。
(項目20)
前記プローブはさらに、前記プローブを前記変換装置に解放可能に結合するための結合部を備える、項目1に記載のシステム。
(項目21)
前記結合部は、迅速解放結合部である、項目20に記載のシステム。
(項目22)
【0008】
本明細書に参照および識別される全ての特許、出願、および刊行物は、その全体として参照することによって本明細書に組み込まれ、本願の別の場所に参照される場合であっても、参照することによって完全に組み込まれると見なされるものとする。
【図面の簡単な説明】
【0009】
本開示の特徴、利点、および原理のより深い理解が、例証的実施形態を記載する以下の詳細な説明および付随の図面を参照することによって取得されるであろう。
【0010】
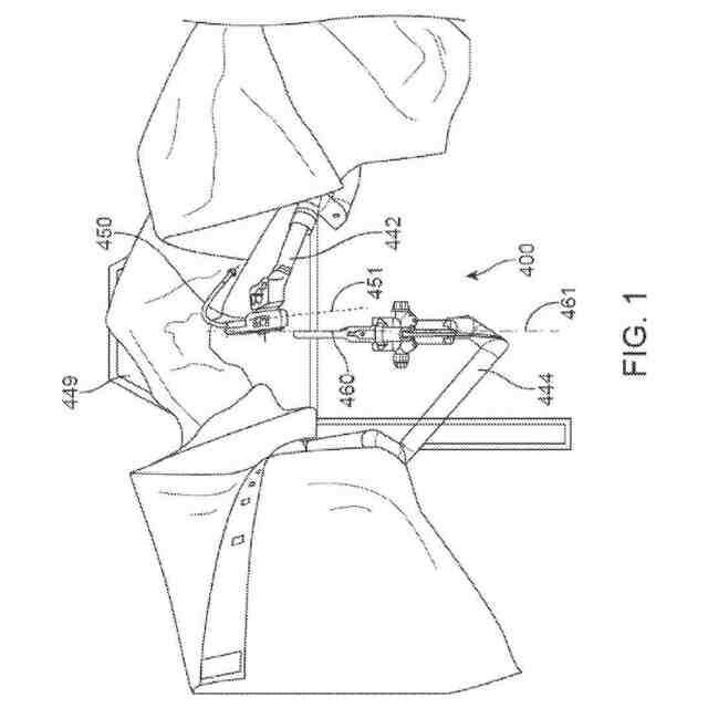
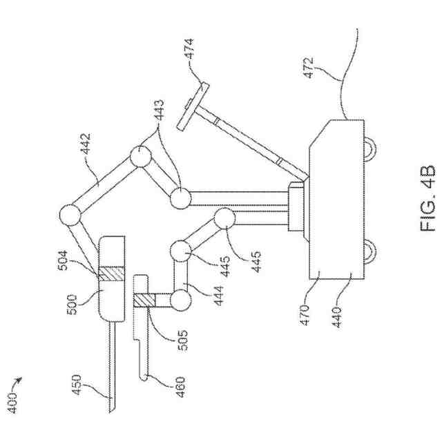
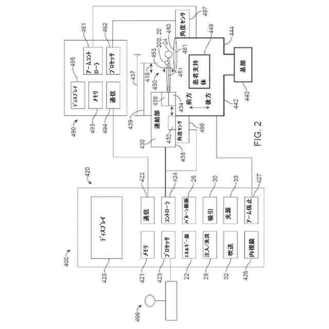
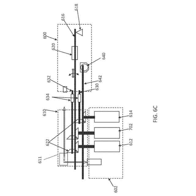
図1は、いくつかの実施形態による、患者において組織切除を実施するためのシステムの正面図を示す。
(【0011】以降は省略されています)
この特許をJ-PlatPat(特許庁公式サイト)で参照する
関連特許
個人
貼付剤
27日前
個人
簡易担架
9日前
個人
足踏み器具
16日前
個人
短下肢装具
4か月前
個人
腋臭防止剤
9日前
個人
白内障治療法
8か月前
個人
洗井間専家。
8か月前
個人
嚥下鍛錬装置
4か月前
個人
前腕誘導装置
4か月前
個人
排尿補助器具
1か月前
個人
汚れ防止シート
1か月前
個人
バッグ式オムツ
5か月前
個人
ウォート指圧法
1か月前
個人
矯正椅子
5か月前
個人
歯の修復用材料
5か月前
個人
アイマスク装置
2か月前
個人
ホバーアイロン
7か月前
個人
胸骨圧迫補助具
2か月前
個人
腰ベルト
1か月前
個人
湿布連続貼り機。
3か月前
個人
歯の保護用シール
5か月前
個人
哺乳瓶冷まし容器
4か月前
個人
シャンプー
7か月前
個人
排尿排便補助器具
11日前
個人
車椅子持ち上げ器
8か月前
個人
美容セット
18日前
三生医薬株式会社
錠剤
8か月前
個人
陣痛緩和具
4か月前
株式会社結心
手袋
8か月前
株式会社大野
骨壷
4か月前
個人
治療用酸化防御装置
2か月前
個人
エア誘導コルセット
2か月前
株式会社八光
剥離吸引管
5か月前
個人
性行為補助具
3か月前
株式会社コーセー
化粧料
1か月前
個人
服薬支援装置
8か月前
続きを見る
他の特許を見る