TOP
|
特許
|
意匠
|
商標
特許ウォッチ
Twitter
他の特許を見る
10個以上の画像は省略されています。
公開番号
2025171905
公報種別
公開特許公報(A)
公開日
2025-11-20
出願番号
2024156574
出願日
2024-09-10
発明の名称
セキュリティボックス装置
出願人
株式会社マキナエンジニアリング
,
NX商事株式会社
代理人
個人
主分類
A61J
3/00 20060101AFI20251113BHJP(医学または獣医学;衛生学)
要約
【課題】収容物の入出庫の状況を管理することができるセキュリティボックス装置を提供する。
【解決手段】
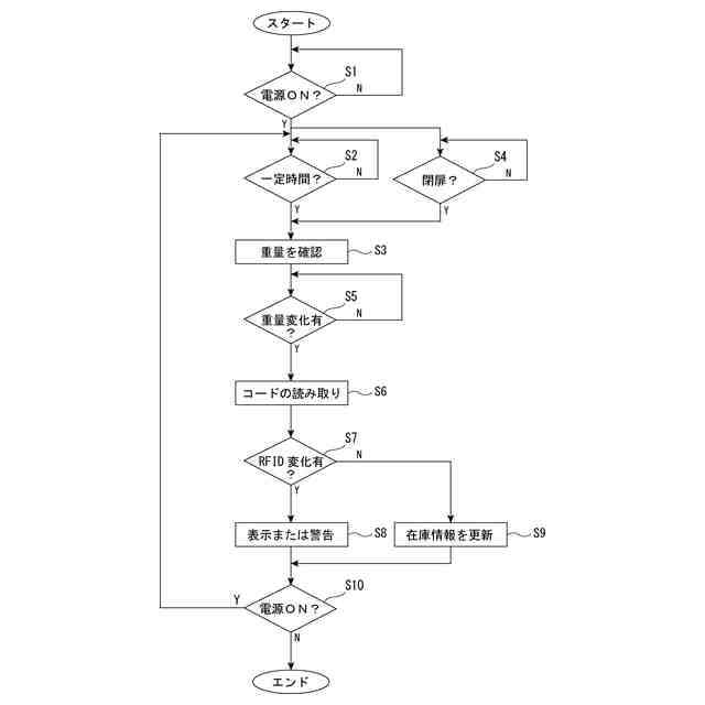
本実施形態のセキュリティボックス装置は、収容室13内にRFIDリーダー23を備える。そして、薬剤容器にICタグが付けられ、かつ在庫情報として識別コードおよび在庫の重量が記憶部31cに記憶されている状態において、制御部31aは、在庫情報として記憶された在庫の重量と、現在の電子秤14上の薬剤容器の重量とを比較し、重量に変化があった場合に、RFIDリーダー23を介して一括スキャンを実施して、ICタグから識別コードを読み取り、その後、在庫情報として記憶された識別コードとICタグから読み取った識別コードとを比較して変化があった場合に、薬剤容器の入れ替えがあったものと判断し、その旨の画面表示または照明や音声による警告を行う。
【選択図】図4
特許請求の範囲
【請求項1】
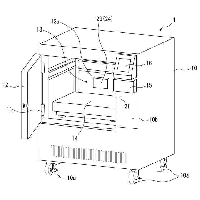
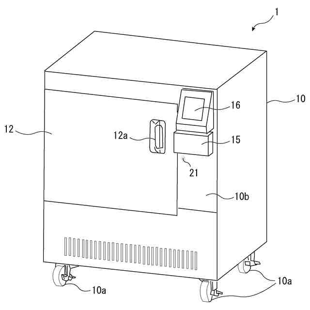
筐体と、前記筐体内に形成された収容室と、前記収容室を開閉可能に設けられた扉と、前記扉の施錠および開錠を行うロック機構と、前記ロック機構の開錠動作を制御する制御部と、予め許可されたユーザの生体情報を記憶する記憶部と、載置された収容物の重量を前記制御部に出力する秤と、を備え、前記制御部が、生体センサにより検出されたユーザの生体情報が前記記憶部に記憶された生体情報に基づいて認証された場合に、前記ロック機構により前記扉を開錠するセキュリティボックス装置であって、
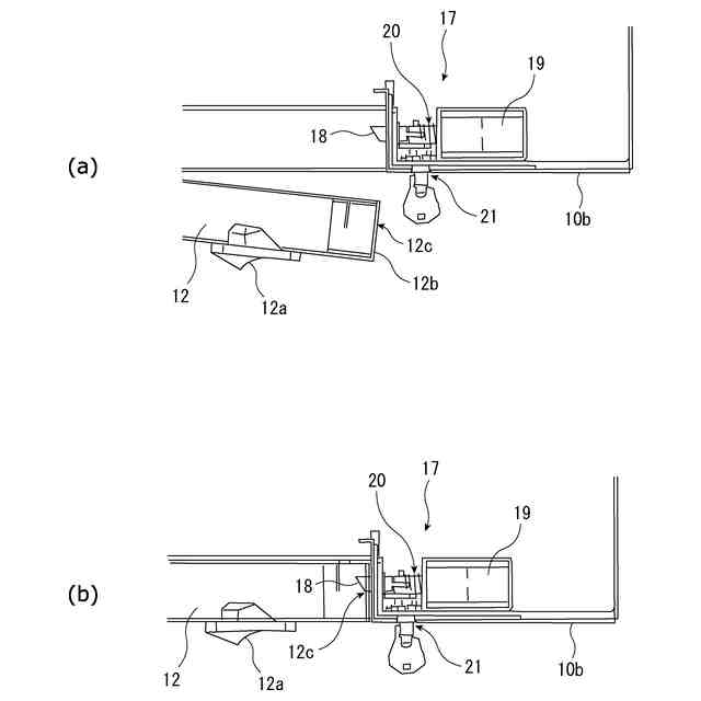
前記収容室内にRFIDリーダーを備え、
収容物に対して収容物毎にユニークな識別コードが書き込まれたICタグが付けられ、かつ在庫情報として識別コードおよび在庫の重量が前記記憶部に記憶されている状態において、
前記制御部は、
前記在庫情報として記憶された在庫の重量と、現在の秤上の収容物の重量とを比較し、重量に変化があった場合に、前記RFIDリーダーを介して一括スキャンを実施して、前記ICタグから識別コードを読み取り、
その後、前記在庫情報として記憶された識別コードと前記ICタグから読み取った識別コードとを比較して変化があった場合に、前記収容物の入れ替えがあったものと判断し、その旨の画面表示または照明や音声による警告を行うとともに、前記RFIDリーダーを介して読み取った識別コードに基づいて在庫情報を更新する、
ことを特徴とするセキュリティボックス装置。
続きを表示(約 1,400 文字)
【請求項2】
前記在庫情報として記憶された識別コードと前記ICタグから読み取った識別コードとを比較して変化がない場合、前記制御部は、前記RFIDリーダーを介して読み取った識別コードに基づいて在庫情報を更新する、
ことを特徴とする請求項1に記載のセキュリティボックス装置。
【請求項3】
筐体と、前記筐体内に形成された収容室と、前記収容室を開閉可能に設けられた扉と、前記扉の施錠および開錠を行うロック機構と、前記ロック機構の開錠動作を制御する制御部と、予め許可されたユーザの生体情報を記憶する記憶部と、載置された収容物の重量を前記制御部に出力する秤と、を備え、前記制御部が、生体センサにより検出されたユーザの生体情報が前記記憶部に記憶された生体情報に基づいて認証された場合に、前記ロック機構により前記扉を開錠するセキュリティボックス装置であって、
前記収容室内にカメラを備え、
在庫情報として収容物の形状および色を含む識別情報および在庫の重量が前記記憶部に記憶されている状態において、
前記制御部は、
前記在庫情報として記憶された在庫の重量と、現在の秤上の収容物の重量とを比較し、重量に変化があった場合に、前記カメラを制御して収容室内を撮影し、画像データを受け取り、
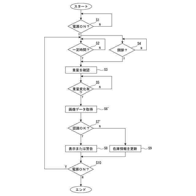
その後、前記在庫情報として記憶された収容物の識別情報を用いて前記カメラから受け取った画像データに対してパターン認識処理を実行し、認識できない収容物があった場合に、前記収容物の入れ替えがあったかまたは収容物に経時変化が発生したものと判断し、その旨の画面表示または照明や音声による警告を行うとともに、前記カメラで撮影した画像データに基づいて在庫情報を更新する、
ことを特徴とするセキュリティボックス装置。
【請求項4】
前記在庫情報として記憶された収容物の識別情報を用いて前記カメラから受け取った画像データに対してパターン認識処理を実行し、認識できない収容物がなかった場合、前記制御部は、前記カメラで撮影した画像データに基づいて在庫情報を更新する、
ことを特徴とする請求項3に記載のセキュリティボックス装置。
【請求項5】
前記制御部は、一定時間経過毎に現在の秤上の収容物の重量を確認し、確認した重量と在庫情報として記憶された在庫の重量とを比較する、
ことを特徴とする請求項1~4のいずれか1つに記載のセキュリティボックス装置。
【請求項6】
前記制御部は、前記扉が開閉される度に、閉じられるタイミングで、現在の秤上の収容物の重量を確認し、確認した重量と在庫情報として記憶された在庫の重量とを比較する、
ことを特徴とする請求項1~4のいずれか1つに記載のセキュリティボックス装置。
【請求項7】
さらに、バーコードリーダーを備え、
前記収容物をキャップと容器本体で構成された容器に保管し、前記キャップに前記ICタグを取り付けるとともに、前記収容室で保管するすべての容器には容器毎に異なるバーコードを割り当てて、当該バーコードをそれぞれ前記キャップと前記容器本体に貼り付けた場合において、
前記制御部は、前記バーコードリーダーから、保管対象の容器のキャップと容器本体のバーコード情報を受信した場合に、受信した2つのバーコード情報が一致しているかどうかを確認する、
ことを特徴とする請求項1または2に記載のセキュリティボックス装置。
発明の詳細な説明
【技術分野】
【0001】
本発明は、キャビネット内の収容物を管理するためのセキュリティボックス装置に関する。
続きを表示(約 1,300 文字)
【背景技術】
【0002】
病院においては、劇薬など、特に取り扱いに注意を要する薬剤は、施錠可能なキャビネットで厳重に保管され、許可された看護師や医師が所定量だけ取り出し、取り出した薬剤のみを使用場所まで運んで使用する。しかしながら、キャビネット内の薬剤の使用履歴を正確に管理することは容易ではなく、特に、無断使用などの不正行為については、それを防止するための対策ができていないケースが多い。
【0003】
このような薬剤の管理業務において使用されるキャビネットとして、特許文献1には、履歴管理が容易で不正利用を防止可能なキャビネット(セキュリティボックス装置)が開示されている。
【0004】
具体的には、特許文献1に記載のキャビネットは、筐体内に形成された収容室と、この収容室を開閉可能に設けられた扉と、扉の施錠および開錠を行うロック機構と、ロック機構の開錠動作を制御する制御部と、予め許可されたユーザの生体情報と生体センサにより読み取ったユーザの生体情報とのマッチング認証を行う生体認証部と、収容室内に載置された薬剤の重量を測定する電子秤とを備える。
【0005】
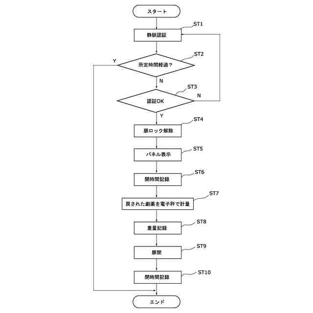
上記のように構成されたキャビネットにおいては、生体認証部によってユーザが認証されることにより、制御部が、ロック機構を用いて扉を開錠する。そして、制御部は、扉の開閉履歴とともに電子秤で測定された薬剤の重量を管理する。
【0006】
このようなキャビネットを用いれば、扉を開けることができるのは予め許可されたユーザ(医師や看護師など)に限定される。そして、収容室内に保管する薬剤は、制御部に接続された電子秤上に置かれるため、その計量履歴を管理することができる。すなわち、特許文献1に記載のキャビネットによれば、キャビネット内の薬剤を、いつ誰がどのくらい使用したかを正確に管理でき、さらに、特に取り扱いに注意すべき劇薬などの不正使用を防止できる。
【先行技術文献】
【特許文献】
【0007】
特開2020-157010号公報
【発明の概要】
【発明が解決しようとする課題】
【0008】
上記のように、特許文献1に記載のキャビネットは、扉を開けることができるユーザが限定され、薬剤の計量履歴を管理できることから、薬剤管理の観点でいえば、不正使用を防止できる点で一定の効果を得ることができる。
【0009】
一方で、収容物を保管するキャビネットとして機能するセキュリティボックス装置においては、収容物(たとえば薬剤など)を入れ替えることがあるし、また、収容室内に複数の収容物を保管することもある。このようなケースにおいては、電子秤上に載置された収容物を個別に識別し、重量の管理だけでは判断が難しい収容物の入れ替えや収容物の個数などの入出庫状況についても管理したいとの要望がある。
【0010】
本発明は、上記のような課題に鑑みてなされたものであって、収容物の計量履歴に加え、収容物の入出庫管理も可能なセキュリティボックス装置を提供することを目的とする。
【課題を解決するための手段】
(【0011】以降は省略されています)
この特許をJ-PlatPat(特許庁公式サイト)で参照する
関連特許
個人
貼付剤
26日前
個人
簡易担架
8日前
個人
腋臭防止剤
8日前
個人
足踏み器具
15日前
個人
短下肢装具
4か月前
個人
嚥下鍛錬装置
4か月前
個人
排尿補助器具
1か月前
個人
前腕誘導装置
4か月前
個人
歯の修復用材料
5か月前
個人
胸骨圧迫補助具
2か月前
個人
汚れ防止シート
1か月前
個人
腰ベルト
29日前
個人
アイマスク装置
2か月前
個人
バッグ式オムツ
5か月前
個人
ウォート指圧法
1か月前
個人
陣痛緩和具
4か月前
個人
排尿排便補助器具
10日前
個人
湿布連続貼り機。
3か月前
個人
美容セット
17日前
個人
哺乳瓶冷まし容器
4か月前
株式会社大野
骨壷
4か月前
個人
エア誘導コルセット
2か月前
個人
治療用酸化防御装置
2か月前
個人
性行為補助具
3か月前
株式会社コーセー
化粧料
1か月前
個人
形見の製造方法
5か月前
株式会社ニデック
眼科装置
2か月前
株式会社ニデック
眼科装置
1か月前
株式会社ニデック
眼科装置
5か月前
個人
高気圧環境装置
5か月前
個人
こむら返り応急治し具
15日前
株式会社松風
口腔用組成物
4か月前
個人
手指運動ツール
3か月前
個人
シリンダ式歩行補助具
3か月前
株式会社ニデック
眼科装置
2か月前
個人
精力増強キット
1か月前
続きを見る
他の特許を見る