TOP
|
特許
|
意匠
|
商標
特許ウォッチ
Twitter
他の特許を見る
公開番号
2025171903
公報種別
公開特許公報(A)
公開日
2025-11-20
出願番号
2024146907
出願日
2024-08-28
発明の名称
スイッチボードプラットフォームのためのコンピュータ実装方法、システム、及びコンピュータ可読記憶媒体
出願人
アクセンチュア グローバル ソリューションズ リミテッド
代理人
弁理士法人太陽国際特許事務所
主分類
H04L
67/562 20220101AFI20251113BHJP(電気通信技術)
要約
【課題】複数の異なるアプリケーションに複数の異なる基盤モデルのクエリを可能にするスイッチボードプラットフォームのためのコンピュータ実装方法、システム及びコンピュータ可読記憶媒体を提供する。
【解決手段】スイッチボードプラットフォームのためのコンピュータ実装方法は、スイッチボードプラットフォームのインテリジェントルータが第1リクエストをアプリケーションから受信し、ポリシーパラメータセットの少なくとも1つのポリシーパラメータに少なくとも部分的に基づいて基盤モデルのサブセットの基盤モデルを選択し、スイッチボードプラットフォームのモデルレジストリから基盤モデルの接続データを決定し、スイッチボードプラットフォームのモデルコネクタを介して基盤モデルによる処理のための第2リクエストを送信し、基盤モデルからの応答を受信し、アプリケーションに応答を送信する。
【選択図】図4
特許請求の範囲
【請求項1】
複数の異なるアプリケーションに複数の異なる基盤モデルのクエリを可能にするスイッチボードプラットフォームのためのコンピュータ実装方法であって、
前記スイッチボードプラットフォームのインテリジェントルータが、第1リクエストをアプリケーションから受信し、
前記第1リクエストはプロンプトの少なくとも一部分及びポリシーパラメータセットを含み、
前記インテリジェントルータが、前記ポリシーパラメータセットの少なくとも1つのポリシーパラメータに少なくとも部分的に基づいて、前記基盤モデルのサブセットの基盤モデルを選択し、
前記スイッチボードプラットフォームのモデルレジストリから、前記基盤モデルの接続データを決定し、
前記インテリジェントルータが、前記スイッチボードプラットフォームのモデルコネクタを介して、前記基盤モデルによる処理のための第2リクエストを送信し、
前記第2リクエストは、前記接続データを使用して送信され、前記プロンプトの少なくとも一部分を含み、
前記インテリジェントルータが、前記基盤モデルからの応答を受信し、
前記アプリケーションに前記応答を送信する、
コンピュータ実装方法。
続きを表示(約 1,800 文字)
【請求項2】
前記ポリシーパラメータのセットが、テナント識別子、アプリケーション識別子、ドメイン、インテント、タスク、およびモダリティのうちの1つ以上を含む、請求項1に記載のコンピュータ実装方法。
【請求項3】
前記インテリジェントルータが、前記ポリシーパラメータのセットの少なくとも1つの前記ポリシーパラメータに少なくとも部分的に基づいて、前記基盤モデルのサブセットの前記基盤モデルを選択することは、前記第1リクエストに応答するポリシーを適用することを含み、
前記基盤モデルが前記ポリシーに適合する、
請求項1に記載のコンピュータ実装方法。
【請求項4】
プリプロダクションフェーズの間に、
基準を定義し、
前記基準に基づいて、前記基盤モデルのサブセットに含めるための基盤モデルのセットの基盤モデルを選択する、
ことをさらに含む、請求項1に記載のコンピュータ実装方法。
【請求項5】
前記基準に基づいて前記基盤モデルのサブセットに含めるために前記基盤モデルのセットの前記基盤モデルを選択することは、
クエリに対するコストに基づく第1ランク順で、前記基盤モデルのセットの前記基盤モデルにリクエストを送信し、
前記基準を満たす基盤モデルの第2ランク順を決定し、
基盤モデルの前記第2ランク順における前記基盤モデルの少なくとも一部分は、前記基盤モデルのサブセットに含められる、
ことをさらに含む、請求項4に記載のコンピュータ実装方法。
【請求項6】
前記接続データが、モデルサービングインフラストラクチャにおける前記基盤モデルのエンドポイントを含む、請求項1に記載のコンピュータ実装方法。
【請求項7】
前記基盤モデルのセットは、大規模言語モデル(LLM)を含む、請求項1に記載のコンピュータ実装方法。
【請求項8】
1つ以上のプロセッサと、
1つ以上の前記プロセッサに結合されているコンピュータ可読記憶装置と、
を含み、
前記コンピュータ可読記憶装置は命令を格納し、
前記命令は、1つ以上の前記プロセッサによって実行されると、複数の異なるアプリケーションに複数の異なる基盤モデルのクエリを可能にするスイッチボードプラットフォームの動作を、1つ以上の前記プロセッサに実行させ、
前記動作は、
前記スイッチボードプラットフォームのインテリジェントルータが、第1リクエストをアプリケーションから受信し、
前記第1リクエストはプロンプトの少なくとも一部分及びポリシーパラメータセットを含み、
前記インテリジェントルータが、前記ポリシーパラメータセットの少なくとも1つのポリシーパラメータに少なくとも部分的に基づいて、前記基盤モデルのサブセットの基盤モデルを選択し、
前記スイッチボードプラットフォームのモデルレジストリから、前記基盤モデルの接続データを決定し、
前記インテリジェントルータが、前記スイッチボードプラットフォームのモデルコネクタを介して、前記基盤モデルによる処理のための第2リクエストを送信し、
前記第2リクエストは、前記接続データを使用して送信され、前記プロンプトの少なくとも一部分を含み、
前記インテリジェントルータが、前記基盤モデルからの応答を受信し、
前記アプリケーションに前記応答を送信する、
ことを含む、
システム。
【請求項9】
前記ポリシーパラメータのセットが、テナント識別子、アプリケーション識別子、ドメイン、インテント、タスク、およびモダリティのうちの1つ以上を含む、請求項8に記載のシステム。
【請求項10】
前記インテリジェントルータが、前記ポリシーパラメータのセットの少なくとも1つの前記ポリシーパラメータに少なくとも部分的に基づいて、前記基盤モデルのサブセットの前記基盤モデルを選択することは、前記第1リクエストに応答するポリシーを適用することを含み、
前記基盤モデルが前記ポリシーに適合する、
請求項8に記載のシステム。
(【請求項11】以降は省略されています)
発明の詳細な説明
【技術分野】
【0001】
本開示は、スイッチボードプラットフォームのためのコンピュータ実装方法、システム、及びコンピュータ可読記憶媒体に関する。
続きを表示(約 2,600 文字)
【背景技術】
【0002】
企業は継続的にオペレーションの改善と効率化を追求している。この目的のために、企業はオペレーションの実行をサポートするソフトウェアシステムを採用する。企業は、例えば機械学習(ML)モデルを含むことができる人工知能(AI)を採用することができる、いわゆるインテリジェントエンタープライズの領域のシステムを統合する。例えば、AIは、データ分析、及び/又は、企業のオペレーションをサポートするタスクの自動化に使用することができる。
【0003】
AIの分野では、いわゆる生成AI(GAI)が最近爆発的な人気を博している。GAIは、訓練データに基づいてコンテンツを生成する、いわゆる基盤モデルを含むものとして説明することができる。例えば、基盤モデルには、大規模言語モデル(Large Language Model:LLM)を含めることができる。LLMは、さまざまな使用ケースに対応するテキストを生成するために使用できるGAIの一形態である。いくつかの例では、LLMは、従来のルールベースのシステムに代わってデジタルアシスタント(例えば、チャットボット)に統合され、ユーザ入力に対するテキスト応答を提供することができる。GAIは、テキスト、画像、音声、動画を含むがこれらに限定されない様々なコンテンツを生成するために使用することができる。GAIのパワーと人気が高まるにつれ、企業は企業運営の改善にGAIを活用する道を模索している。しかし、GAIを企業プラットフォームに統合することは、自明なタスクではない。例えば、GAIには様々な技術的課題があり、管理しなければならない欠点もある。
【発明の概要】
【課題を解決するための手段】
【0004】
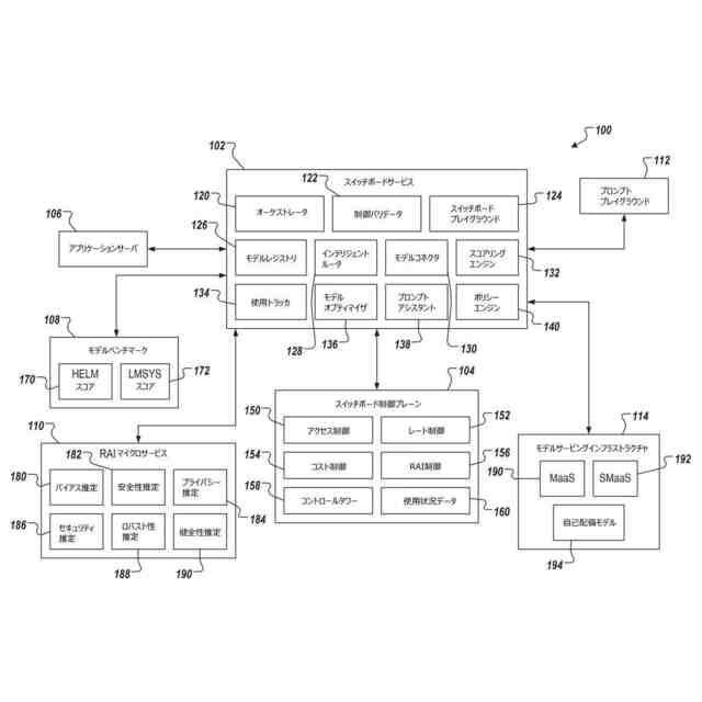
本開示の実装は、一般に、基盤モデルのためのスイッチボードプラットフォームに向けられている。より詳細には、本開示の実装は、モデルの経済性、期待される性能、セキュリティの考慮、および配備の複雑性を含み得るが、これらに限定されない様々な目的に基づいて、基盤モデルのインテリジェントなアクセス、ルーティング、および統括を可能にするスイッチボードプラットフォームに向けられている。
【0005】
一般に、記載される主題の革新的な態様は、スイッチボードプラットフォームのインテリジェントルータが、第1リクエストをアプリケーションから受信し、前記第1リクエストはプロンプトの少なくとも一部分及びポリシーパラメータセットを含み、前記インテリジェントルータが、前記ポリシーパラメータセットの少なくとも1つのポリシーパラメータに少なくとも部分的に基づいて、前記基盤モデルのサブセットの基盤モデルを選択し、前記スイッチボードプラットフォームのモデルレジストリから、前記基盤モデルの接続データを決定し、前記インテリジェントルータが、前記スイッチボードプラットフォームのモデルコネクタを介して、前記基盤モデルによる処理のための第2リクエストを送信し、前記第2リクエストは、前記接続データを使用して送信され、前記プロンプトの少なくとも一部分を含み、前記インテリジェントルータが、前記基盤モデルからの応答を受信し、前記アプリケーションに前記応答を送信する、動作を含む。本態様の別の実装は、コンピュータ記憶装置上に符号化された、本方法の動作を実行するように構成された、対応するシステム、装置、およびコンピュータプログラムを含む。
【0006】
これらの実装および他の実装はそれぞれ、以下の特徴のうちの1つ以上を任意に含むことができる。前記ポリシーパラメータのセットが、テナント識別子、アプリケーション識別子、ドメイン、インテント、タスク、およびモダリティのうちの1つ以上を含む。前記インテリジェントルータが、前記ポリシーパラメータのセットの少なくとも1つの前記ポリシーパラメータに少なくとも部分的に基づいて、前記基盤モデルのサブセットの前記基盤モデルを選択することは、前記第1リクエストに応答するポリシーを適用することを含み、前記基盤モデルが前記ポリシーに適合する。動作は、プリプロダクションフェーズの間に、基準を定義し、前記基準に基づいて、前記基盤モデルのサブセットに含めるための基盤モデルのセットの基盤モデルを選択する、ことをさらに含む。前記基準に基づいて前記基盤モデルのサブセットに含めるために前記基盤モデルのセットの前記基盤モデルを選択することは、クエリに対するコストに基づく第1ランク順で、前記基盤モデルのセットの前記基盤モデルにリクエストを送信し、前記基準を満たす基盤モデルの第2ランク順を決定し、基盤モデルの前記第2ランク順における前記基盤モデルの少なくとも一部分は、前記基盤モデルのサブセットに含められる、ことをさらに含む。前記接続データが、モデルサービングインフラストラクチャにおける前記基盤モデルのエンドポイントを含む。前記基盤モデルのセットは、大規模言語モデル(LLM)を含む。
【0007】
本開示はまた、1つ以上のプロセッサに結合され、1つ以上のプロセッサによって実行されると、1つ以上のプロセッサに提供される実装に従った動作を実行させる命令を記憶した、非一時的コンピュータ可読記憶媒体を提供する。
【0008】
本開示に従う方法は、記載される態様および特徴の任意の組合せを含み得ることが理解される。すなわち、例えば、本開示に従う装置および方法は、具体的に説明される態様および特徴の組み合わせに限定されず、また、提供される態様および特徴の任意の組み合わせを含み得る。
【図面の簡単な説明】
【0009】
図1は、本開示の実施態様による例示的なアーキテクチャを示す。
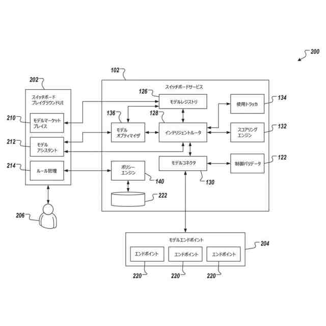
図2は、本開示の実施形態に従ったプリプロダクション環境の例を示す図である。
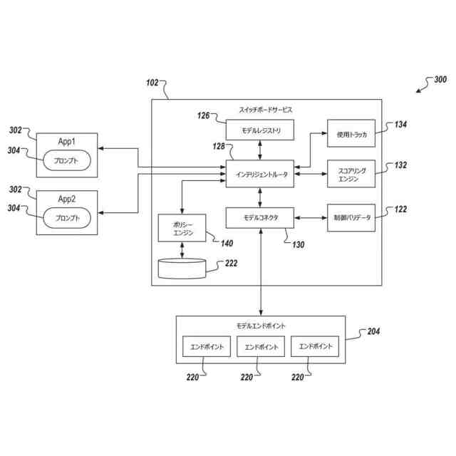
図3は、本開示の実施形態に従った例示的な実装環境を示す図である。
図4は、本開示の実施態様に従って実行され得る例示的なプロセスを示す。
【発明を実施するための形態】
【0010】
本開示の1つ以上の実施態様の詳細は、添付の図面および以下の説明に記載されている。本開示の他の特徴および利点は、説明、図面、および特許請求の範囲から明らかになるであろう。
(【0011】以降は省略されています)
この特許をJ-PlatPat(特許庁公式サイト)で参照する
関連特許
個人
イヤーピース
15日前
個人
イヤーマフ
29日前
個人
監視カメラシステム
1か月前
個人
スイッチシステム
23日前
キーコム株式会社
光伝送線路
1か月前
WHISMR合同会社
収音装置
2か月前
サクサ株式会社
中継装置
1か月前
サクサ株式会社
中継装置
1か月前
個人
スキャン式車載用撮像装置
1か月前
アイホン株式会社
電気機器
2か月前
キヤノン電子株式会社
画像読取装置
23日前
キヤノン電子株式会社
画像読取装置
15日前
個人
ワイヤレスイヤホン対応耳掛け
2か月前
サクサ株式会社
無線通信装置
1か月前
株式会社リコー
画像形成装置
1か月前
個人
映像表示装置、及びARグラス
24日前
キヤノン電子株式会社
画像読取装置
1か月前
サクサ株式会社
無線通信装置
1か月前
キヤノン電子株式会社
画像読取装置
2か月前
サクサ株式会社
無線システム
1か月前
ヤマハ株式会社
放音制御装置
23日前
キヤノン株式会社
画像処理装置
18日前
個人
発信機及び発信方法
1か月前
キヤノン電子株式会社
シート搬送装置
15日前
キヤノン株式会社
情報処理装置
2日前
日本電気株式会社
海底分岐装置
1か月前
キヤノン株式会社
撮像システム
2か月前
株式会社NTTドコモ
端末
1か月前
株式会社NTTドコモ
端末
1か月前
株式会社NTTドコモ
端末
1か月前
沖電気工業株式会社
画像形成装置
1か月前
日本セラミック株式会社
超音波送受信器
2日前
シャープ株式会社
表示装置
15日前
シャープ株式会社
表示装置
15日前
株式会社NTTドコモ
端末
1か月前
株式会社JVCケンウッド
通信システム
1か月前
続きを見る
他の特許を見る