TOP
|
特許
|
意匠
|
商標
特許ウォッチ
Twitter
他の特許を見る
10個以上の画像は省略されています。
公開番号
2025171770
公報種別
公開特許公報(A)
公開日
2025-11-20
出願番号
2024077424
出願日
2024-05-10
発明の名称
ゴルフクラブヘッド
出願人
住友ゴム工業株式会社
代理人
個人
,
個人
,
個人
,
個人
主分類
A63B
53/04 20150101AFI20251113BHJP(スポーツ;ゲーム;娯楽)
要約
【課題】 トウダウンを抑制しながら、打球音の周波数の低下を抑制する。
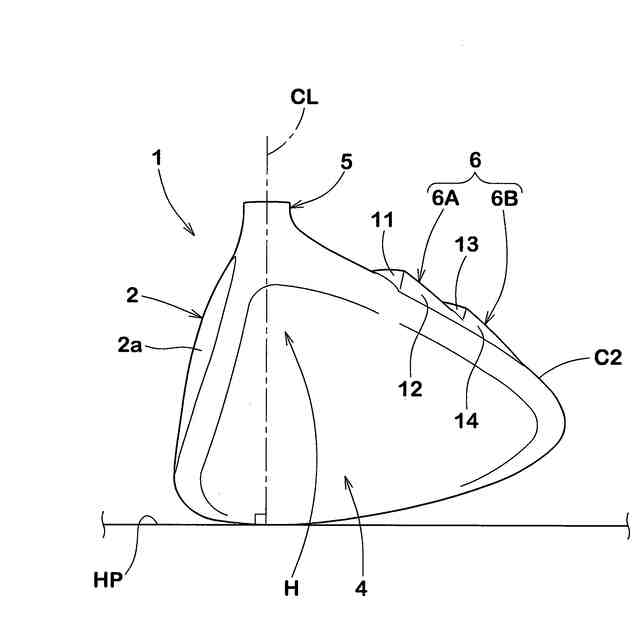
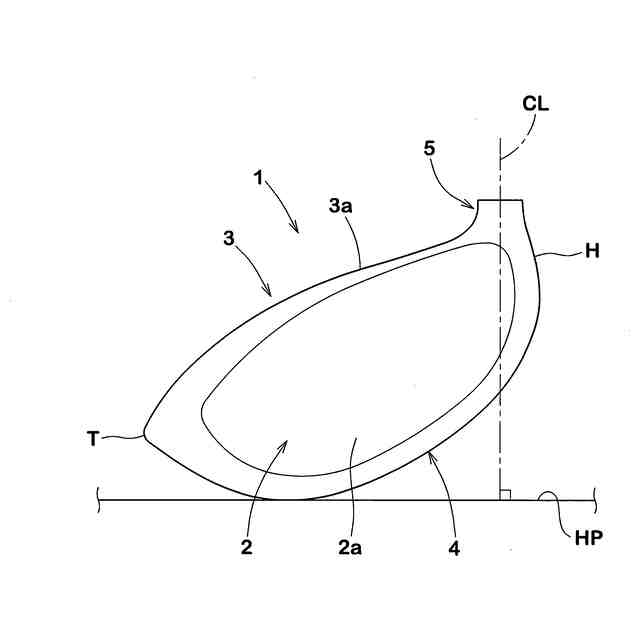
【解決手段】 クラウン部3は、湾曲面3aに突出部6が形成されている。基準状態のヘッド1をフェース部2側から見た正面視において、突出部6はヘッド1の第1輪郭線を構成していない。シャフト軸中心線CLを水平面HPに対して垂直とし、かつ、フェース角を0度とした垂直状態のヘッド1をヒール側から見た側面視において、突出部6はヘッドの第2輪郭線を構成している。基準状態のヘッド1を上方から見た平面視において、突出部6は、クラウン部3の第3輪郭線C3から、クラウン頂点30側に、第3輪郭線C3と直交する方向で最も離れた位置にある境界点8を有する。第3輪郭線C3から境界点7までの距離Bと、クラウン頂点30から境界点7を通り第3輪郭線C3までの距離Aとの比B/Aが20%以下である。
【選択図】 図1
特許請求の範囲
【請求項1】
内部に中空部を有するゴルフクラブヘッドであって、
規定のライ角及びロフト角で水平面上に置かれた基準状態において、
打撃フェースを有するフェース部と、
クラウン頂点を規定するように上方に凸となる湾曲面を有するクラウン部と、
シャフト軸中心線を規定するホーゼルと、
ヒールとを含み、
前記クラウン部は、前記湾曲面に、突出部が形成されており、
前記基準状態の前記ヘッドを前記フェース部側から見た正面視において、前記突出部は、前記ヘッドの外輪郭線である第1輪郭線を構成しておらず、
前記シャフト軸中心線を前記水平面に対して垂直とし、かつ、フェース角を0度とした垂直状態の前記ヘッドを前記ヒール側から見た側面視において、前記突出部は、前記ヘッドの外輪郭線である第2輪郭線を構成しており、
前記基準状態の前記ヘッドを上方から見た平面視において、前記突出部は、前記クラウン部の外輪郭線である第3輪郭線から、前記クラウン頂点側に、前記第3輪郭線と直交する方向で最も離れた位置にある境界点を有し、
前記第3輪郭線から前記境界点までの距離Bと、前記クラウン頂点から前記境界点を経由した前記第3輪郭線までの距離Aとの比B/Aは20%以下である、
ゴルフクラブヘッド。
続きを表示(約 620 文字)
【請求項2】
前記比B/Aは12%以上である、請求項1に記載のゴルフクラブヘッド。
【請求項3】
前記突出部は、前記平面視において、前記第3輪郭線を構成している、請求項1に記載のゴルフクラブヘッド。
【請求項4】
前記突出部は、前記平面視において、前記第3輪郭線を構成していない、請求項1に記載のゴルフクラブヘッド。
【請求項5】
前記突出部は、第1頂点を有する第1突出部と、第2頂点を有する第2突出部とを含む、請求項1に記載のゴルフクラブヘッド。
【請求項6】
前記第1突出部と前記第2突出部とは、それらの間に窪みが形成されるように互いに連結されている、請求項5に記載のゴルフクラブヘッド。
【請求項7】
前記第1突出部は、前記第1頂点で交わる3つの壁面を有する、請求項5に記載のゴルフクラブヘッド。
【請求項8】
前記第2突出部は、前記第2頂点で交わる3つの壁面を有する、請求項5に記載のゴルフクラブヘッド。
【請求項9】
前記突出部は、上面を含み、
前記上面の隆起高さは、前記第3輪郭線に近づくにつれて大きくなる請求項1ないし8のいずれか1項に記載のゴルフクラブヘッド。
【請求項10】
前記上面は、四角形状である、請求項9に記載のゴルフクラブヘッド。
(【請求項11】以降は省略されています)
発明の詳細な説明
【技術分野】
【0001】
本発明は、ゴルフクラブヘッドに関する。
続きを表示(約 2,400 文字)
【背景技術】
【0002】
一般的なゴルフクラブは、ヘッド重心が、そのゴルフクラブシャフト軸中心線からヘッドのトウ側に離れて位置する。このため、図23に示されるように、ダウンスイング中にいわゆるトウダウンが生じることがある。トウダウンとは、ダウンスイング中の遠心力でゴルフクラブヘッドのトウ側が下がる現象である。トウダウンは、インパクトにおけるゴルフクラブヘッドの位置又は姿勢を変動させ、ひいては、打球の飛距離や方向を悪化させる。
【0003】
従来、このようなトウダウンを抑制する技術として、下記特許文献1が提案されている。特許文献1のゴルフクラブヘッドは、クラウン外面の特定の位置に突出部が形成されている。この突出部は、ダウンスイング中に、遠心力を打ち消すような力(抗力)を大きくすることで、トウダウンを抑制する。
【先行技術文献】
【特許文献】
【0004】
特開2022-110563号公報
【発明の開示】
【発明が解決しようとする課題】
【0005】
上述のような突出部が設けられたゴルフクラブヘッドは、ダウンスイング中のトウダウンを抑制することができるが、打球音の周波数が低いという新たな問題があった。多くのゴルファは、高い周波数の打球音を好む傾向があることから、打球音については、改善が求められていた。
【0006】
本発明は、以上のような問題点に鑑み案出なされたもので、トウダウンを抑制しながら、打球音の周波数の低下を抑制することができるゴルフクラブヘッドを提供することを主たる課題としている。
【課題を解決するための手段】
【0007】
本発明は、内部に中空部を有するゴルフクラブヘッドであって、
規定のライ角及びロフト角で水平面上に置かれた基準状態において、打撃フェースを有するフェース部と、クラウン頂点を規定するように上方に凸となる湾曲面を有するクラウン部と、シャフト軸中心線を規定するホーゼルと、ヒールとを含み、
前記クラウン部は、前記湾曲面に、突出部が形成されており、
前記基準状態の前記ヘッドを前記フェース部側から見た正面視において、前記突出部は、前記ヘッドの外輪郭線である第1輪郭線を構成しておらず、
前記シャフト軸中心線を前記水平面に対して垂直とし、かつ、フェース角を0度とした垂直状態の前記ヘッドを前記ヒール側から見た側面視において、前記突出部は、前記ヘッドの外輪郭線である第2輪郭線を構成しており、
前記基準状態の前記ヘッドを上方から見た平面視において、前記突出部は、前記クラウン部の外輪郭線である第3輪郭線から、前記クラウン頂点側に、前記第3輪郭線と直交する方向で最も離れた位置にある境界点を有し、
前記第3輪郭線から前記境界点までの距離Bと、前記クラウン頂点から前記境界点を経由した前記第3輪郭線までの距離Aとの比B/Aは20%以下である、ゴルフクラブヘッドである。
【発明の効果】
【0008】
本発明のゴルフクラブヘッドは、トウダウンを抑制しながら、打球音の周波数の低下を抑制することができる。
【図面の簡単な説明】
【0009】
第1実施形態のゴルフクラブヘッドの平面図である。
第1実施形態のゴルフクラブヘッドの正面図である。
第1実施形態のゴルフクラブヘッドをヒール側から見た側面図である。
第1実施形態のゴルフクラブヘッドをヒール側から見た斜視図である。
第1実施形態のゴルフクラブヘッドを後方側から見た斜視図である。
(A)及び(B)は、それぞれ打撃フェースの周縁を説明するための正面図及びs1断面図である。
垂直状態にある第1実施形態のゴルフクラブヘッドをヒール側から見た側面図である。
垂直状態にある第1実施形態のゴルフクラブヘッドをフェース部側から見た正面図である。
ゴルフクラブのダウンスイング中の軌跡を示す線図である。
(A)~(C)は、図9のゴルフクラブヘッド1A、1B及び1Cをスイング方向前方から見た正面図である。
第1実施形態の突出部の拡大斜視図である。
(A)は、図11のXII-XII線断面図に相当するゴルフクラブヘッドの部分断面図、(B)は、図11のXIII-XIII線断面図に相当するゴルフクラブヘッドの部分断面図である。
(A)~(C)は、突出部の変形例を示し、いずれも、図11のXIII-XIII線断面図に相当するゴルフクラブヘッドの部分断面図である。
第2実施形態のゴルフクラブヘッドの平面図である。
第2実施形態のゴルフクラブヘッドの正面図である。
垂直状態にある第2実施形態のゴルフクラブヘッドをヒール側から見た側面図である。
第2実施形態の突出部の拡大斜視図である。
図17のXVIII-XVIII線断面図に相当するゴルフクラブヘッドの部分断面図である。
図17のXIX-XIX線断面図に相当するゴルフクラブヘッドの部分断面図である。
第3実施形態のゴルフクラブヘッドの平面図である。
第3実施形態のゴルフクラブヘッドの正面図である。
垂直状態にある第3実施形態のゴルフクラブヘッドをヒール側から見た側面図である。
スイング中のトウダウンのイメージを説明するゴルフクラブの正面図である。
【発明を実施するための形態】
【0010】
以下、本発明の実施の一形態が図面に基づき説明される。
(【0011】以降は省略されています)
この特許をJ-PlatPat(特許庁公式サイト)で参照する
関連特許
住友ゴム工業株式会社
タイヤ
1か月前
住友ゴム工業株式会社
タイヤ
1か月前
住友ゴム工業株式会社
タイヤ
29日前
住友ゴム工業株式会社
タイヤ
22日前
住友ゴム工業株式会社
タイヤ
23日前
住友ゴム工業株式会社
タイヤ
14日前
住友ゴム工業株式会社
タイヤ
1か月前
住友ゴム工業株式会社
タイヤ
23日前
住友ゴム工業株式会社
タイヤ
1か月前
住友ゴム工業株式会社
タイヤ
1か月前
住友ゴム工業株式会社
タイヤ
1日前
住友ゴム工業株式会社
タイヤ
25日前
住友ゴム工業株式会社
タイヤ
22日前
住友ゴム工業株式会社
ラケット
2日前
住友ゴム工業株式会社
ゴルフボール
22日前
住友ゴム工業株式会社
ゴルフボール
1か月前
住友ゴム工業株式会社
重荷重用タイヤ
28日前
住友ゴム工業株式会社
空気入りタイヤ
24日前
住友ゴム工業株式会社
空気入りタイヤ
25日前
住友ゴム工業株式会社
空気入りタイヤ
25日前
住友ゴム工業株式会社
空気入りタイヤ
22日前
住友ゴム工業株式会社
空気入りタイヤ
25日前
住友ゴム工業株式会社
モデリング方法
1か月前
住友ゴム工業株式会社
空気入りタイヤ
1か月前
住友ゴム工業株式会社
空気入りタイヤ
1か月前
住友ゴム工業株式会社
バイアスタイヤ
28日前
住友ゴム工業株式会社
空気入りタイヤ
1か月前
住友ゴム工業株式会社
重荷重用タイヤ
1か月前
住友ゴム工業株式会社
重荷重用タイヤ
1日前
住友ゴム工業株式会社
重荷重用タイヤ
1日前
住友ゴム工業株式会社
重荷重用タイヤ
1日前
住友ゴム工業株式会社
重荷重用タイヤ
1日前
住友ゴム工業株式会社
重荷重用タイヤ
1日前
住友ゴム工業株式会社
モデリング方法
1か月前
住友ゴム工業株式会社
重荷重用タイヤ
28日前
住友ゴム工業株式会社
ゴルフクラブヘッド
1日前
続きを見る
他の特許を見る