TOP
|
特許
|
意匠
|
商標
特許ウォッチ
Twitter
他の特許を見る
10個以上の画像は省略されています。
公開番号
2025171427
公報種別
公開特許公報(A)
公開日
2025-11-20
出願番号
2024076768
出願日
2024-05-09
発明の名称
重荷重用タイヤ
出願人
住友ゴム工業株式会社
代理人
弁理士法人朝日奈特許事務所
主分類
B60C
1/00 20060101AFI20251113BHJP(車両一般)
要約
【課題】低燃費性能と高速乗り心地性能の総合に優れた重荷重用タイヤを提供する。
【解決手段】トレッド部を備えた重荷重用タイヤであって、前記トレッド部はイソプレン系ゴムを含むゴム成分およびシリカを含む充填剤を含むゴム組成物から構成された、トレッド面を含むゴム層を有し、前記イソプレン系ゴムのゴム成分中の含有量が85質量%超であり、前記シリカの充填剤中の含有量が60質量%超であり、前記トレッド部のトレッド接地面におけるランド比が74.0%超であり、前記イソプレン系ゴムのゴム成分中の含有量(質量%)がA
IR
、前記シリカの充填剤中の含有量(質量%)がA
SIL
、前記ランド比(%)がLである場合において、A
IR
、A
SIL
およびLが下記式(1)を満たす、重荷重用タイヤ。
(1) A
IR
×A
SIL
×L/1000>408
【選択図】なし
特許請求の範囲
【請求項1】
トレッド部を備えた重荷重用タイヤであって、
前記トレッド部は、イソプレン系ゴムを含むゴム成分およびシリカを含む充填剤を含むゴム組成物から構成された、トレッド面を含むゴム層を有し、
前記イソプレン系ゴムのゴム成分中の含有量が85質量%超であり、
前記シリカの充填剤中の含有量が60質量%超であり、
前記トレッド部のトレッド接地面におけるランド比が74.0%超であり、
前記イソプレン系ゴムのゴム成分中の含有量(質量%)がA
IR
、前記シリカの充填剤中の含有量(質量%)がA
SIL
、前記ランド比(%)がLである場合において、A
IR
、A
SIL
およびLが下記式(1)を満たす、重荷重用タイヤ。
(1) A
IR
×A
SIL
×L/1000>408
続きを表示(約 620 文字)
【請求項2】
前記ゴム組成物の硬度が、64以上80以下である、請求項1記載の重荷重用タイヤ。
【請求項3】
前記ゴム組成物が樹脂を含む、請求項1または2記載の重荷重用タイヤ。
【請求項4】
前記シリカの平均一次粒子径が16nm未満である、請求項1または2記載の重荷重用タイヤ。
【請求項5】
A
SIL
が70超である、請求項1または2記載の重荷重用タイヤ。
【請求項6】
A
SIL
が80超である、請求項1または2記載の重荷重用タイヤ。
【請求項7】
A
SIL
が90超である、請求項1または2記載の重荷重用タイヤ。
【請求項8】
A
IR
が90超である、請求項1または2記載の重荷重用タイヤ。
【請求項9】
前記式(1)の右辺が459である、請求項1または2記載の重荷重用タイヤ。
【請求項10】
前記トレッド部のトレッド面が、タイヤ周方向に延びる少なくとも一つのフラスコ状周方向溝を有し、前記フラスコ状周方向溝が溝幅の狭い首部と、前記首部よりもタイヤ径方向の内側に配置され、前記首部の最大溝幅よりも大きい溝幅の部分を有する胴部とを含むものである、請求項1または2記載の重荷重用タイヤ。
(【請求項11】以降は省略されています)
発明の詳細な説明
【技術分野】
【0001】
本発明は、重荷重用タイヤに関する。
続きを表示(約 2,300 文字)
【背景技術】
【0002】
トラック、バスなどの大型車両においても、環境規制、ラベリング制度の導入、カーボンニュートラルへの対応から、使用する重荷重用タイヤについて、低燃費性能の要求がより一層高まっている。また、高速道路等のインフラ整備の進展に伴い、重荷重用タイヤにおいても、高速走行時の乗り心地性能に対して、更なる改善が求められている。特許文献1には、重荷重用空気入りタイヤにおいて、そのトレッド部がモジュラス等の所定の条件を満たすキャップゴム層とベースゴム層とからなることにより、低燃費性能が改善されることが記載されている。特許文献2には、重荷重用として使用し得るタイヤにおいて、トレッドのショルダー陸部のパターンを所定のものとすることにより、ブロックの耐摩耗性能を維持しつつ乗り心地性能が改善されることが記載されている。
【先行技術文献】
【特許文献】
【0003】
特開2022-114651号公報
特開2023-60709号公報
【発明の概要】
【発明が解決しようとする課題】
【0004】
近年、重荷重用タイヤにおいても、低燃費性能と高速乗り心地性能をバランスよく高めることが求められている。
【0005】
本発明は、低燃費性能と高速乗り心地性能の総合性能に優れた重荷重用タイヤを提供することを目的とする。
【課題を解決するための手段】
【0006】
本発明は、以下の重荷重用タイヤに関する。
トレッド部を備えた重荷重用タイヤであって、
前記トレッド部は、イソプレン系ゴムを含むゴム成分およびシリカを含む充填剤を含むゴム組成物から構成された、トレッド面を含むゴム層を有し、
前記イソプレン系ゴムのゴム成分中の含有量が85質量%超であり、
前記シリカの充填剤中の含有量が60質量%超であり、
前記トレッド部のトレッド接地面におけるランド比が74.0%超であり、
前記イソプレン系ゴムのゴム成分中の含有量(質量%)がA
IR
、前記シリカの充填剤中の含有量(質量%)がA
SIL
、前記ランド比(%)がLである場合において、A
IR
、A
SIL
およびLが下記式(1)を満たす、重荷重用タイヤ。
(1) A
IR
×A
SIL
×L/1000>408
【発明の効果】
【0007】
本発明によれば、低燃費性能と高速乗り心地性能の総合に優れた重荷重用タイヤを提供することができる。
【図面の簡単な説明】
【0008】
本発明の一実施形態に係る重荷重用タイヤのタイヤ回転軸を含む平面による断面図である。
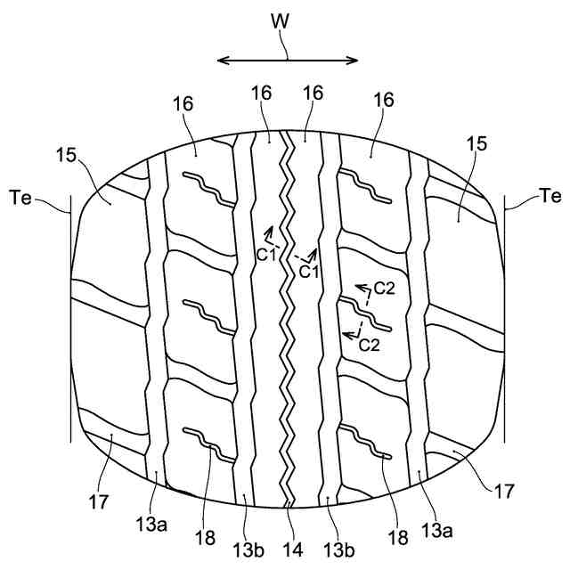
本発明の一実施形態に係る重荷重用タイヤのトレッド接地面を表した図である。
本発明の一実施形態に係る重荷重用タイヤのトレッド接地面を表した図である。
図3のC1-C1線における断面図である。
図3のC2-C2線における断面図である。
トレッド面を正面として補強層の構成を示す概念図である。
【発明を実施するための形態】
【0009】
以下、本発明の一実施形態である重荷重用タイヤについて説明する。本実施形態の重荷重用タイヤは、トレッド部を備えた重荷重用タイヤであって、
前記トレッド部は、イソプレン系ゴムを含むゴム成分およびシリカを含む充填剤を含むゴム組成物から構成された、トレッド面を含むゴム層を有し、
前記イソプレン系ゴムのゴム成分中の含有量が85質量%超であり、
前記シリカの充填剤中の含有量が60質量%超であり、
前記トレッド部のトレッド接地面におけるランド比が74.0%超であり、
前記イソプレン系ゴムのゴム成分中の含有量(質量%)がA
IR
、前記シリカの充填剤中の含有量(質量%)がA
SIL
、前記ランド比(%)がLである場合において、A
IR
、A
SIL
およびLが下記式(1)を満たす、重荷重用タイヤである。
(1) A
IR
×A
SIL
×L/1000>408
【0010】
理論に拘束されることは意図しないが、本発明において、低燃費性能と高速乗り心地性能の総合が改善されるメカニズムとしては、以下が考えられる。すなわち、(a)タイヤの配合上の特徴からは、トレッド部を構成するゴム組成物に関して、イソプレン系ゴムおよびシリカがそれぞれ所定量以上であることで、走行時の周波数に依存する領域においてトレッド表面が微小な変形領域で柔軟になり、走行時の入力がトレッド部で吸収しやすくなると考えられる。このことは高速走行時にも期待できる。(b)タイヤの構造上の特徴からは、トレッド接地面におけるランド比(%)が所定値以上であることで、走行時の周波数に依存する領域においてトレッド表面の変形量が減量し、エネルギーロスの低下に寄与すると考えられる。このことは高速走行時にも期待できる。そして、上記(a)と(b)の両者が式(1)を満たすように調和することで、互いに協働し、タイヤ全体で低燃費性能および高速乗り心地性能に優れるという、特筆すべき効果が達成されると考えられる。
(【0011】以降は省略されています)
この特許をJ-PlatPat(特許庁公式サイト)で参照する
関連特許
住友ゴム工業株式会社
タイヤ
1か月前
住友ゴム工業株式会社
タイヤ
22日前
住友ゴム工業株式会社
タイヤ
14日前
住友ゴム工業株式会社
タイヤ
22日前
住友ゴム工業株式会社
タイヤ
1日前
住友ゴム工業株式会社
タイヤ
1か月前
住友ゴム工業株式会社
タイヤ
1か月前
住友ゴム工業株式会社
タイヤ
29日前
住友ゴム工業株式会社
タイヤ
1か月前
住友ゴム工業株式会社
タイヤ
23日前
住友ゴム工業株式会社
タイヤ
1か月前
住友ゴム工業株式会社
タイヤ
23日前
住友ゴム工業株式会社
タイヤ
25日前
住友ゴム工業株式会社
タイヤ
1か月前
住友ゴム工業株式会社
タイヤ
1か月前
住友ゴム工業株式会社
ラケット
2日前
住友ゴム工業株式会社
ゴルフボール
1か月前
住友ゴム工業株式会社
ゴルフボール
22日前
住友ゴム工業株式会社
バイアスタイヤ
28日前
住友ゴム工業株式会社
光硬化性組成物
2か月前
住友ゴム工業株式会社
重荷重用タイヤ
28日前
住友ゴム工業株式会社
重荷重用タイヤ
28日前
住友ゴム工業株式会社
空気入りタイヤ
1か月前
住友ゴム工業株式会社
空気入りタイヤ
1か月前
住友ゴム工業株式会社
空気入りタイヤ
1か月前
住友ゴム工業株式会社
重荷重用タイヤ
1か月前
住友ゴム工業株式会社
モデリング方法
1か月前
住友ゴム工業株式会社
モデリング方法
1か月前
住友ゴム工業株式会社
空気入りタイヤ
25日前
住友ゴム工業株式会社
空気入りタイヤ
25日前
住友ゴム工業株式会社
空気入りタイヤ
25日前
住友ゴム工業株式会社
空気入りタイヤ
24日前
住友ゴム工業株式会社
重荷重用タイヤ
1日前
住友ゴム工業株式会社
空気入りタイヤ
22日前
住友ゴム工業株式会社
重荷重用タイヤ
1日前
住友ゴム工業株式会社
重荷重用タイヤ
1日前
続きを見る
他の特許を見る