TOP
|
特許
|
意匠
|
商標
特許ウォッチ
Twitter
他の特許を見る
10個以上の画像は省略されています。
公開番号
2025171426
公報種別
公開特許公報(A)
公開日
2025-11-20
出願番号
2024076767
出願日
2024-05-09
発明の名称
重荷重用タイヤ
出願人
住友ゴム工業株式会社
代理人
弁理士法人朝日奈特許事務所
主分類
B60C
11/03 20060101AFI20251113BHJP(車両一般)
要約
【課題】ウェットグリップ性に優れた重荷重用タイヤの提供。
【解決手段】トレッド部ゴム組成物のイソプレン系のゴム成分中の含有量が85質量%超、シリカの充填剤中の含有量が60質量%超で、トレッド面が(a)2以上の周方向主溝(b)周方向主溝のうち一対の最外周方向主溝(c)ショルダー横溝、幅方向に延びるショルダーサイプの少なくとも一つを有し、イソプレン系ゴムのゴム成分中の含有量(質量%)がA
IR
、シリカの充填剤中の含有量(質量%)がA
SIL
、ゴム組成物の0℃損失正接が0℃tanδ、接地面での最外周方向主溝の合計面積(mm
2
)がS
MG
、接地面でのショルダー横溝とショルダーサイプの合計面積(mm
2
)がS
LG
とし、A
IR
、A
SIL
、0℃tanδ、S
MG
およびS
LG
が下記を満たす重荷重用タイヤ。
(1)S
LG
/S
MG
<0.40
(2)(A
IR
×A
SIL
×0℃tanδ)/(S
LG
/S
MG
)/1000>2.55
【選択図】なし
特許請求の範囲
【請求項1】
トレッド部を備えた重荷重用タイヤであって、
前記トレッド部は、イソプレン系ゴムを含むゴム成分およびシリカを含む充填剤を含むゴム組成物から構成された、トレッド面を含むゴム層を有し、
前記イソプレン系ゴムのゴム成分中の含有量が85質量%超であり、
前記シリカの充填剤中の含有量が60質量%超であり、
前記トレッド部のトレッド面が、(a)タイヤ周方向に連続して延びる2以上の周方向主溝と、(b)前記2以上の周方向主溝のうちタイヤ幅方向最外側に位置する一対の最外周方向主溝とトレッド端とで仕切られた一対のショルダー陸部と、および(c)前記ショルダー陸部上でタイヤ幅方向に延びるショルダー横溝およびタイヤ幅方向に延びるショルダーサイプの少なくとも一つとを有し、
前記イソプレン系ゴムのゴム成分中の含有量(質量%)がA
IR
、前記シリカの充填剤中の含有量(質量%)がA
SIL
、前記ゴム組成物の0℃における損失正接が0℃tanδ、前記トレッド部のトレッド接地面に占める一対の最外周方向主溝の合計面積(mm
2
)がS
MG
、前記トレッド接地面に占めるショルダー横溝およびショルダーサイプの合計面積(mm
2
)がS
LG
である場合において、A
IR
、A
SIL
、0℃tanδ、S
MG
およびS
LG
が下記式(1)および式(2)を満たす、重荷重用タイヤ。
(1) S
LG
/S
MG
<0.40
(2) (A
IR
×A
SIL
×0℃tanδ)/(S
LG
/S
MG
)/1000>2.55
続きを表示(約 510 文字)
【請求項2】
前記ゴム組成物の硬度が、64以上80以下である、請求項1記載の重荷重用タイヤ。
【請求項3】
前記ゴム組成物が樹脂を含む、請求項1または2記載の重荷重用タイヤ。
【請求項4】
前記シリカの平均一次粒子径が16nm未満である、請求項1または2記載の重荷重用タイヤ。
【請求項5】
前記充填剤が再生カーボンブラックを含む、請求項1または2記載の重荷重用タイヤ。
【請求項6】
前記式(1)の右辺が0.31である、請求項1または2記載の重荷重用タイヤ。
【請求項7】
前記式(1)の右辺が0.20である、請求項1または2記載の重荷重用タイヤ。
【請求項8】
前記式(1)の右辺が0.10である、請求項1または2記載の重荷重用タイヤ。
【請求項9】
A
SIL
が70超である、請求項1または2記載の重荷重用タイヤ。
【請求項10】
A
SIL
が80超である、請求項1または2記載の重荷重用タイヤ。
(【請求項11】以降は省略されています)
発明の詳細な説明
【技術分野】
【0001】
本発明は、重荷重用タイヤに関する。
続きを表示(約 3,400 文字)
【背景技術】
【0002】
トラック、バスなどの大型車両においても、従来、高度な安全性への配慮から、ウェットグリップ性能への要求が高まってきている。例えば、特許文献1には、重荷重用タイヤのキャップトレッドに、イソプレン系ゴム、ブタジエンゴムおよびスチレンブタジエンゴムからなる群から選ばれる少なくとも1種を含むゴム成分、カーボンブラックおよび所定の石油樹脂をそれぞれ所定量含むゴム組成物を用いることで、ウェットグリップ性能を改善することが記載されている。
【先行技術文献】
【特許文献】
【0003】
特開2021-109935号公報
【発明の概要】
【発明が解決しようとする課題】
【0004】
しかし、重荷重用タイヤについてのウェットグリップ性能の改善は、種々の側面から、引き続き求められている状況にある。
【0005】
本発明は、ウェットグリップ性能に優れた重荷重用タイヤを提供することを目的とする。
【課題を解決するための手段】
【0006】
本発明は、以下の重荷重用タイヤに関する。
トレッド部を備えた重荷重用タイヤであって、
前記トレッド部は、イソプレン系ゴムを含むゴム成分およびシリカを含む充填剤を含むトレッド部を備えた重荷重用タイヤであって、
前記トレッド部は、イソプレン系ゴムを含むゴム成分およびシリカを含む充填剤を含むゴム組成物から構成された、トレッド面を含むゴム層を有し、
前記イソプレン系ゴムのゴム成分中の含有量が85質量%超であり、
前記シリカの充填剤中の含有量が60質量%超であり、
前記トレッド部のトレッド面が、(a)タイヤ周方向に連続して延びる2以上の周方向主溝と、(b)前記2以上の周方向主溝のうちタイヤ幅方向最外側に位置する一対の最外周方向主溝とトレッド端とで仕切られた一対のショルダー陸部と、および(c)前記ショルダー陸部上でタイヤ幅方向に延びるショルダー横溝およびタイヤ幅方向に延びるショルダーサイプの少なくとも一つとを有し、
前記イソプレン系ゴムのゴム成分中の含有量(質量%)がA
IR
、前記シリカの充填剤中の含有量(質量%)がA
SIL
、前記ゴム組成物の0℃における損失正接が0℃tanδ、前記トレッド部のトレッド接地面に占める一対の最外周方向主溝の合計面積(mm
2
)がS
MG
、前記トレッド接地面に占めるショルダー横溝およびショルダーサイプの合計面積(mm
2
)がS
LG
である場合において、A
IR
、A
SIL
、0℃tanδ、S
MG
およびS
LG
が下記式(1)および式(2)を満たす、重荷重用タイヤ。
(1) S
LG
/S
MG
<0.40
(2) (A
IR
×A
SIL
×0℃tanδ)/(S
LG
/S
MG
)/1000>2.55
【発明の効果】
【0007】
本発明によれば、ウェットグリップ性能に優れた重荷重用タイヤを提供することができる。
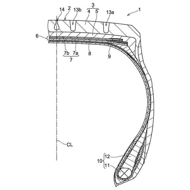
【図面の簡単な説明】
【0008】
本発明の一実施形態に係る重荷重用タイヤのタイヤ回転軸を含む平面による断面図である。
本発明の一実施形態に係る重荷重用タイヤのトレッド接地面を表した図である。
本発明の一実施形態に係る重荷重用タイヤのトレッド接地面を表した図である。
図3のC1-C1線における断面図である。
図3のC2-C2線における断面図である。
トレッド面を正面として補強層の構成を示す概念図である。
【発明を実施するための形態】
【0009】
以下、本発明の一実施形態である重荷重用タイヤについて説明する。本実施形態の重荷重用タイヤは、トレッド部を備えた重荷重用タイヤであって、
前記トレッド部は、イソプレン系ゴムを含むゴム成分およびシリカを含む充填剤を含むゴム組成物から構成された、トレッド面を含むゴム層を有し、
前記イソプレン系ゴムのゴム成分中の含有量が85質量%超であり、
前記シリカの充填剤中の含有量が60質量%超であり、
前記トレッド部のトレッド面が、(a)タイヤ周方向に連続して延びる2以上の周方向主溝と、(b)前記2以上の周方向主溝のうちタイヤ幅方向最外側に位置する一対の最外周方向主溝とトレッド端とで仕切られた一対のショルダー陸部と、および(c)前記ショルダー陸部上でタイヤ幅方向に延びるショルダー横溝およびタイヤ幅方向に延びるショルダーサイプの少なくとも一つとを有し、
前記イソプレン系ゴムのゴム成分中の含有量(質量%)がA
IR
、前記シリカの充填剤中の含有量(質量%)がA
SIL
、前記ゴム組成物の0℃における損失正接が0℃tanδ、前記トレッド部のトレッド接地面に占める一対の最外周方向主溝の合計面積(mm
2
)がS
MG
、前記トレッド接地面に占めるショルダー横溝およびショルダーサイプの合計面積(mm
2
)がS
LG
である場合において、A
IR
、A
SIL
、0℃tanδ、S
MG
およびS
LG
が下記式(1)および式(2)を満たす、重荷重用タイヤである。
(1) S
LG
/S
MG
<0.40
(2) (A
IR
×A
SIL
×0℃tanδ)/(S
LG
/S
MG
)/1000>2.55
【0010】
理論に拘束されることは意図しないが、本発明において、ウェットグリップ性能が改善されるメカニズムとしては、以下が考えられる。すなわち、(1)タイヤ特性として、式(1)を満たすことで、ショルダー部分のトレッド剛性が増大するとともに路面への接地面積が大きくなる。重荷重用タイヤでは荷重が大きいため、ブロックエッジによるグリップ効果の寄与は小さく、ハイドロプレーニング現象も発生しにくいため、ショルダー部分の接地面積が大きいほどウェットグリップ性能の向上に寄与すると考えられる。(2)一方、トレッド剛性は、低すぎると走行時のタイヤ変形が過大となり路面に対して抵抗できずグリップ力が低下し、高すぎると走行時のタイヤの変形が過少となり滑りが生じてグリップ力が低下する。このため、タイヤとして最適なグリップ力を発揮するには、適切なトレッド剛性が求められ、トレッド剛性とトレッドゴムの配合特性とを適切に組合せることにより、相乗的に性能向上に寄与できると考える。そこで、配合特性との組合せとして、式(2)を満たすことで、走行時の周波数に依存する領域においてトレッド表面が微小な変形領域で柔軟になり、湿潤路面へのゴムの追従性が向上しウェットグリップ性能の向上に寄与すると考えられる。(3)また、ゴム成分や充填剤の観点からは、いずれも種類が少ない方がゴム組成物中の構造の均一性が高まり、柔軟性が向上する。そこで、ゴム成分としては重荷重用タイヤとしての耐久性に鑑みてイソプレン系ゴムを選択し、充填剤としてはイソプレン系ゴムとの相互作用の小さいシリカを選択しているので、柔軟性の向上に寄与していると考えられる。(4)さらに、トレドゴムの0℃のtanδを高めることで、ゴムが発熱しやすくなり、ゴム温度が上昇するので、よりトレッド表面の柔軟性の向上に寄与すると考えられる。そして、これら(1)~(4)が協働することにより、タイヤ全体として、路面へのマクロな接地面積と、ミクロな接地面積が増大し、結果として、ウェットグリップ性能に優れるという、特筆すべき効果が達成されると考えられる。
(【0011】以降は省略されています)
この特許をJ-PlatPat(特許庁公式サイト)で参照する
関連特許
住友ゴム工業株式会社
タイヤ
25日前
住友ゴム工業株式会社
タイヤ
1か月前
住友ゴム工業株式会社
タイヤ
29日前
住友ゴム工業株式会社
タイヤ
23日前
住友ゴム工業株式会社
タイヤ
23日前
住友ゴム工業株式会社
タイヤ
22日前
住友ゴム工業株式会社
タイヤ
22日前
住友ゴム工業株式会社
タイヤ
1か月前
住友ゴム工業株式会社
タイヤ
1か月前
住友ゴム工業株式会社
タイヤ
14日前
住友ゴム工業株式会社
タイヤ
1日前
住友ゴム工業株式会社
タイヤ
1か月前
住友ゴム工業株式会社
タイヤ
1か月前
住友ゴム工業株式会社
タイヤ
1か月前
住友ゴム工業株式会社
タイヤ
2か月前
住友ゴム工業株式会社
タイヤ
1か月前
住友ゴム工業株式会社
ラケット
2日前
住友ゴム工業株式会社
ゴルフボール
1か月前
住友ゴム工業株式会社
ゴルフボール
22日前
住友ゴム工業株式会社
空気入りタイヤ
2か月前
住友ゴム工業株式会社
重荷重用タイヤ
28日前
住友ゴム工業株式会社
重荷重用タイヤ
28日前
住友ゴム工業株式会社
重荷重用タイヤ
2か月前
住友ゴム工業株式会社
重荷重用タイヤ
1か月前
住友ゴム工業株式会社
空気入りタイヤ
1か月前
住友ゴム工業株式会社
光硬化性組成物
2か月前
住友ゴム工業株式会社
空気入りタイヤ
1か月前
住友ゴム工業株式会社
モデリング方法
1か月前
住友ゴム工業株式会社
空気入りタイヤ
1か月前
住友ゴム工業株式会社
モデリング方法
1か月前
住友ゴム工業株式会社
バイアスタイヤ
28日前
住友ゴム工業株式会社
重荷重用タイヤ
2か月前
住友ゴム工業株式会社
空気入りタイヤ
25日前
住友ゴム工業株式会社
空気入りタイヤ
25日前
住友ゴム工業株式会社
重荷重用タイヤ
1日前
住友ゴム工業株式会社
空気入りタイヤ
25日前
続きを見る
他の特許を見る