TOP
|
特許
|
意匠
|
商標
特許ウォッチ
Twitter
他の特許を見る
10個以上の画像は省略されています。
公開番号
2025158454
公報種別
公開特許公報(A)
公開日
2025-10-17
出願番号
2024061006
出願日
2024-04-04
発明の名称
空気入りタイヤ
出願人
住友ゴム工業株式会社
代理人
個人
,
個人
,
個人
,
個人
主分類
B60C
9/08 20060101AFI20251009BHJP(車両一般)
要約
【課題】 ノイズ性能、操縦安定性能及び転がり抵抗性能を向上させることが可能な空気入りタイヤを提供する。
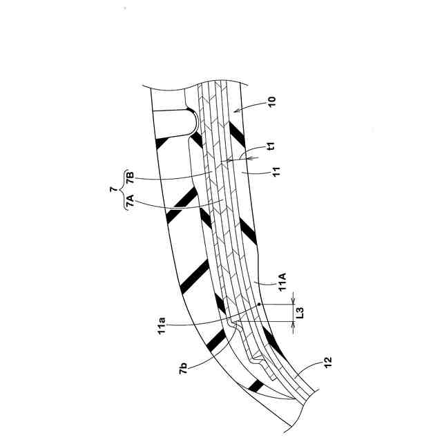
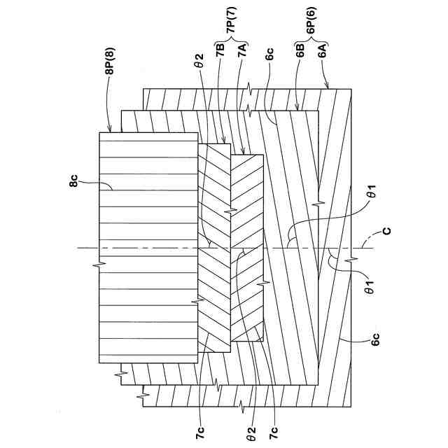
【解決手段】 空気入りタイヤ1は、トレッド部2と、一対のサイドウォール部3と、一対のビード部4と、一対のビード部4の間を延びるカーカス6と、カーカス6の内側で一対のビード部4の間を延びる内側ゴム10とを含んでいる。内側ゴム10は、トレッド部2を第1厚さt1で延びる第1部分11と、一対のサイドウォール部3を第2厚さt2で延びる第2部分12とを含んでいる。第1厚さt1は、第2厚さt2よりも大きく、カーカス6は、複数のカーカスコードが並列された少なくとも1枚のカーカスプライ6Pを含み、カーカスコードのタイヤ赤道に対する角度は、66~86度である。
【選択図】図1
特許請求の範囲
【請求項1】
空気入りタイヤであって、
トレッド部と、
一対のサイドウォール部と、
一対のビード部と、
前記一対のビード部の間を延びるカーカスと、
前記カーカスの内側で前記一対のビード部の間を延びる内側ゴムとを含み、
前記内側ゴムは、前記トレッド部を第1厚さで延びる第1部分と、前記一対のサイドウォール部を第2厚さで延びる第2部分とを含み、
前記第1厚さは、前記第2厚さよりも大きく、
前記カーカスは、複数のカーカスコードが並列された少なくとも1枚のカーカスプライを含み、
前記カーカスコードのタイヤ赤道に対する角度は、66~86度である、
空気入りタイヤ。
続きを表示(約 630 文字)
【請求項2】
前記トレッド部には、前記カーカスのタイヤ半径方向外側に、ベルト層が配されており、
前記ベルト層は、複数のベルトコードが並列された少なくとも1枚のベルトプライを含み、
前記ベルトコードのタイヤ赤道に対する角度は、28~46度である、請求項1に記載の空気入りタイヤ。
【請求項3】
前記ベルトプライは、第1ベルトプライと、前記第1ベルトプライのタイヤ半径方向の外側に配された第2ベルトプライとを含み、
前記第2ベルトプライのタイヤ軸方向の一対の外端は、前記第1ベルトプライのタイヤ軸方向の一対の外端よりもタイヤ軸方向の内側に位置し、
タイヤ赤道の各側において、前記第1部分のタイヤ軸方向の外端は、前記第2ベルトプライの前記外端とタイヤ軸方向で同じ位置にあるか、又は、前記第2ベルトプライの前記外端よりもタイヤ軸方向の内側で、かつ、タイヤ軸方向に10mm以内に位置する、請求項2に記載の空気入りタイヤ。
【請求項4】
前記第1厚さは、前記第2厚さの1.5~3.5倍である、請求項1に記載の空気入りタイヤ。
【請求項5】
前記第1厚さは、2.0~4.5mmである、請求項1に記載の空気入りタイヤ。
【請求項6】
前記第1部分は、前記第1部分のタイヤ軸方向の外端に向かって前記第1厚さが連続的に減少する部分を含む、請求項1に記載の空気入りタイヤ。
発明の詳細な説明
【技術分野】
【0001】
本発明は、空気入りタイヤに関する。
続きを表示(約 1,700 文字)
【背景技術】
【0002】
下記特許文献1には、空気入りタイヤが記載されている。このタイヤには、一対のビードコアと、トレッド部と一対のサイドウォール部を経て一対のビードコアに跨る少なくとも1枚のカーカスプライを有するカーカス層と、各ビードコアのタイヤ半径方向外側に配された第1ビードエイペックスゴムと、カーカス層のタイヤ半径方向外側に配されたベルト層とが含まれる。
【先行技術文献】
【特許文献】
【0003】
特開2021-172159号公報
【発明の概要】
【発明が解決しようとする課題】
【0004】
近年、SDGsなどの取り組みにより、環境に配慮した製品開発や、EVシフト(電気自動車の普及)が加速している。これにより、タイヤには、より一層の燃費性能の向上が要求されている。この燃費性能に直結する転がり抵抗性能については、例えば、タイヤの軽量化等によって向上させることが考えられる。しかしながら、このような軽量化は、ノイズ性能や、操縦安定性能の悪化を招くという問題があった。
【0005】
本発明は、以上のような実状に鑑み案出されたもので、ノイズ性能、操縦安定性能及び転がり抵抗性能を向上させることが可能な空気入りタイヤを提供することを主たる目的としている。
【課題を解決するための手段】
【0006】
本発明は、空気入りタイヤであって、トレッド部と、一対のサイドウォール部と、一対のビード部と、前記一対のビード部の間を延びるカーカスと、前記カーカスの内側で前記一対のビード部の間を延びる内側ゴムとを含み、前記内側ゴムは、前記トレッド部を第1厚さで延びる第1部分と、前記一対のサイドウォール部を第2厚さで延びる第2部分とを含み、前記第1厚さは、前記第2厚さよりも大きく、前記カーカスは、複数のカーカスコードが並列された少なくとも1枚のカーカスプライを含み、前記カーカスコードのタイヤ赤道に対する角度は、66~86度である、空気入りタイヤである。
【発明の効果】
【0007】
本発明の空気入りタイヤは、上記の構成を採用したことによって、ノイズ性能、操縦安定性能及び転がり抵抗性能を向上させることが可能となる。
【図面の簡単な説明】
【0008】
空気入りタイヤの一例を示す横断面図である。
図1のトレッド部の拡大断面図である。
カーカス、ベルト層及びバンド層の平面展開図である。
図2の第1部分の外端の拡大断面図である。
本発明の他の実施形態の内側ゴムの拡大断面図である。
本発明の他の実施形態の内側ゴムの拡大断面図である。
本発明の他の実施形態の内側ゴムの拡大断面図である。
【発明を実施するための形態】
【0009】
以下、本発明の実施形態が図面に基づき説明される。図面は、発明の内容の理解を助けるために、誇張表現や、実際の構造の寸法比とは異なる表現が含まれることが理解されなければならない。また、各実施形態を通して、同一又は共通する要素については同一の符号が付されており、重複する説明が省略される。さらに、実施形態及び図面に表された具体的な構成は、本発明の内容理解のためのものであって、本発明は、図示されている具体的な構成に限定されるものではない。
【0010】
[空気入りタイヤ(第1実施形態)]
図1は、空気入りタイヤ1の一例を示す横断面図である。図1では、正規状態における空気入りタイヤ(以下、「タイヤ」という場合がある。)1の回転軸を含む横断面が示されている。本実施形態のタイヤ1は、例えば、乗用車用タイヤとして好適に使用される。但し、タイヤ1は、乗用車用タイヤに限定されるものではなく、例えば、重荷重用タイヤ、二輪車用タイヤ、産業車両用タイヤ等、種々のタイヤに適用され得る。
(【0011】以降は省略されています)
この特許をJ-PlatPat(特許庁公式サイト)で参照する
関連特許
住友ゴム工業株式会社
タイヤ
9日前
住友ゴム工業株式会社
タイヤ
4日前
住友ゴム工業株式会社
タイヤ
16日前
住友ゴム工業株式会社
タイヤ
5日前
住友ゴム工業株式会社
タイヤ
10日前
住友ゴム工業株式会社
ゴルフボール
5日前
住友ゴム工業株式会社
モデリング方法
10日前
住友ゴム工業株式会社
モデリング方法
10日前
住友ゴム工業株式会社
光硬化性組成物
1か月前
住友ゴム工業株式会社
空気入りタイヤ
2日前
住友ゴム工業株式会社
重荷重用タイヤ
5日前
住友ゴム工業株式会社
自動二輪車用タイヤ
17日前
住友ゴム工業株式会社
ゴルフクラブヘッド
23日前
住友ゴム工業株式会社
高分子複合体の解析方法
2日前
住友ゴム工業株式会社
加硫ゴムの物性値の予測方法
5日前
住友ゴム工業株式会社
タイヤの性能評価方法及び性能評価装置
20日前
住友ゴム工業株式会社
タイヤ性能評価方法及びタイヤ性能評価装置
5日前
住友ゴム工業株式会社
天然ゴムラテックス用凝固剤及び天然ゴムの製造方法
23日前
住友ゴム工業株式会社
光硬化性組成物およびこれからなる成形体
5日前
個人
カーテント
4か月前
個人
タイヤレバー
2か月前
個人
前輪キャスター
1か月前
個人
上部一体型自動車
16日前
個人
車輪清掃装置
4か月前
個人
タイヤ脱落防止構造
1か月前
個人
ルーフ付きトライク
2か月前
個人
ホイルのボルト締結
3か月前
日本精機株式会社
表示装置
2か月前
個人
キャンピングトライク
4か月前
個人
マスタシリンダ
23日前
日本精機株式会社
表示装置
2か月前
井関農機株式会社
作業車両
4か月前
日本精機株式会社
表示装置
2か月前
日本精機株式会社
表示装置
2か月前
個人
車両通過構造物
2か月前
井関農機株式会社
作業車両
4か月前
続きを見る
他の特許を見る