TOP
|
特許
|
意匠
|
商標
特許ウォッチ
Twitter
他の特許を見る
公開番号
2025162441
公報種別
公開特許公報(A)
公開日
2025-10-27
出願番号
2024065741
出願日
2024-04-15
発明の名称
タイヤ
出願人
住友ゴム工業株式会社
代理人
個人
,
個人
,
個人
,
個人
主分類
B60C
11/01 20060101AFI20251020BHJP(車両一般)
要約
【課題】マッド性能、ウェット性能及び発熱耐久性能を向上することができるタイヤを提供する。
【解決手段】第1ショルダーブロック5を含むタイヤ1である。第1ショルダーブロック5は、第1トレッド端T1を形成する第1踏面11と、第1トレッド端T1からタイヤ半径方向内側に延びる第1側壁面12とを含む第1部分7、及び、第2トレッド端T2を形成する第2踏面15と、第2トレッド端T2からタイヤ半径方向内側に延びる第2側壁面16とを含む第2部分8を含む。第2踏面15は、第2トレッド端T2が第1トレッド端T1よりもタイヤ半径方向内側に位置するように、少なくとも一部が第1踏面11よりもタイヤ半径方向内側に凹んだ凹み部18を含む。第2側壁面16には、凹部19が形成されている。凹部19は、ショルダー横溝3からタイヤ周方向に延び、かつ、第1ショルダーブロック5内に底部20を有する。
【選択図】図2
特許請求の範囲
【請求項1】
トレッド部を有するタイヤであって、
前記トレッド部には、複数のショルダー横溝と、前記複数のショルダー横溝によって区分された複数のショルダーブロックとが形成されており、
前記複数のショルダーブロックは、少なくとも1つの第1ショルダーブロックを含み、
前記第1ショルダーブロックは、第1のタイヤ周方向端を含む第1部分と、第2のタイヤ周方向端を含む第2部分とを含み、
前記第1部分は、第1トレッド端を形成する第1踏面と、前記第1トレッド端からタイヤ半径方向内側に延びる第1側壁面とを含み、
前記第2部分は、第2トレッド端を形成する第2踏面と、前記第2トレッド端からタイヤ半径方向内側に延びる第2側壁面とを含み、
前記第2踏面は、前記第2トレッド端が前記第1トレッド端よりもタイヤ半径方向内側に位置するように、少なくとも一部が前記第1踏面よりもタイヤ半径方向内側に凹んだ凹み部を含み、
前記第2側壁面には、タイヤ軸方向内側に窪んだ凹部が形成されており、
前記凹部は、前記第2側壁面に隣接する前記複数のショルダー横溝の一つからタイヤ周方向に延び、かつ、前記第1ショルダーブロック内に底部を有する、
タイヤ。
続きを表示(約 900 文字)
【請求項2】
前記複数のショルダーブロックは、少なくとも1つの第2ショルダーブロックを含み、
前記第2ショルダーブロックは、前記複数のショルダー横溝の一つを介して、前記第1ショルダーブロックに隣接しており、
前記第2ショルダーブロックは、前記ショルダー横溝の一つの溝中心線に関して、前記第1ショルダーブロックの線対称形状を有する、請求項1に記載のタイヤ。
【請求項3】
前記第1ショルダーブロックのタイヤ周方向の長さは、前記第1ショルダーブロックの前記第1のタイヤ周方向端と、前記第2ショルダーブロックの前記第1のタイヤ周方向端との間のタイヤ周方向の離隔距離の20%~60%である、請求項2に記載のタイヤ。
【請求項4】
前記第1踏面と前記凹み部との間のタイヤ半径方向の離隔距離は、前記第2トレッド端側に向かって連続して大きくなる、請求項1に記載のタイヤ。
【請求項5】
前記離隔距離は、トレッド幅の5%以下である、請求項4に記載のタイヤ。
【請求項6】
前記凹み部のタイヤ軸方向の長さは、前記第1ショルダーブロックのタイヤ周方向の長さの15%~30%である、請求項1に記載のタイヤ。
【請求項7】
前記凹部は、タイヤ軸方向の外側を向く外向き面を含み、
前記外向き面を通るタイヤ子午線断面において、
前記外向き面と前記第2側壁面との間の角度は、45~120度である、請求項1ないし6のいずれか1項に記載のタイヤ。
【請求項8】
前記第2側壁面は、前記第1側壁面よりもタイヤ軸方向の内側に位置する、請求項1ないし6のいずれか1項に記載のタイヤ。
【請求項9】
前記第1側壁面と前記第2側壁面との間の離隔距離は、1mm以上である、請求項8に記載のタイヤ。
【請求項10】
前記第2側壁面は、前記第2側壁面に隣接する前記ショルダー横溝の溝底から隆起している、請求項1ないし6のいずれか1項に記載のタイヤ。
(【請求項11】以降は省略されています)
発明の詳細な説明
【技術分野】
【0001】
本発明は、タイヤに関する。
続きを表示(約 1,600 文字)
【背景技術】
【0002】
下記特許文献1には、サイドウォール部に、サイドプロテクタがタイヤ周方向に配された空気入りタイヤが記載されている。前記サイドプロテクタは、第1方向に傾斜する第1傾斜溝部が設けられた第1プロテクタと、第2方向に傾斜する第2傾斜溝部が設けられた第2プロテクタとを含んでいる。この空気入りタイヤは、泥濘地での優れたオフロード性能を発揮するとされている。
【先行技術文献】
【特許文献】
【0003】
特開2021-003948号公報
【発明の概要】
【発明が解決しようとする課題】
【0004】
近年、泥濘地での走行性能であるマッド性能のみならず、ウェット性能や発熱耐久性能を向上することが求められている。
【0005】
本発明は、以上のような実状に鑑み案出されたもので、マッド性能、ウェット性能及び発熱耐久性能を向上することができるタイヤを提供することを主たる目的としている。
【課題を解決するための手段】
【0006】
トレッド部を有するタイヤであって、前記トレッド部には、複数のショルダー横溝と、前記複数のショルダー横溝によって区分された複数のショルダーブロックとが形成されており、前記複数のショルダーブロックは、少なくとも1つの第1ショルダーブロックを含み、前記第1ショルダーブロックは、第1のタイヤ周方向端を含む第1部分と、第2のタイヤ周方向端を含む第2部分とを含み、前記第1部分は、第1トレッド端を形成する第1踏面と、前記第1トレッド端からタイヤ半径方向内側に延びる第1側壁面とを含み、前記第2部分は、第2トレッド端を形成する第2踏面と、前記第2トレッド端からタイヤ半径方向内側に延びる第2側壁面とを含み、前記第2踏面は、前記第2トレッド端が前記第1トレッド端よりもタイヤ半径方向内側に位置するように、少なくとも一部が前記第1踏面よりもタイヤ半径方向内側に凹んだ凹み部を含み、前記第2側壁面には、タイヤ軸方向内側に窪んだ凹部が形成されており、前記凹部は、前記第2側壁面に隣接する前記複数のショルダー横溝の一つからタイヤ周方向に延び、かつ、前記第1ショルダーブロック内に底部を有する、タイヤである。
【発明の効果】
【0007】
本発明は、上記の構成を採用することで、マッド性能、ウェット性能及び発熱耐久性能を向上することができる。
【図面の簡単な説明】
【0008】
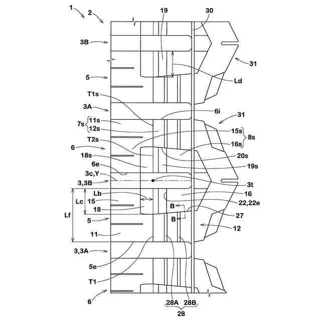
本発明の一実施形態のタイヤのトレッド部のタイヤ子午線断面図である。
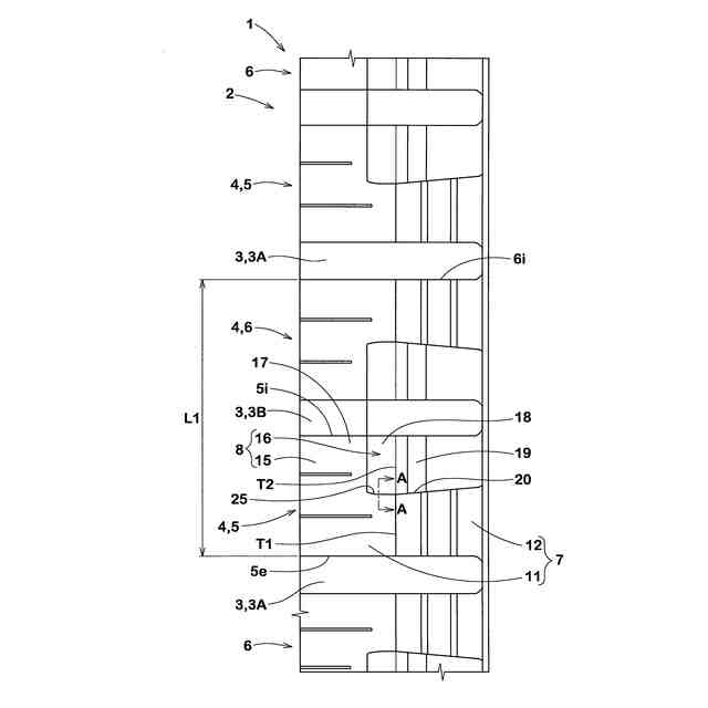
図1のタイヤのトレッド部の部分展開図である。
図2に示されたトレッド部の斜視断面図である。
図1の第1トレッド端T1付近の拡大図である。
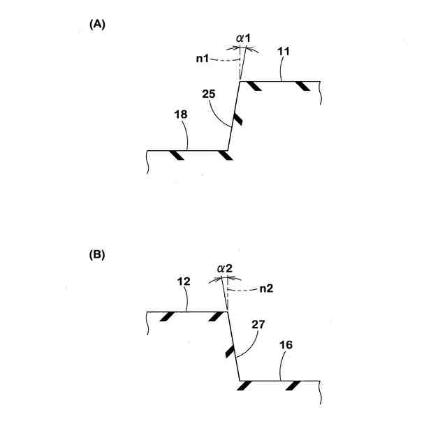
(A)は、図2のA-A線断面図、(B)は、図6のB-B線断面図である。
図1のタイヤのトレッド部の部分展開図である。
図6に示されたトレッド部の斜視断面図である。
【発明を実施するための形態】
【0009】
以下、本発明の実施の一形態が図面に基づき説明される。
図面は、本発明の理解を助けるために、誇張表現や、実際の構造の寸法比とは異なる表現が含まれている。また、複数の実施形態がある場合、明細書を通して、同一又は共通する要素については同一の符号が付されており、重複する説明が省略される。
【0010】
図1は、本発明のタイヤ1の一実施形態のトレッド部2のタイヤ子午線断面図である。本発明は、例えば、泥濘路面での走行が可能な乗用車用(SUV用)の空気入りタイヤに好適に用いられる。なお、本発明は、例えば、重荷重用の空気入りタイヤやタイヤの内部に加圧された空気が充填されない非空気式タイヤに採用されても良い。
(【0011】以降は省略されています)
この特許をJ-PlatPat(特許庁公式サイト)で参照する
関連特許
住友ゴム工業株式会社
タイヤ
1か月前
住友ゴム工業株式会社
タイヤ
23日前
住友ゴム工業株式会社
タイヤ
15日前
住友ゴム工業株式会社
タイヤ
23日前
住友ゴム工業株式会社
タイヤ
2日前
住友ゴム工業株式会社
タイヤ
1か月前
住友ゴム工業株式会社
タイヤ
1か月前
住友ゴム工業株式会社
タイヤ
1か月前
住友ゴム工業株式会社
タイヤ
1か月前
住友ゴム工業株式会社
タイヤ
24日前
住友ゴム工業株式会社
タイヤ
1か月前
住友ゴム工業株式会社
タイヤ
24日前
住友ゴム工業株式会社
タイヤ
26日前
住友ゴム工業株式会社
タイヤ
1か月前
住友ゴム工業株式会社
タイヤ
1か月前
住友ゴム工業株式会社
ラケット
3日前
住友ゴム工業株式会社
ゴルフボール
1か月前
住友ゴム工業株式会社
ゴルフボール
23日前
住友ゴム工業株式会社
バイアスタイヤ
29日前
住友ゴム工業株式会社
光硬化性組成物
2か月前
住友ゴム工業株式会社
重荷重用タイヤ
29日前
住友ゴム工業株式会社
重荷重用タイヤ
29日前
住友ゴム工業株式会社
空気入りタイヤ
1か月前
住友ゴム工業株式会社
空気入りタイヤ
1か月前
住友ゴム工業株式会社
空気入りタイヤ
1か月前
住友ゴム工業株式会社
重荷重用タイヤ
1か月前
住友ゴム工業株式会社
モデリング方法
1か月前
住友ゴム工業株式会社
モデリング方法
1か月前
住友ゴム工業株式会社
空気入りタイヤ
26日前
住友ゴム工業株式会社
空気入りタイヤ
26日前
住友ゴム工業株式会社
空気入りタイヤ
26日前
住友ゴム工業株式会社
空気入りタイヤ
25日前
住友ゴム工業株式会社
重荷重用タイヤ
2日前
住友ゴム工業株式会社
空気入りタイヤ
23日前
住友ゴム工業株式会社
重荷重用タイヤ
2日前
住友ゴム工業株式会社
重荷重用タイヤ
2日前
続きを見る
他の特許を見る