TOP
|
特許
|
意匠
|
商標
特許ウォッチ
Twitter
他の特許を見る
公開番号
2025167286
公報種別
公開特許公報(A)
公開日
2025-11-07
出願番号
2024071762
出願日
2024-04-25
発明の名称
タイヤ
出願人
住友ゴム工業株式会社
代理人
個人
,
個人
,
個人
主分類
B60C
11/12 20060101AFI20251030BHJP(車両一般)
要約
【課題】耐摩耗性能とウエットグリップ性能との総合性能のさらなる向上を図る。
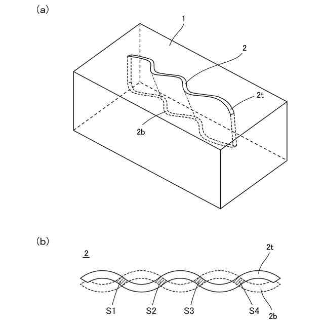
【解決手段】トレッド部を備えるタイヤであって、トレッド部の陸部1に、幅:2mm以下×深さ:20mm以下の溝2が、前記トレッド部の表面から平面視したとき、捻れ形状で、溝の開口部2tと溝の溝底部2bとで交差する交差部が、長手方向に2個以上、互いに離間して形成されるように設けられており、交差部の面積の合計が、開口部をトレッド部の表面から平面視したときの面積に対して、95%以下であり、トレッド部は、ゴム成分と、ゴム成分100質量部に対して20質量部以上の補強充填剤とを含有するゴム組成物によって形成されており、さらに、溝1本あたりの交差部の数をX(個)、補強充填剤の含有量をY(質量部)とするとき、X×Y>100であるタイヤ。
【選択図】図1
特許請求の範囲
【請求項1】
トレッド部を備えるタイヤであって、
前記トレッド部の陸部に、幅:2mm以下×深さ:20mm以下の溝が、前記トレッド部の表面から平面視したとき、捻れ形状で、前記溝の開口部と前記溝の溝底部とで交差する交差部が、長手方向に2個以上、互いに離間して形成されるように設けられており、
前記交差部の面積の合計が、前記開口部を前記トレッド部の表面から平面視したときの面積に対して、95%以下であり、
前記トレッド部は、ゴム成分と、前記ゴム成分100質量部に対して20質量部以上の補強充填剤とを含有するゴム組成物によって形成されており、
さらに、前記溝1本あたりの前記交差部の数をX(個)、前記補強充填剤の含有量をY(質量部)とするとき、X×Y>100であることを特徴とするタイヤ。
続きを表示(約 720 文字)
【請求項2】
前記交差部の面積の合計が、前記開口部を前記トレッド部の表面から平面視したときの面積に対して、90%以下であることを特徴とする請求項1に記載のタイヤ。
【請求項3】
前記交差部の面積の合計が、前記開口部を前記トレッド部の表面から平面視したときの面積に対して、70%以下であることを特徴とする請求項2に記載のタイヤ。
【請求項4】
前記交差部の面積の合計が、前記開口部を前記トレッド部の表面から平面視したときの面積に対して、10%以上であることを特徴とする請求項1ないし請求項3のいずれか1項に記載のタイヤ。
【請求項5】
前記補強充填剤の含有量Yが、ゴム成分100質量部に対して40質量部超であることを特徴とする請求項1ないし請求項3のいずれか1項に記載のタイヤ。
【請求項6】
前記補強充填剤の含有量Yが、ゴム成分100質量部に対して180質量部未満であることを特徴とする請求項5に記載のタイヤ。
【請求項7】
前記溝1本あたりの前記交差部の数X(個)が、3個以上であることを特徴とする請求項1ないし請求項3のいずれか1項に記載のタイヤ。
【請求項8】
前記溝1本あたりの前記交差部の数X(個)が、10個以下であることを特徴とする請求項7に記載のタイヤ。
【請求項9】
前記X×Yが、130超であることを特徴とする請求項1ないし請求項3のいずれか1項に記載のタイヤ。
【請求項10】
前記X×Yが、160超であることを特徴とする請求項9に記載のタイヤ。
(【請求項11】以降は省略されています)
発明の詳細な説明
【技術分野】
【0001】
本発明は、タイヤに関する。
続きを表示(約 1,400 文字)
【背景技術】
【0002】
タイヤの耐摩耗性能とグリップ性能とは二律背反の関係にあるため、耐摩耗性能とグリップ性能を両立させることは容易なことではない。このような状況下、特許文献1には、ゴム成分と充填剤とを含むゴム組成物で形成されたトレッド部の表面に溝が形成されたタイヤが記載されているが、未だ十分とは言えず、耐摩耗性能とグリップ性能(特に、ウエットグリップ性能)との総合性能のさらなる向上が望まれている。
【先行技術文献】
【特許文献】
【0003】
特開2023-149903号公報
【発明の概要】
【発明が解決しようとする課題】
【0004】
本発明は、耐摩耗性能とウエットグリップ性能との総合性能のさらなる向上を図ることを課題とする。
【課題を解決するための手段】
【0005】
本発明は、
トレッド部を備えるタイヤであって、
前記トレッド部の陸部に、幅:2mm以下×深さ:20mm以下の溝が、前記トレッド部の表面から平面視したとき、捻れ形状で、前記溝の開口部と前記溝の溝底部とで交差する交差部が、長手方向に2個以上、互いに離間して形成されるように設けられており、
前記交差部の面積の合計が、前記開口部を前記トレッド部の表面から平面視したときの面積に対して、95%以下であり、
前記トレッド部は、ゴム成分と、前記ゴム成分100質量部に対して20質量部以上の補強充填剤とを含有するゴム組成物によって形成されており、
さらに、前記溝1本あたりの前記交差部の数をX(個)、前記補強充填剤の含有量をY(質量部)とするとき、X×Y>100であることを特徴とするタイヤである。
【発明の効果】
【0006】
本発明によれば、耐摩耗性能とウエットグリップ性能との総合性能のさらなる向上を図ることができる。
【図面の簡単な説明】
【0007】
本発明に係るタイヤにおけるサイプについて説明する図である。
【発明を実施するための形態】
【0008】
[1]本開示に係るタイヤの特徴
最初に、本開示に係るタイヤの特徴について説明する。
【0009】
1.概要
本発明に係るタイヤは、トレッド部を備えるタイヤであり、トレッド部の陸部には、幅:2mm以下×深さ:20mm以下の溝が、トレッド部の表面から平面視したとき、捻れ形状で、溝の開口部と溝底部とで交差する交差部が、長手方向に2個以上、互いに離間して形成されるように設けられている。そして、交差部の面積の合計(総面積)が、前記開口部を前記トレッド部の表面から平面視したときの面積に対して、95%以下である。また、トレッド部は、ゴム成分と、ゴム成分100質量部に対して20質量部以上の補強充填剤とを含有するゴム組成物によって形成されている。さらに、溝1本あたりの交差部の数をX(個)、補強充填剤の含有量をY(質量部)とするとき、X×Y>100である。
【0010】
これらの特徴を有することにより、耐摩耗性能とウエットグリップ性能との総合性能のさらなる向上を図ることができる。
(【0011】以降は省略されています)
この特許をJ-PlatPat(特許庁公式サイト)で参照する
関連特許
住友ゴム工業株式会社
タイヤ
1か月前
住友ゴム工業株式会社
タイヤ
1か月前
住友ゴム工業株式会社
タイヤ
1か月前
住友ゴム工業株式会社
タイヤ
1か月前
住友ゴム工業株式会社
タイヤ
1か月前
住友ゴム工業株式会社
タイヤ
1か月前
住友ゴム工業株式会社
タイヤ
23日前
住友ゴム工業株式会社
タイヤ
1か月前
住友ゴム工業株式会社
タイヤ
1か月前
住友ゴム工業株式会社
タイヤ
1か月前
住友ゴム工業株式会社
タイヤ
1か月前
住友ゴム工業株式会社
タイヤ
10日前
住友ゴム工業株式会社
タイヤ
1か月前
住友ゴム工業株式会社
タイヤ
1か月前
住友ゴム工業株式会社
タイヤ
1か月前
住友ゴム工業株式会社
ラケット
11日前
住友ゴム工業株式会社
ゴルフボール
1か月前
住友ゴム工業株式会社
ゴルフボール
1か月前
住友ゴム工業株式会社
重荷重用タイヤ
1か月前
住友ゴム工業株式会社
空気入りタイヤ
1か月前
住友ゴム工業株式会社
空気入りタイヤ
1か月前
住友ゴム工業株式会社
空気入りタイヤ
1か月前
住友ゴム工業株式会社
空気入りタイヤ
1か月前
住友ゴム工業株式会社
空気入りタイヤ
1か月前
住友ゴム工業株式会社
バイアスタイヤ
1か月前
住友ゴム工業株式会社
重荷重用タイヤ
1か月前
住友ゴム工業株式会社
空気入りタイヤ
1か月前
住友ゴム工業株式会社
空気入りタイヤ
1か月前
住友ゴム工業株式会社
空気入りタイヤ
1か月前
住友ゴム工業株式会社
重荷重用タイヤ
10日前
住友ゴム工業株式会社
重荷重用タイヤ
1か月前
住友ゴム工業株式会社
モデリング方法
1か月前
住友ゴム工業株式会社
モデリング方法
1か月前
住友ゴム工業株式会社
重荷重用タイヤ
10日前
住友ゴム工業株式会社
重荷重用タイヤ
10日前
住友ゴム工業株式会社
重荷重用タイヤ
10日前
続きを見る
他の特許を見る