TOP
|
特許
|
意匠
|
商標
特許ウォッチ
Twitter
他の特許を見る
10個以上の画像は省略されています。
公開番号
2025171428
公報種別
公開特許公報(A)
公開日
2025-11-20
出願番号
2024076769
出願日
2024-05-09
発明の名称
重荷重用タイヤ
出願人
住友ゴム工業株式会社
代理人
弁理士法人朝日奈特許事務所
主分類
B60C
11/00 20060101AFI20251113BHJP(車両一般)
要約
【課題】低燃費性能と耐摩耗性能の総合性能に優れた重荷重用タイヤを提供する。
【解決手段】トレッド部を備えた重荷重用タイヤであって、前記トレッド部は、イソプレン系ゴムを含むゴム成分およびシリカを含む充填剤を含むゴム組成物から構成された、トレッド面を含むゴム層を有し、前記イソプレン系ゴムのゴム成分中の含有量(質量%)をAとし、前記シリカの充填剤中の含有量(質量%)をBとし、タイヤ内腔面に対する法線方向で測定される前記トレッド部のショルダーの最大厚さをC(mm)とし、前記トレッド部を構成するゴム組成物の70℃におけるtanδをDとしたとき、Aが85質量%超であり、Bが60質量%超であり、Cが41mm未満であり、A~Dが式(1)の関係をみたす、重荷重用タイヤ。
(1)(A×B)/(C×D)>1300
【選択図】図1
特許請求の範囲
【請求項1】
トレッド部を備えた重荷重用タイヤであって、
前記トレッド部は、イソプレン系ゴムを含むゴム成分およびシリカを含む充填剤を含むゴム組成物から構成された、トレッド面を含むゴム層を有し、
前記イソプレン系ゴムのゴム成分中の含有量(質量%)をAとし、
前記シリカの充填剤中の含有量(質量%)をBとし、
タイヤ内腔面に対する法線方向で測定される前記トレッド部のショルダーの最大厚さをC(mm)とし、前記トレッド部を構成するゴム組成物の70℃におけるtanδをDとしたとき、
Aが85質量%超であり、Bが60質量%超であり、Cが41mm未満であり、A~Dが式(1)の関係をみたす、重荷重用タイヤ。
(1) (A×B)/(C×D)>1300
続きを表示(約 640 文字)
【請求項2】
前記ゴム組成物の硬度が64以上80以下である、請求項1記載の重荷重用タイヤ。
【請求項3】
前記シリカの平均一次粒子径が16nm未満である、請求項1または2記載の重荷重用タイヤ。
【請求項4】
Bが70質量%超である、請求項1または2記載の重荷重用タイヤ。
【請求項5】
Bが85質量%超である、請求項1または2記載の重荷重用タイヤ。
【請求項6】
Aが90質量%超である、請求項1または2記載の重荷重用タイヤ。
【請求項7】
Cが39mm未満である、請求項1または2記載の重荷重用タイヤ。
【請求項8】
Cが30mm超である、請求項1または2記載の重荷重用タイヤ。
【請求項9】
Dが0.05未満である、請求項1または2記載の重荷重用タイヤ。
【請求項10】
前記トレッド部のトレッド面が、タイヤ周方向に延びる少なくとも一つのフラスコ状周方向溝およびタイヤ幅方向に延びる少なくとも一つのフラスコ状幅方向サイプのうちの少なくとも一つを有し、前記フラスコ状周方向溝および前記フラスコ状幅方向サイプは、それぞれ、溝幅の狭い首部と、前記首部よりもタイヤ径方向の内側に配置され、前記首部の最大溝幅よりも大きい溝幅の部分を有する胴部とを含むものである、請求項1または2記載の重荷重用タイヤ。
(【請求項11】以降は省略されています)
発明の詳細な説明
【技術分野】
【0001】
本発明は、重荷重用タイヤに関する。
続きを表示(約 2,000 文字)
【背景技術】
【0002】
トラック、バスなどの大型車両においても、環境規制、ラベリング制度の導入、カーボンニュートラルへの対応から、使用する重荷重用タイヤについて、低燃費性能の要求がより一層高まっている。例えば、特許文献1には、重荷重用空気入りタイヤにおいて、そのトレッド部がモジュラス等の所定の条件を満たすキャップゴム層とベースゴム層とからなることにより、低燃費性能が改善されることが記載されている。
【先行技術文献】
【特許文献】
【0003】
特開2022-114651号公報
【発明の概要】
【発明が解決しようとする課題】
【0004】
しかし、低燃費性能を重視した配合では耐摩耗性能が背反性能となるため、低燃費性能と耐摩耗性能を両立することが重要である。また、サスティナブルの観点から天然由来の材料やリサイクル可能な材料の使用率についても注目が高まっている。
【0005】
本発明は、低燃費性能と耐摩耗性能の総合性能に優れた重荷重用タイヤを提供することを目的とする。
【課題を解決するための手段】
【0006】
本発明は、以下の重荷重用タイヤに関する。
トレッド部を備えた重荷重用タイヤであって、
前記トレッド部は、イソプレン系ゴムを含むゴム成分およびシリカを含む充填剤を含むゴム組成物から構成された、トレッド面を含むゴム層を有し、
前記イソプレン系ゴムのゴム成分中の含有量(質量%)をAとし、
前記シリカの充填剤中の含有量(質量%)をBとし、
タイヤ内腔面に対する法線方向で測定される前記トレッド部のショルダーの最大厚さをC(mm)とし、前記トレッド部を構成するゴム組成物の70℃におけるtanδをDとしたとき、
Aが85質量%超であり、Bが60質量%超であり、Cが41mm未満であり、A~Dが式(1)の関係をみたす、重荷重用タイヤ。
(1) (A×B)/(C×D)>1300
【発明の効果】
【0007】
本発明によれば、低燃費性能と耐摩耗性能の総合性能に優れた重荷重用タイヤを提供することができる。
【0008】
理論に拘束されることは意図しないが、本発明において、低燃費性能と耐摩耗性能の総合性能が改善されるメカニズムとしては、以下が考えられる。すなわち、(A)イソプレン系ゴム(IR系ゴム)の含有量を85質量%超とすることで、重荷重用タイヤとして満足し得るゴム強度の確保、および、ゴム成分の発熱の低下に寄与すると考える。(B)充填剤の中でシリカは低発熱性であるため、シリカの充填剤中の含有量を60質量%超とすることで、ゴムの発熱低下に寄与すると考える。(C)トレッド部のショルダーの最大厚さを41mm未満とすることによって、トレッドが走行中に動きにくくなり、それによりタイヤの発熱を抑制することができると考える。(D)70℃tanδはゴムの発熱性を表す指標であり、低燃費性能に関係する。そして、式(1)を満たすように、IR系ゴムの含有量と、充填剤中のシリカの含有量と、トレッド部のショルダーの最大厚さと、トレッド部を構成するゴム組成物の70℃tanδとのバランスをとることで、上記(A)~(D)が協働して、発熱性能と耐摩耗性能をバランスよく向上させていると考えられる。
【図面の簡単な説明】
【0009】
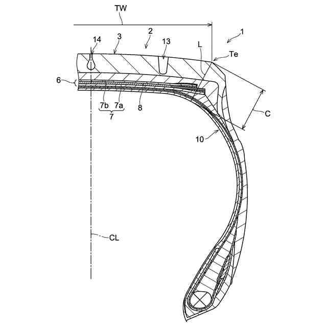
本発明の一実施形態に係る重荷重用タイヤのタイヤ回転軸を含む平面による断面図である。
図1のタイヤのトレッド部の展開図である。
図2のC1-C1線における断面図である。
図2のC2-C2線における断面図である。
トレッド面を正面として補強層の構成を示す概念図である。
【発明を実施するための形態】
【0010】
以下、本発明の一実施形態である重荷重用タイヤについて説明する。本実施形態の重荷重用タイヤは、トレッド部を備えた重荷重用タイヤであって、前記トレッド部はイソプレン系ゴムを含むゴム成分およびシリカを含む充填剤を含むゴム組成物から構成された、トレッド面を含むゴム層を有し、前記イソプレン系ゴムのゴム成分中の含有量(質量%)をAとし、前記シリカの充填剤中の含有量(質量%)をBとし、タイヤ内腔面に対する法線方向で測定される前記トレッド部のショルダーの最大厚さをC(mm)とし、前記トレッド部を構成するゴム組成物の70℃におけるtanδをDとしたとき、Aが85質量%超であり、Bが60質量%超であり、Cが41mm未満であり、A~Dが式(1)の関係をみたす、重荷重用タイヤである。
(1) (A×B)/(C×D)>1300
(【0011】以降は省略されています)
この特許をJ-PlatPat(特許庁公式サイト)で参照する
関連特許
住友ゴム工業株式会社
タイヤ
2か月前
住友ゴム工業株式会社
タイヤ
1か月前
住友ゴム工業株式会社
タイヤ
23日前
住友ゴム工業株式会社
タイヤ
23日前
住友ゴム工業株式会社
タイヤ
22日前
住友ゴム工業株式会社
タイヤ
22日前
住友ゴム工業株式会社
タイヤ
29日前
住友ゴム工業株式会社
タイヤ
1か月前
住友ゴム工業株式会社
タイヤ
14日前
住友ゴム工業株式会社
タイヤ
1日前
住友ゴム工業株式会社
タイヤ
1か月前
住友ゴム工業株式会社
タイヤ
1か月前
住友ゴム工業株式会社
タイヤ
1か月前
住友ゴム工業株式会社
タイヤ
1か月前
住友ゴム工業株式会社
タイヤ
1か月前
住友ゴム工業株式会社
タイヤ
25日前
住友ゴム工業株式会社
ラケット
2日前
住友ゴム工業株式会社
ゴルフボール
1か月前
住友ゴム工業株式会社
ゴルフボール
22日前
住友ゴム工業株式会社
モデリング方法
1か月前
住友ゴム工業株式会社
空気入りタイヤ
1か月前
住友ゴム工業株式会社
空気入りタイヤ
1か月前
住友ゴム工業株式会社
空気入りタイヤ
1か月前
住友ゴム工業株式会社
重荷重用タイヤ
1か月前
住友ゴム工業株式会社
重荷重用タイヤ
28日前
住友ゴム工業株式会社
光硬化性組成物
2か月前
住友ゴム工業株式会社
空気入りタイヤ
2か月前
住友ゴム工業株式会社
重荷重用タイヤ
28日前
住友ゴム工業株式会社
バイアスタイヤ
28日前
住友ゴム工業株式会社
モデリング方法
1か月前
住友ゴム工業株式会社
空気入りタイヤ
25日前
住友ゴム工業株式会社
空気入りタイヤ
25日前
住友ゴム工業株式会社
空気入りタイヤ
25日前
住友ゴム工業株式会社
空気入りタイヤ
24日前
住友ゴム工業株式会社
重荷重用タイヤ
1日前
住友ゴム工業株式会社
空気入りタイヤ
22日前
続きを見る
他の特許を見る