TOP
|
特許
|
意匠
|
商標
特許ウォッチ
Twitter
他の特許を見る
10個以上の画像は省略されています。
公開番号
2025159592
公報種別
公開特許公報(A)
公開日
2025-10-21
出願番号
2024062286
出願日
2024-04-08
発明の名称
空気入りタイヤ
出願人
住友ゴム工業株式会社
代理人
個人
,
個人
,
個人
,
個人
主分類
B60C
9/22 20060101AFI20251014BHJP(車両一般)
要約
【課題】転がり抵抗性能とノイズ性能とを高次元で両立させた空気入りタイヤを提供する。
【解決手段】本発明は、空気入りタイヤに関する。本発明の空気入りタイヤは、トレッド部2と、一対のサイドウォール部3と、一対のビード部4と、カーカス6と、ベルト層7と、バンド層8と、内側ゴム10とを含む。内側ゴム10は、第1厚さt1で延びる第1部分11と、第2厚さt2で延びる第2部分12とを含む。第1厚さt1は、第2厚さt2よりも大きい。バンドプライ8Aは、クラウン領域25を含み、バンドコード8cは、クラウン領域25に配された第1バンドコード31を含む。第1バンドコード31は、ナイロンコードであり、かつ、繊度が1150dtex/2以下である。
【選択図】図1
特許請求の範囲
【請求項1】
空気入りタイヤであって、
トレッド部と、
一対のサイドウォール部と、
一対のビード部と、
前記一対のビード部の間を延びるカーカスと、
前記トレッド部の内部、かつ、前記カーカスのタイヤ半径方向外側に配されたベルト層と、
前記ベルト層のタイヤ軸方向の全幅を覆い、かつ、タイヤ周方向に対して5°以下の角度で延びるバンドコードを備えた1枚のバンドプライからなるバンド層と、
前記カーカスの内側で前記一対のビード部の間を延びる内側ゴムと、を含み、
前記内側ゴムは、前記トレッド部を第1厚さで延びる第1部分と、前記一対のサイドウォール部を第2厚さで延びる第2部分とを含み、
前記第1厚さは、前記第2厚さよりも大きく、
前記バンドプライは、タイヤ赤道を中心として前記バンドプライのタイヤ軸方向の幅の70%の幅を有するクラウン領域を含み、
前記バンドコードは、前記クラウン領域に配された第1バンドコードを含み、
前記第1バンドコードは、ナイロンコードであり、かつ、繊度が1150dtex/2以下である、
空気入りタイヤ。
続きを表示(約 1,200 文字)
【請求項2】
前記第1バンドコードの繊度は、800dtex/2以上である、請求項1に記載の空気入りタイヤ。
【請求項3】
前記バンドプライは、前記クラウン領域のタイヤ軸方向の両外側に位置するショルダー領域を含み、
前記バンドコードは、前記ショルダー領域に配された第2バンドコードを含み、
前記第2バンドコードは、繊度が1200dtex/2以上である、請求項1又は2に記載の空気入りタイヤ。
【請求項4】
前記第2バンドコードは、繊度が2800dtex/2以下である、請求項3に記載の空気入りタイヤ。
【請求項5】
前記第2バンドコードは、ナイロン繊維及びアラミド繊維を含む複合コードである、請求項3に記載の空気入りタイヤ。
【請求項6】
前記トレッド部は、第1トレッド端及び第2トレッド端と、前記第1トレッド端と前記第2トレッド端との間をタイヤ周方向に連続して延びる複数の周方向溝とを含み、
前記複数の周方向溝は、最も前記第1トレッド端側に設けられた第1ショルダー周方向溝を含み、
前記第1ショルダー周方向溝は、前記クラウン領域の前記第1トレッド端側の端よりもタイヤ赤道側に配置されている、請求項1又は2に記載の空気入りタイヤ。
【請求項7】
前記ベルト層は、タイヤ赤道に対して傾斜して配列された複数のスチールコードと、前記スチールコードを被覆するトッピングゴムとを含む第1ベルトプライを含み、
前記第1ベルトプライのタイヤ軸方向の端部20mmの領域における、前記スチールコードのタイヤ半径方向外側の前記トッピングゴムの厚さは、前記第1ベルトプライのタイヤ軸方向の中央部における、前記スチールコードのタイヤ半径方向外側の前記トッピングゴムの厚さよりも0.1~1.0mm大きい、請求項1又は2に記載の空気入りタイヤ。
【請求項8】
前記ベルト層は、前記カーカス側の第1ベルトプライと、前記第1ベルトプライのタイヤ半径方向の外側に配された第2ベルトプライとを含み、
前記第2ベルトプライのタイヤ軸方向の一対の外端は、前記第1ベルトプライのタイヤ軸方向の一対の外端よりもタイヤ軸方向の内側に位置し、
タイヤ赤道の各側において、前記第1部分のタイヤ軸方向の外端は、前記第2ベルトプライの前記外端とタイヤ軸方向で同じ位置にあるか、又は、前記第2ベルトプライの前記外端よりもタイヤ軸方向の内側で、かつ、タイヤ軸方向に5mm以内に位置する、請求項1又は2に記載の空気入りタイヤ。
【請求項9】
前記第1部分は、タイヤ軸方向の外端に向かって前記第1厚さが連続的に減少している第1端部を含み、
前記第1厚さは、2.0~4.5mmである、請求項1又は2に記載の空気入りタイヤ。
発明の詳細な説明
【技術分野】
【0001】
本発明は、空気入りタイヤに関する。
続きを表示(約 1,600 文字)
【背景技術】
【0002】
下記特許文献1には、トレッド部にベルト層を備えた空気入りタイヤが提案されている。このタイヤは、前記ベルト層における補強コードや、タイヤの重量と最大負荷能力との関係を特定することにより、低転がり抵抗性とノイズ性能との両立を期待している。
【先行技術文献】
【特許文献】
【0003】
特開2022-106505号公報
【発明の概要】
【発明が解決しようとする課題】
【0004】
近年、走行時のノイズが小さいHV車両やEV車両の普及に伴い、タイヤについても、ノイズ性能のより一層の向上が求められている。ノイズ性能を向上させる方法として、例えば、トレッド部のボリュームを大きくすることにより、ノイズの発生源となるトレッド部の振動を抑制することが考えられる。
【0005】
しかしながら、上記の方法は、タイヤの転がり抵抗を増加(以下、「転がり抵抗性能を悪化させる」という)させるおそれがある。
【0006】
本発明は、以上のような実状に鑑み案出されたもので、転がり抵抗性能とノイズ性能とを高次元で両立させた空気入りタイヤを提供することを主たる目的としている。
【課題を解決するための手段】
【0007】
本発明は、空気入りタイヤであって、トレッド部と、一対のサイドウォール部と、一対のビード部と、前記一対のビード部の間を延びるカーカスと、前記トレッド部の内部、かつ、前記カーカスのタイヤ半径方向外側に配されたベルト層と、前記ベルト層のタイヤ軸方向の全幅を覆い、かつ、タイヤ周方向に対して5°以下の角度で延びるバンドコードを備えた1枚のバンドプライからなるバンド層と、前記カーカスの内側で前記一対のビード部の間を延びる内側ゴムと、を含み、前記内側ゴムは、前記トレッド部を第1厚さで延びる第1部分と、前記一対のサイドウォール部を第2厚さで延びる第2部分とを含み、前記第1厚さは、前記第2厚さよりも大きく、前記バンドプライは、タイヤ赤道を中心として前記バンドプライのタイヤ軸方向の幅の70%の幅を有するクラウン領域を含み、前記バンドコードは、前記クラウン領域に配された第1バンドコードを含み、前記第1バンドコードは、ナイロンコードであり、かつ、繊度が1150dtex/2以下である、空気入りタイヤである。
【発明の効果】
【0008】
本発明の空気入りタイヤは、上記の構成を採用したことによって、転がり抵抗性能とノイズ性能とを高次元で両立させることができる。
【図面の簡単な説明】
【0009】
本発明の一実施形態のタイヤの横断面図である。
図1のトレッド部の拡大断面図である。
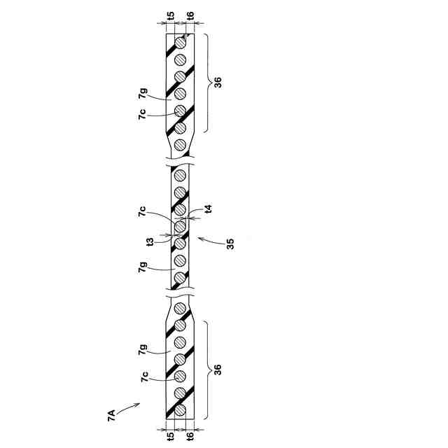
ベルト層及びバンド層のコード配列態様を示す展開図である。
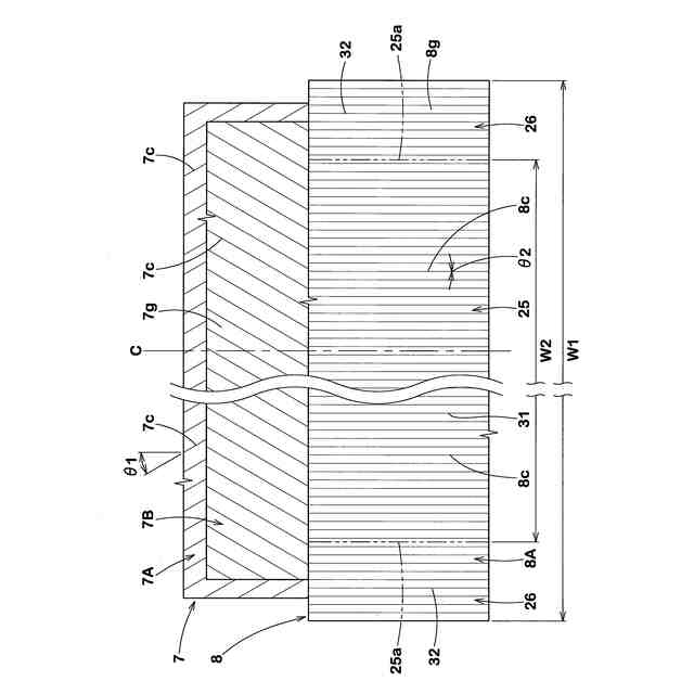
第1ベルトプライの拡大断面図である。
図2の第1部分の第1端部の拡大断面図である。
本発明の別の実施形態の第1部分及び第2部分の拡大断面図である。
本発明のさらに別の実施形態の第1部分及び第2部分の拡大断面図である。
本発明のさらに別の実施形態のサイドウォール部の拡大断面図である。
【発明を実施するための形態】
【0010】
以下、本発明の実施の一形態が図面に基づき説明される。図1には、本発明の一実施形態を示す空気入りタイヤ1(以下、単に「タイヤ1」という場合がある。)の横断面図が示されている。図1は、正規状態におけるタイヤ1についての、回転軸を含む横断面図である。図1に示されるように、本実施形態のタイヤ1は、例えば、乗用車用の空気入りタイヤとして好適に使用される。但し、本発明は、このような態様に限定されるものではなく、例えば、重荷重用の空気入りタイヤに適用されても良い。
(【0011】以降は省略されています)
この特許をJ-PlatPat(特許庁公式サイト)で参照する
関連特許
住友ゴム工業株式会社
タイヤ
1か月前
住友ゴム工業株式会社
タイヤ
14日前
住友ゴム工業株式会社
タイヤ
29日前
住友ゴム工業株式会社
タイヤ
25日前
住友ゴム工業株式会社
タイヤ
23日前
住友ゴム工業株式会社
タイヤ
23日前
住友ゴム工業株式会社
タイヤ
22日前
住友ゴム工業株式会社
タイヤ
1日前
住友ゴム工業株式会社
タイヤ
22日前
住友ゴム工業株式会社
ラケット
2日前
住友ゴム工業株式会社
ゴルフボール
22日前
住友ゴム工業株式会社
空気入りタイヤ
22日前
住友ゴム工業株式会社
空気入りタイヤ
1か月前
住友ゴム工業株式会社
空気入りタイヤ
1か月前
住友ゴム工業株式会社
重荷重用タイヤ
28日前
住友ゴム工業株式会社
重荷重用タイヤ
28日前
住友ゴム工業株式会社
バイアスタイヤ
28日前
住友ゴム工業株式会社
重荷重用タイヤ
1日前
住友ゴム工業株式会社
空気入りタイヤ
25日前
住友ゴム工業株式会社
空気入りタイヤ
25日前
住友ゴム工業株式会社
空気入りタイヤ
25日前
住友ゴム工業株式会社
空気入りタイヤ
24日前
住友ゴム工業株式会社
重荷重用タイヤ
1日前
住友ゴム工業株式会社
重荷重用タイヤ
1日前
住友ゴム工業株式会社
重荷重用タイヤ
1日前
住友ゴム工業株式会社
重荷重用タイヤ
1日前
住友ゴム工業株式会社
ゴルフクラブヘッド
1日前
住友ゴム工業株式会社
ゴム組成物及びタイヤ
25日前
住友ゴム工業株式会社
減衰性ゴム組成物および粘弾性ダンパ
23日前
住友ゴム工業株式会社
減衰性ゴム組成物および粘弾性ダンパ
23日前
住友ゴム工業株式会社
計測方法、計測装置及び計測プログラム
17日前
住友ゴム工業株式会社
ゴルフボール塗料用樹脂およびゴルフボール
1日前
住友ゴム工業株式会社
重荷重用タイヤ及び重荷重用タイヤの製造方法
7日前
住友ゴム工業株式会社
タイヤ用モールド及び重荷重用タイヤの製造方法
7日前
住友ゴム工業株式会社
ワックス又はゴム組成物の分析方法、及びゴム組成物
14日前
住友ゴム工業株式会社
高分子材料モデルの作成方法及びシミュレーション方法
16日前
続きを見る
他の特許を見る