TOP
|
特許
|
意匠
|
商標
特許ウォッチ
Twitter
他の特許を見る
公開番号
2025171424
公報種別
公開特許公報(A)
公開日
2025-11-20
出願番号
2024076765
出願日
2024-05-09
発明の名称
重荷重用タイヤ
出願人
住友ゴム工業株式会社
代理人
弁理士法人朝日奈特許事務所
主分類
B60C
1/00 20060101AFI20251113BHJP(車両一般)
要約
【課題】高速での乗り心地性能に優れた重荷重用タイヤを提供する。
【解決手段】トレッド部を備えた重荷重用タイヤであって、前記トレッド部は、イソプレン系ゴムを含むゴム成分およびシリカを含む充填剤を含むゴム組成物から構成された、トレッド面を含むゴム層を有し、前記イソプレン系ゴムのゴム成分中の含有量が85質量%超であり、前記シリカの充填剤中の含有量が60質量%超であり、前記タイヤのタイヤ重量(kg)がG、タイヤ体積(m
3
)がVt、前記イソプレン系ゴムのゴム成分中の含有量(質量%)がA
IR
、前記シリカの充填剤中の含有量(質量%)がA
SIL
である場合において、G、Vt、A
IR
、およびA
SIL
が下記式(1)および式(2)を満たす、重荷重用タイヤ。
(1) G/Vt≦340
(2) A
IR
×A
SIL
>5200
【選択図】なし
特許請求の範囲
【請求項1】
トレッド部を備えた重荷重用タイヤであって、
前記トレッド部は、イソプレン系ゴムを含むゴム成分およびシリカを含む充填剤を含むゴム組成物から構成された、トレッド面を含むゴム層を有し、
前記イソプレン系ゴムのゴム成分中の含有量が85質量%超であり、
前記シリカの充填剤中の含有量が60質量%超であり、
前記タイヤのタイヤ重量(kg)がG、タイヤ体積(m
3
)がVt、前記イソプレン系ゴムのゴム成分中の含有量(質量%)がA
IR
、前記シリカの充填剤中の含有量(質量%)がA
SIL
である場合において、G、Vt、A
IR
、およびA
SIL
が下記式(1)および式(2)を満たす、重荷重用タイヤ。
(1) G/Vt≦340
(2) A
IR
×A
SIL
>5200
続きを表示(約 510 文字)
【請求項2】
前記ゴム組成物の硬度が、64以上80以下である、請求項1記載の重荷重用タイヤ。
【請求項3】
前記ゴム組成物が樹脂を含む、請求項1または2記載の重荷重用タイヤ。
【請求項4】
前記シリカの平均一次粒子径が16nm未満である、請求項1または2記載の重荷重用タイヤ。
【請求項5】
A
SIL
が70超である、請求項1または2記載の重荷重用タイヤ。
【請求項6】
A
SIL
が80超である、請求項1または2記載の重荷重用タイヤ。
【請求項7】
A
SIL
が90超である、請求項1または2記載の重荷重用タイヤ。
【請求項8】
A
IR
が90超である、請求項1または2記載の重荷重用タイヤ。
【請求項9】
前記式(1)の右辺が310である、請求項1または2記載の重荷重用タイヤ。
【請求項10】
前記式(1)の右辺が280である、請求項1または2記載の重荷重用タイヤ。
(【請求項11】以降は省略されています)
発明の詳細な説明
【技術分野】
【0001】
本発明は、重荷重用タイヤに関する。
続きを表示(約 1,900 文字)
【背景技術】
【0002】
重荷重用として使用し得るタイヤにおいて、ブロックの耐摩耗性能を維持しつつ優れた乗り心地性能を発揮するため、トレッドのショルダー陸部のパターンを所定のものとする技術が知られている(特許文献1)。
【先行技術文献】
【特許文献】
【0003】
特開2023-60709号公報
【発明の概要】
【発明が解決しようとする課題】
【0004】
近年、車両性能の向上や、高速道路等のインフラ整備の進展に伴い、重荷重用タイヤにおいても、高速走行時の乗り心地性能に対して、更なる改善が求められている。
【0005】
本発明は、高速走行時の乗り心地性能が改善された重荷重用タイヤを提供することを目的とする。
【課題を解決するための手段】
【0006】
本発明は、以下の重荷重用タイヤに関する。
トレッド部を備えた重荷重用タイヤであって、
前記トレッド部は、イソプレン系ゴムを含むゴム成分およびシリカを含む充填剤を含むゴム組成物から構成された、トレッド面を含むゴム層を有し、
前記イソプレン系ゴムのゴム成分中の含有量が85質量%超であり、
前記シリカの充填剤中の含有量が60質量%超であり、
前記タイヤのタイヤ重量(kg)がG、タイヤ体積(m
3
)がVt、前記イソプレン系ゴムのゴム成分中の含有量(質量%)がA
IR
、前記シリカの充填剤中の含有量(質量%)がA
SIL
である場合において、G、Vt、A
IR
、およびA
SIL
が下記式(1)および式(2)を満たす、重荷重用タイヤ。
(1) G/Vt≦340
(2) A
IR
×A
SIL
>5200
【発明の効果】
【0007】
本発明によれば、高速での乗り心地性能に優れた重荷重用タイヤを提供することができる。
【図面の簡単な説明】
【0008】
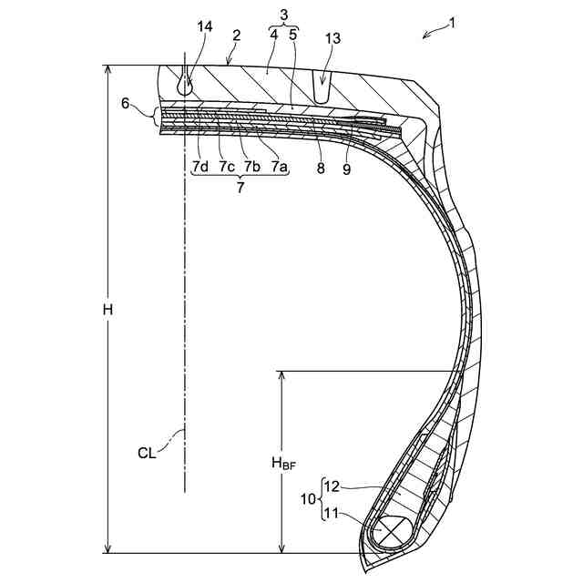
本発明の一実施形態に係る重荷重用タイヤのタイヤ回転軸を含む平面による断面図である。
図1のタイヤのトレッド部の展開図である。
図2のC1-C1線における断面図である。
図2のC2-C2線における断面図である。
トレッド面を正面として補強層の構成を示す概念図である。
【発明を実施するための形態】
【0009】
以下、本発明の一実施形態である重荷重用タイヤについて説明する。本実施形態の重荷重用タイヤは、トレッド部を備えた重荷重用タイヤであって、前記トレッド部は、イソプレン系ゴムを含むゴム成分およびシリカを含む充填剤を含むゴム組成物から構成された、トレッド面を含むゴム層を有し、前記イソプレン系ゴムのゴム成分中の含有量が85質量%超であり、前記シリカの充填剤中の含有量が60質量%超であり、前記タイヤのタイヤ重量(kg)がG、タイヤ体積(m
3
)がVt、前記イソプレン系ゴムのゴム成分中の含有量(質量%)がA
IR
、前記シリカの充填剤中の含有量(質量%)がA
SIL
である場合において、G、Vt、A
IR
、およびA
SIL
が下記式(1)および式(2)を満たす、重荷重用タイヤである。
(1) G/Vt≦340
(2) A
IR
×A
SIL
>5200
【0010】
理論に拘束されることは意図しないが、本発明において、高速での乗り心地性能が改善されるメカニズムとしては、以下が考えられる。すなわち、(1)タイヤ重量およびタイヤ体積が式(1)を満たすことで、タイヤの仮想体積に対してタイヤの重量が小さくなり、タイヤの密度が低下する。これにより、固有振動数が高まり、高速走行時における路面からの入力低減に寄与すると考える。(2)トレッド部を構成するゴム組成物に関して、イソプレン系ゴムおよびシリカが式(2)を満たすことで、高速走行時の周波数に依存する微小な変形領域においてトレッド表面が柔軟になる。これにより、高速走行時のトレッド部での入力吸収に寄与すると考える。そして、上記(1)および(2)が協働することにより、タイヤ全体で高速走行時において振動を吸収しやすくなり、高速での乗り心地性能に優れるという、特筆すべき効果が達成されると考えられる。
(【0011】以降は省略されています)
この特許をJ-PlatPat(特許庁公式サイト)で参照する
関連特許
住友ゴム工業株式会社
タイヤ
1か月前
住友ゴム工業株式会社
タイヤ
14日前
住友ゴム工業株式会社
タイヤ
1か月前
住友ゴム工業株式会社
タイヤ
1か月前
住友ゴム工業株式会社
タイヤ
1か月前
住友ゴム工業株式会社
タイヤ
1か月前
住友ゴム工業株式会社
タイヤ
29日前
住友ゴム工業株式会社
タイヤ
1日前
住友ゴム工業株式会社
タイヤ
1か月前
住友ゴム工業株式会社
タイヤ
25日前
住友ゴム工業株式会社
タイヤ
1か月前
住友ゴム工業株式会社
タイヤ
23日前
住友ゴム工業株式会社
タイヤ
22日前
住友ゴム工業株式会社
タイヤ
22日前
住友ゴム工業株式会社
タイヤ
2か月前
住友ゴム工業株式会社
タイヤ
23日前
住友ゴム工業株式会社
タイヤ
2か月前
住友ゴム工業株式会社
ラケット
2日前
住友ゴム工業株式会社
ゴルフボール
1か月前
住友ゴム工業株式会社
三次元構造体
2か月前
住友ゴム工業株式会社
ゴルフボール
22日前
住友ゴム工業株式会社
重荷重用タイヤ
1日前
住友ゴム工業株式会社
重荷重用タイヤ
1日前
住友ゴム工業株式会社
モデリング方法
1か月前
住友ゴム工業株式会社
空気入りタイヤ
1か月前
住友ゴム工業株式会社
空気入りタイヤ
1か月前
住友ゴム工業株式会社
重荷重用タイヤ
1日前
住友ゴム工業株式会社
重荷重用タイヤ
1日前
住友ゴム工業株式会社
バイアスタイヤ
28日前
住友ゴム工業株式会社
モデリング方法
1か月前
住友ゴム工業株式会社
空気入りタイヤ
1か月前
住友ゴム工業株式会社
重荷重用タイヤ
1日前
住友ゴム工業株式会社
空気入りタイヤ
2か月前
住友ゴム工業株式会社
重荷重用タイヤ
28日前
住友ゴム工業株式会社
重荷重用タイヤ
2か月前
住友ゴム工業株式会社
空気入りタイヤ
2か月前
続きを見る
他の特許を見る