TOP
|
特許
|
意匠
|
商標
特許ウォッチ
Twitter
他の特許を見る
公開番号
2025136261
公報種別
公開特許公報(A)
公開日
2025-09-19
出願番号
2024034616
出願日
2024-03-07
発明の名称
重荷重用タイヤ
出願人
住友ゴム工業株式会社
代理人
弁理士法人サンクレスト国際特許事務所
主分類
B60C
11/12 20060101AFI20250911BHJP(車両一般)
要約
【課題】転がり抵抗の低減を図りながらも、摩耗によるウェット性能の低下を抑制できる、重荷重用タイヤ2の提供。
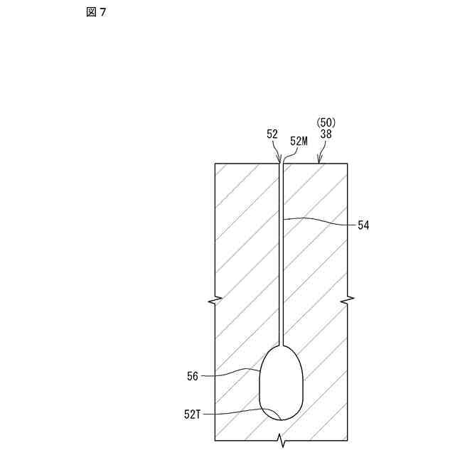
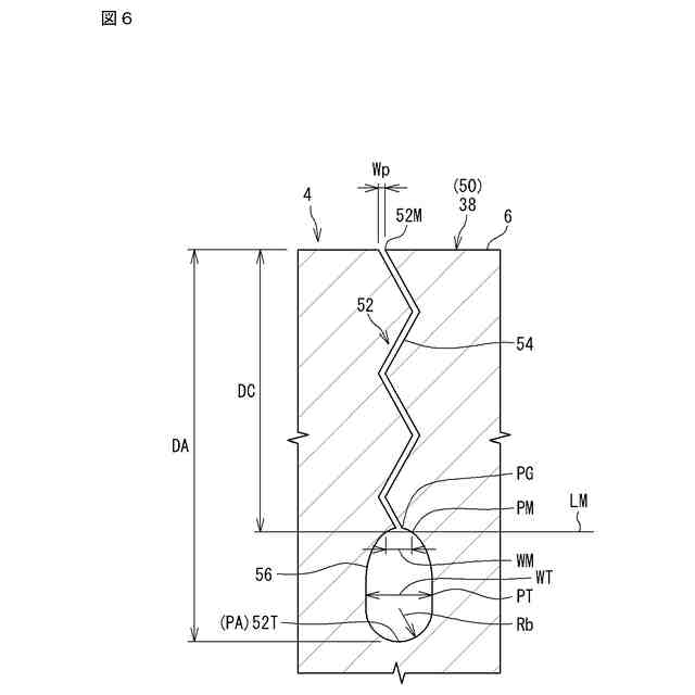
【解決手段】タイヤ2は、スチレンブタジエンゴムを含むゴム成分と、シリカを含む充填剤と、を含むゴム組成物から構成される、トレッド4を備える。トレッド4はメイン横溝48と周方向細溝18とを有する。スチレンブタジエンゴムの含有量CSB、及びシリカの含有量BS、並びにメイン横溝48の溝部82の溝深さMH(mm)、及び周方向細溝18の溝口18Mから幅基準位置PBまでの溝深さHB(mm)は、次の関係式を満たす。(CSB+BS)/(MH-HB)≧5
【選択図】図7
特許請求の範囲
【請求項1】
スチレンブタジエンゴムを含むゴム成分と、シリカを含む充填剤と、を含むゴム組成物から構成される、トレッドを備え、前記トレッドが、路面と接地するトレッド面を有する、タイヤであって、
前記トレッドが、周方向に連続してのびる複数の周方向溝を有し、
複数の前記周方向溝が、前記トレッドに、軸方向に並ぶ複数の陸部を構成し、
複数の前記陸部が、隣り合う前記周方向溝間に位置する、複数のメイン陸部を含み、
各前記メイン陸部が、隣り合う前記周方向溝間を繋ぐ複数のメイン横溝を有し、
複数の前記メイン横溝が、前記メイン陸部に、周方向に並ぶ複数のメインブロックを構成し、
前記メイン横溝が、溝部と、前記溝部の径方向内側に位置し、前記溝部に連なるサイプ部とを備え、
前記サイプ部の溝幅が前記溝部の溝幅よりも狭く、
隣り合う前記メイン陸部の間に位置する前記周方向溝が、周方向細溝であり、
複数の前記メイン陸部のうち、軸方向において最も外側に位置するメイン陸部が外側メイン陸部であり、
各前記外側メイン陸部の軸方向外側に位置する前記周方向溝が、前記周方向細溝の溝幅よりも広い溝幅を有する周方向太溝であり、
前記周方向細溝が、胴部と、前記胴部の径方向内側に位置する拡大幅部とを有し、
前記胴部が、前記拡大幅部が連なる胴部本体を備え、
前記トレッドの変形により、前記周方向細溝の対向する壁面が前記胴部本体において互いに接し、
前記拡大幅部の最大幅が、前記胴部本体の最小幅よりも広く、
前記胴部本体と、前記拡大幅部が最大幅を示す位置との間において、前記胴部本体の最小幅の2.0倍の溝幅を示す位置が幅基準位置であり、
前記溝部の溝深さMHが、前記周方向細溝の溝口から前記幅基準位置までの溝深さHBよりも浅く、
前記ゴム成分100質量部中の前記スチレンブタジエンゴムの含有量CSBが10質量部以上であり、
前記ゴム成分100質量部に対する前記シリカの含有量BSが15質量部以上であり、
前記スチレンブタジエンゴムの含有量CSB、及び前記シリカの含有量BS、並びに前記溝部の溝深さMH(mm)、及び前記周方向細溝の溝口から前記幅基準位置までの溝深さHB(mm)が、以下の関係式を満たす、
重荷重用タイヤ。
(CSB+BS)/(HB-MH)≧5
続きを表示(約 980 文字)
【請求項2】
前記ゴム成分が天然ゴム及びブタジエンゴムをさらに含み、
前記ゴム成分100質量部中の前記スチレンブタジエンゴムの含有量CSB、前記天然ゴムの含有量CN及び前記ブタジエンゴムの含有量CBが、以下の関係式を満たす、
請求項1に記載の重荷重用タイヤ。
CN≧CSB+CB
【請求項3】
前記充填剤100質量部中の前記シリカの含有量CSが40質量部以上である、
請求項1に記載の重荷重用タイヤ。
【請求項4】
前記シリカが、バイオマス材料を原料としたシリカを含む、
請求項1に記載の重荷重用タイヤ。
【請求項5】
前記充填剤が、平均一次粒子径が16nm以下のシリカを含む、
請求項1に記載の重荷重用タイヤ。
【請求項6】
前記充填剤が、カーボンブラックをさらに含み、
前記カーボンブラックが、再生カーボンブラックを含む、
請求項1に記載の重荷重用タイヤ。
【請求項7】
前記充填剤が、カーボンブラックをさらに含み、
前記カーボンブラックが、平均一次粒子径が19nm以下のカーボンブラックを含む、
請求項1に記載の重荷重用タイヤ。
【請求項8】
前記ゴム組成物が樹脂成分をさらに含む、
請求項1に記載の重荷重用タイヤ。
【請求項9】
以下に定義されるランド比率が、75%以上である、
請求項1に記載の重荷重用タイヤ。
ランド比率:正規リムに組み、内圧を正規内圧に調整した前記タイヤに、キャンバー角を0度として正規荷重の100%の荷重をかけて平らな路面に前記タイヤを接地させて得られる、接地面全体の面積値に対する、前記接地面に含まれる複数の前記陸部の接地面の合計面積値の比率
【請求項10】
複数の前記メインブロックがそれぞれ、前記メインブロックを横断する横断サイプを有し、
前記横断サイプが、サイプ本体と、前記サイプ本体の径方向内側に位置する管状部とを有し、
前記管状部の溝幅が前記サイプ本体の溝幅よりも広い、
請求項1に記載の重荷重用タイヤ。
(【請求項11】以降は省略されています)
発明の詳細な説明
【技術分野】
【0001】
本発明は、重荷重用タイヤに関する。
続きを表示(約 2,300 文字)
【背景技術】
【0002】
タイヤにおいては、環境への配慮と安全面との観点から、転がり抵抗の低減と、濡れた路面での走行性能(以下、ウェット性能)の向上とが求められている。
例えば、特許文献1では、周方向溝を挟んで隣り合う陸部から、互いの方向に向けて突出する突条部を設けることで、転がり抵抗の低減が図られ、突条部の外周側に外側溝空間を設け、内周側に内側溝空間を設け、さらに両者を連通する連通凹部を設けることで、WET性能の向上が図られている。
【先行技術文献】
【特許文献】
【0003】
特開2017-94891号公報
【発明の概要】
【発明が解決しようとする課題】
【0004】
本発明の目的は、転がり抵抗の低減を図りながらも、摩耗によるウェット性能の低下を抑制できる、重荷重用タイヤを提供することである。
【課題を解決するための手段】
【0005】
本発明の一態様に係る重荷重用タイヤは、スチレンブタジエンゴムを含むゴム成分と、シリカを含む充填剤と、を含むゴム組成物から構成される、トレッドを備える。前記トレッドは、路面と接地するトレッド面を有する。前記トレッドは、周方向に連続してのびる複数の周方向溝を有する。複数の前記周方向溝は、前記トレッドに、軸方向に並ぶ複数の陸部を構成する。複数の前記陸部は、隣り合う前記周方向溝間に位置する、複数のメイン陸部を含む。各前記メイン陸部は、隣り合う前記周方向溝間を繋ぐ複数のメイン横溝を有する。複数の前記メイン横溝は、前記メイン陸部に、周方向に並ぶ複数のメインブロックを構成する。前記メイン横溝は、溝部と、前記溝部の径方向内側に位置し、前記溝部に連なるサイプ部とを備える。前記サイプ部の溝幅は前記溝部の溝幅よりも狭い。隣り合う前記メイン陸部の間に位置する前記周方向溝は、周方向細溝である。複数の前記メイン陸部のうち、軸方向において最も外側に位置するメイン陸部は外側メイン陸部である。各前記外側メイン陸部の軸方向外側に位置する前記周方向溝は、前記周方向細溝の溝幅よりも広い溝幅を有する周方向太溝である。前記周方向細溝は、胴部と、前記胴部の径方向内側に位置する拡大幅部とを有する。前記胴部は、前記拡大幅部が連なる胴部本体を備える。前記トレッドの変形により、前記周方向細溝の対向する壁面が前記胴部本体において互いに接する。前記拡大幅部の最大幅は、前記胴部本体の最小幅よりも広い。前記胴部本体と、前記拡大幅部が最大幅を示す位置との間において、前記胴部本体の最小幅の2.0倍の溝幅を示す位置が幅基準位置である。前記溝部の溝深さMHは、前記周方向細溝の溝口から前記幅基準位置までの溝深さHBよりも浅い。前記ゴム成分100質量部中の前記スチレンブタジエンゴムの含有量CSBは10質量部以上である。前記ゴム成分100質量部に対する前記シリカの含有量BSが15質量部以上である。前記スチレンブタジエンゴムの含有量CSB、及び前記シリカの含有量BS、並びに前記溝部の溝深さMH(mm)、及び前記周方向細溝の溝口から前記幅基準位置までの溝深さHB(mm)が、以下の関係式を満たす。
(CSB+BS)/(HB-MH)≧5
【発明の効果】
【0006】
本発明は、転がり抵抗の低減を図りながらも、摩耗によるウェット性能の低下を抑制できる、重荷重用タイヤを提供できる。
【図面の簡単な説明】
【0007】
本発明の一実施形態に係る重荷重用タイヤのトレッドの一部を示す展開図である。
図1の一部を示す展開図である。
図1のIII-III線に沿った断面図である。
図2のIV-IV線に沿った断面図である。
図2のV-V線に沿った断面図である。
図2のVI-VI線に沿った断面図である。
図6の横断サイプの変形例を示す断面図である。
メイン横溝、周方向細溝、及び横断サイプの配置を説明する断面図である。
メイン横溝、周方向細溝、及び横断サイプの配置の変形例を説明する断面図である。
メイン横溝、周方向細溝、及び横断サイプの配置の他の変形例を説明する断面図である。
【発明を実施するための形態】
【0008】
本発明のタイヤはリムに組まれる。タイヤの内側には空気が充填され、タイヤの内圧が調整される。リムに組まれたタイヤはタイヤ-リム組立体とも呼ばれる。タイヤ-リム組立体は、リムと、このリムに組まれたタイヤとを備える。
【0009】
本発明において、タイヤを正規リムに組み、タイヤの内圧を正規内圧に調整し、このタイヤに荷重をかけていない状態は、正規状態と称される。
【0010】
本発明においては、特に言及がない限り、タイヤ各部の寸法及び角度は、正規状態で測定される。
正規リムにタイヤを組んだ状態で測定できない、タイヤの子午線断面における各部の寸法及び角度は、回転軸を含む平面に沿ってタイヤを切断することにより得られる、タイヤの切断面において、測定される。この測定では、左右のビード間の距離が、正規リムに組んだタイヤにおけるビード間の距離に一致するように、タイヤはセットされる。なお、正規リムにタイヤを組んだ状態で確認できないタイヤの構成は、前述の切断面において確認される。
(【0011】以降は省略されています)
この特許をJ-PlatPat(特許庁公式サイト)で参照する
関連特許
住友ゴム工業株式会社
タイヤ
2か月前
住友ゴム工業株式会社
タイヤ
1か月前
住友ゴム工業株式会社
タイヤ
1か月前
住友ゴム工業株式会社
タイヤ
1か月前
住友ゴム工業株式会社
タイヤ
25日前
住友ゴム工業株式会社
タイヤ
25日前
住友ゴム工業株式会社
タイヤ
1か月前
住友ゴム工業株式会社
タイヤ
24日前
住友ゴム工業株式会社
タイヤ
24日前
住友ゴム工業株式会社
タイヤ
1か月前
住友ゴム工業株式会社
タイヤ
3日前
住友ゴム工業株式会社
タイヤ
16日前
住友ゴム工業株式会社
タイヤ
1か月前
住友ゴム工業株式会社
タイヤ
27日前
住友ゴム工業株式会社
タイヤ
1か月前
住友ゴム工業株式会社
タイヤ
1か月前
住友ゴム工業株式会社
タイヤ
2か月前
住友ゴム工業株式会社
ラケット
4日前
住友ゴム工業株式会社
三次元構造体
2か月前
住友ゴム工業株式会社
ゴルフボール
1か月前
住友ゴム工業株式会社
ゴルフボール
24日前
住友ゴム工業株式会社
重荷重用タイヤ
1か月前
住友ゴム工業株式会社
重荷重用タイヤ
1か月前
住友ゴム工業株式会社
重荷重用タイヤ
2か月前
住友ゴム工業株式会社
空気入りタイヤ
1か月前
住友ゴム工業株式会社
空気入りタイヤ
1か月前
住友ゴム工業株式会社
モデリング方法
1か月前
住友ゴム工業株式会社
重荷重用タイヤ
2か月前
住友ゴム工業株式会社
重荷重用タイヤ
2か月前
住友ゴム工業株式会社
モデリング方法
1か月前
住友ゴム工業株式会社
光硬化性組成物
2か月前
住友ゴム工業株式会社
空気入りタイヤ
1か月前
住友ゴム工業株式会社
重荷重用タイヤ
1か月前
住友ゴム工業株式会社
空気入りタイヤ
2か月前
住友ゴム工業株式会社
バイアスタイヤ
1か月前
住友ゴム工業株式会社
空気入りタイヤ
27日前
続きを見る
他の特許を見る