TOP
|
特許
|
意匠
|
商標
特許ウォッチ
Twitter
他の特許を見る
10個以上の画像は省略されています。
公開番号
2025171684
公報種別
公開特許公報(A)
公開日
2025-11-20
出願番号
2024077273
出願日
2024-05-10
発明の名称
超音波内視鏡
出願人
富士フイルム株式会社
代理人
個人
,
個人
,
個人
,
個人
,
個人
主分類
A61B
1/12 20060101AFI20251113BHJP(医学または獣医学;衛生学)
要約
【課題】挿入部の先端部の細径化を図ることができる超音波内視鏡を提供する。
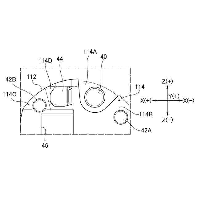
【解決手段】挿入部12の先端側に配置された先端部34と、先端部34に配置され、長手軸方向に直交するZ方向のZ(+)方向側に開口46し、内部に起立台70が収容される起立台収容部60と、起立台収容部60よりも長手軸方向の基端側に配置され、長手軸方向の先端側に向かう法線成分を有する配置面114であって、送気送水ノズル44及び観察窓40が配置された配置面114と、を備え、Z方向のZ(+)方向側から見た場合に、送気送水ノズル44の少なくとも一部の領域が、起立台収容部60の開口46を長手軸方向の基端側に延長した基端側領域130と重なる位置に配置される。
【選択図】図2
特許請求の範囲
【請求項1】
長手軸方向に沿って延びる挿入部の先端側に配置された先端部と
前記先端部に配置され、前記長手軸方向に直交する第1方向の一方側に開口し、内部に起立台が収容される起立台収容部と、
前記起立台収容部よりも前記長手軸方向の基端側に配置され、前記長手軸方向の先端側に向かう法線成分を有する配置面であって、流体ノズル及び観察窓が配置された配置面と、を備え、
前記第1方向の一方側から見た場合に、前記流体ノズルの少なくとも一部の領域が、前記起立台収容部の前記開口を前記長手軸方向の基端側に延長した基端側領域と重なる位置に配置される、
超音波内視鏡。
続きを表示(約 780 文字)
【請求項2】
前記観察窓は、前記基端側領域の外側に配置される、
請求項1に記載の超音波内視鏡。
【請求項3】
前記観察窓は、前記流体ノズルの吐出口側に対向した位置に配置される、
請求項2に記載の超音波内視鏡。
【請求項4】
前記配置面には、前記基端側領域の外側に配置された第1照明窓が設けられる、
請求項1から3のいずれか1項に記載の超音波内視鏡。
【請求項5】
前記第1照明窓は、前記観察窓に対して前記流体ノズルが配置される側とは反対側に配置される、
請求項4に記載の超音波内視鏡。
【請求項6】
前記配置面には、少なくとも一部の領域が前記基端側領域の外側に配置された第2照明窓が設けられる、
請求項1から3のいずれか1項に記載の超音波内視鏡。
【請求項7】
前記第2照明窓は、前記流体ノズルに対して前記観察窓が配置される側とは反対側に配置される、
請求項6に記載の超音波内視鏡。
【請求項8】
前記配置面は、前記流体ノズルが配置される第1面領域と、前記観察窓が配置される第2面領域とを有し、
前記配置面の法線方向を高さ方向とした場合、前記第1面領域の高さが前記第2面領域の高さよりも低い、
請求項1から3のいずれか1項に記載の超音波内視鏡。
【請求項9】
前記先端部に設けられ、前記流体ノズルの前記第1方向の一方側に配置されたカバー部材を備える、
請求項1から3のいずれか1項に記載の超音波内視鏡。
【請求項10】
前記カバー部材は、前記先端部と同一素材である、
請求項9に記載の超音波内視鏡。
(【請求項11】以降は省略されています)
発明の詳細な説明
【技術分野】
【0001】
本発明は超音波内視鏡に係り、特に、挿入部の先端部に超音波トランスデューサを備えた超音波内視鏡に関する。
続きを表示(約 1,100 文字)
【背景技術】
【0002】
超音波内視鏡として、挿入部の先端部にコンベックス型の超音波トランスデューサを備え、且つ先端部において超音波トランスデューサの基端側に処置具導出口が配置されたものが知られている(例えば、特許文献1参照)。
【0003】
上記の超音波内視鏡を用いた検査では、例えば、超音波トランスデューサにより処置対象部位の超音波画像を取得しながら、処置具挿通チャンネル及び処置具導出口を介して体内に導出した穿刺針(処置具)を処置対象部位に穿刺して細胞を採取する。この際、処置具は、起立台収容部に収容された起立台の起伏動作により導出方向が変更されて、所望の位置を処置する。
【0004】
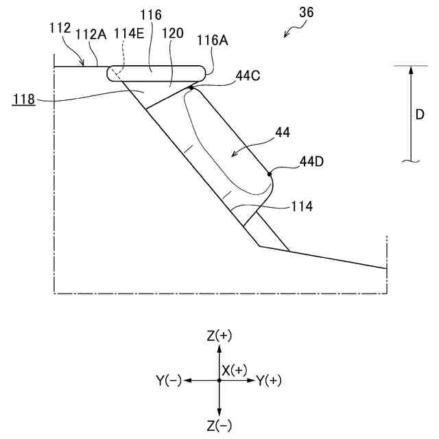
また、挿入部の先端部には、超音波トランスデューサ及び起立台の他、処置対象部位を観察する観察窓と、処置対象部位に向けて照明光を出射する照明窓と、観察窓などに向けて洗浄水又はエアを吐出する送気送水ノズルとが設けられている。
【先行技術文献】
【特許文献】
【0005】
国際公開第2020/179909号
【発明の概要】
【発明が解決しようとする課題】
【0006】
医療用内視鏡の分野では、患者負担軽減又は偶発症低減の観点から、挿入部の先端部の細径化(小径化)が望まれている。しかしながら、超音波内視鏡は、他の内視鏡(例えば、消化器用内視鏡)と比較して機能が多いため先端部の細径化が難しいという問題がある。
【0007】
本発明はこのような事情に鑑みてなされたもので、挿入部の先端部の細径化を図ることができる超音波内視鏡を提供することを目的とする。
【課題を解決するための手段】
【0008】
本発明の第1態様に係る超音波内視鏡は、長手軸方向に沿って延びる挿入部の先端側に配置された先端部と、先端部に配置され、長手軸方向に直交する第1方向の一方側に開口し、内部に起立台が収容される起立台収容部と、起立台収容部よりも長手軸方向の基端側に配置され、長手軸方向の先端側に向かう法線成分を有する配置面であって、流体ノズル及び観察窓が配置された配置面と、を備え、第1方向の一方側から見た場合に、流体ノズルの少なくとも一部の領域が、起立台収容部の開口を長手軸方向の基端側に延長した基端側領域と重なる位置に配置される。
【0009】
本発明の第2態様に係る超音波内視鏡は、第1態様において、観察窓は、基端側領域の外側に配置される。
【0010】
本発明の第3態様に係る超音波内視鏡は、第2態様において、観察窓は、流体ノズルの吐出口側に対向した位置に配置される。
(【0011】以降は省略されています)
この特許をJ-PlatPat(特許庁公式サイト)で参照する
関連特許
個人
貼付剤
26日前
個人
簡易担架
8日前
個人
足踏み器具
15日前
個人
腋臭防止剤
8日前
個人
短下肢装具
4か月前
個人
前腕誘導装置
4か月前
個人
洗井間専家。
7か月前
個人
嚥下鍛錬装置
4か月前
個人
排尿補助器具
1か月前
個人
白内障治療法
8か月前
個人
ウォート指圧法
1か月前
個人
ホバーアイロン
7か月前
個人
汚れ防止シート
1か月前
個人
歯の修復用材料
5か月前
個人
腰ベルト
29日前
個人
胸骨圧迫補助具
2か月前
個人
矯正椅子
5か月前
個人
バッグ式オムツ
5か月前
個人
アイマスク装置
2か月前
個人
陣痛緩和具
4か月前
個人
湿布連続貼り機。
3か月前
個人
歯の保護用シール
5か月前
三生医薬株式会社
錠剤
8か月前
個人
哺乳瓶冷まし容器
4か月前
個人
車椅子持ち上げ器
8か月前
個人
シャンプー
7か月前
個人
美容セット
17日前
個人
排尿排便補助器具
10日前
個人
服薬支援装置
8か月前
個人
エア誘導コルセット
2か月前
株式会社コーセー
化粧料
1か月前
株式会社大野
骨壷
4か月前
個人
治療用酸化防御装置
2か月前
個人
性行為補助具
3か月前
株式会社八光
剥離吸引管
5か月前
株式会社ニデック
眼科装置
2か月前
続きを見る
他の特許を見る