TOP
|
特許
|
意匠
|
商標
特許ウォッチ
Twitter
他の特許を見る
10個以上の画像は省略されています。
公開番号
2025171304
公報種別
公開特許公報(A)
公開日
2025-11-20
出願番号
2024076502
出願日
2024-05-09
発明の名称
画像形成装置、シート載置装置及び駆動装置
出願人
キヤノン株式会社
代理人
弁理士法人中川国際特許事務所
主分類
B65H
7/02 20060101AFI20251113BHJP(運搬;包装;貯蔵;薄板状または線条材料の取扱い)
要約
【課題】
被制御体が所定位置に移動したことを検知することに応答して前記被制御体を前記所定位置から目標位置まで移動させる際に、生産性を損なうことなく被制御部材を目標位置に移動させることのできる駆動装置、画像形成装置及びシート載置装置を提供する。
【解決手段】
被制御体を移動させる駆動手段と、前記被制御体が所定位置に移動したことを検知する検知手段と、前記被制御体が前記所定位置に移動したことを前記検知手段が検知した検知時刻を記憶する記憶手段と、前記記憶手段が記憶した前記検知時刻を基準とした前記被制御体が前記所定位置から目標位置に到達するまでの予測時間によって前記駆動手段を制御し、前記被制御体を前記目標位置に移動させる制御手段とを有する駆動装置、画像形成装置及びシート載置装置。
【選択図】 図6
特許請求の範囲
【請求項1】
被制御体を移動させる駆動手段と、
前記被制御体が所定位置に移動したことを検知する検知手段と、
前記被制御体が前記所定位置に移動したことを前記検知手段が検知した検知時刻を記憶する記憶手段と、
前記記憶手段が記憶した前記検知時刻を基準とした前記被制御体が前記所定位置から目標位置に到達するまでの予測時間によって前記駆動手段を制御し、前記被制御体を前記目標位置に移動させる制御手段と、
を有することを特徴とする駆動装置。
続きを表示(約 1,000 文字)
【請求項2】
前記予測時間は、前記駆動手段が前記被制御体を前記所定位置から前記目標位置まで移動させる距離と速度から得られる時間であることを特徴とする請求項1に記載の駆動装置。
【請求項3】
前記目標位置は、前記制御手段が前記駆動手段を制御して前記被制御体を減速させる減速開始位置であることを特徴とする請求項1に記載の駆動装置。
【請求項4】
前記目標位置は、前記制御手段が前記駆動手段を制御して前記被制御体を停止させる停止位置であることを特徴とする請求項1に記載の駆動装置。
【請求項5】
前記制御手段は、前記検知時刻を基準として前記被制御体を前記停止位置に停止させた後は、前記被制御体が前記所定位置に移動したことを前記検知手段が検知する時刻を基準とするのではなく前記制御手段が前記被制御体を停止させた前記停止位置を基準として前記被制御体を前記目標位置に移動させるように前記駆動手段を制御することを特徴とする請求項4に記載の駆動装置。
【請求項6】
前記制御手段は、前記検知手段が前記被制御体を最初に検知した時刻は、前記予測時間の前記基準としないことを特徴とする請求項1に記載の駆動装置。
【請求項7】
前記被制御体は、シートを保持するシート保持手段と、該シート保持手段が取り付けられ、前記駆動手段により回転駆動される移動部材とを有し、
前記検知手段は、前記シート保持手段が前記所定位置に移動したことを検知し、
前記制御手段は、前記シート保持手段が前記所定位置に移動したことを前記検知手段が検知した時刻を前記検知時刻として前記予測時間の前記基準とすることを特徴とする請求項1に記載の駆動装置。
【請求項8】
前記制御手段は、前記シート保持手段によるシートの保持が解除される位置を通過後、前記移動部材を加速するように前記駆動手段を制御することを特徴とする請求項7に記載の駆動装置。
【請求項9】
画像を形成する画像形成手段と、
請求項1乃至請求項8のいずれか1項に記載の駆動装置と、
を有することを特徴とする画像形成装置。
【請求項10】
シートを載置するシート載置手段と、
請求項1乃至請求項8のいずれか1項に記載の駆動装置と、
を有することを特徴とするシート載置装置。
発明の詳細な説明
【技術分野】
【0001】
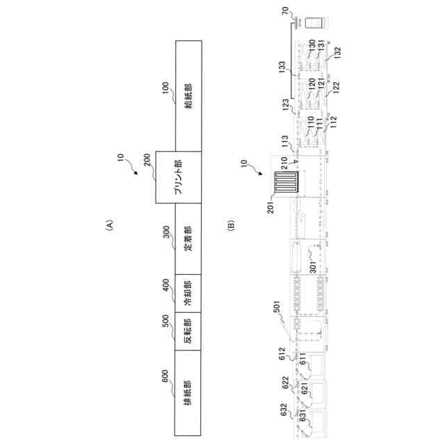
本発明は、プリンタ、複写機、ファクシミリ装置、または、これらの複数の機能を備えた複合機などの画像形成装置、シート載置装置、及びそのような装置に用いられる駆動装置に関するものである。
続きを表示(約 1,600 文字)
【背景技術】
【0002】
画像形成装置やシート積載装置などの、モータやセンサを利用して稼働可能に構成されたメカユニットを有する装置では、被制御部材となるメカユニットに対して、目的とする機能(例えば、プリント動作やシート積載動作)を行う前に、当該メカユニットを予め所定の待機位置に移動させておくものがある。
【0003】
こうしたメカユニットを備える装置では、装置の電源ON時や、目的とする機能を行う前の準備動作、或いは目的とする機能を行っている最中(例えば印刷用紙の一枚一枚に対する処理を終えるたび)に、待機位置への移動動作を行っている。こうした待機位置への移動動作は、初期位置出し、若しくはホームポジション動作などとも呼ばれる。
【0004】
例えば、特許文献1では、被制御部材の初期位置出しを行うために、センサ2つと櫛歯状のセンサフラグを用いて、センサフラグの形状パターンを識別することで、被制御部材の少ない移動に対してもその移動位置の検出を可能にしたものが提案されている。
【0005】
このような制御は、被制御部材を移動させるモータと、被制御部材が特定の位置に到達したことを検知するセンサを組み合わせて行われる。そして特許文献1に示されているように、モータを駆動するパルスの数は距離情報に変換できることを利用して、被制御部材を所望の位置に移動させるようにモータを駆動する。
【0006】
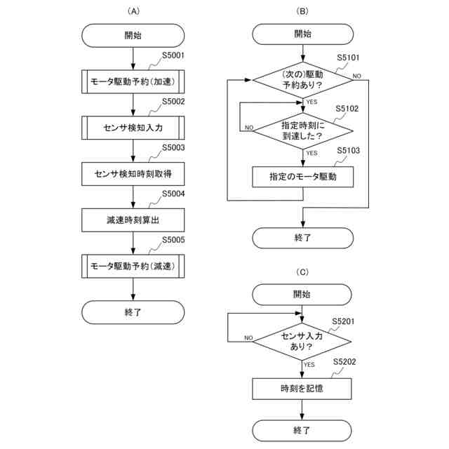
近年ではこうした被制御部材を制御する制御手段として、CPU(中央演算処理ユニット)を用いるのが一般的である。 センサによる被制御部材の検知を基準として待機位置でモータを停止するという待機位置への移動制御においては、センサの検知信号がCPUに届くまでの応答時間や、CPUによる駆動指示がモータへ届くのに要する応答時間が影響を及ぼさないようなリアルタイム性が求められる。
【0007】
多くの場合、こうした応答時間は無視できるほど小さく、待機位置への移動制御においてCPUは、センサの入力を検知したら、そこから既定の距離に相当するタイミングで確実にモータを減速/停止させることができる。
【0008】
しかし、こうした応答時間が無視できない程度に生じるようなシステム(例えば、ソフトウェアの規模が大きく、ソフトウェアの実行に時間を要するようなシステム)においては、センサ入力があった時点やモータを停止した時点でのモータの駆動パルス数をメモリに記憶しておき、後からこれらメモリに記憶したモータの駆動パルス数を参照することでで、応答時間の長さの影響を排除して、正確な待機位置への移動制御を行えるようにしたものがある。
【0009】
具体的には、センサが被制御部材の位置を検知してから既定の距離やパルス数でモータを減速/停止させ場合に、応答時間が無視できない程度に生じるようなシステムおいては、その応答時間の分だけ被制御部材の停止する位置が本来の目標とする位置からずれてしまう。そこで、センサの入力があった時点のモータの駆動パルス数とモータが停止した時点のモータの駆動パルス数をそれぞれメモリに記憶しておき、モータの停止後、センサの入力があった時点からモータが停止した時点までの駆動パルス数を計算し、これを本来のセンサ入力から目標位置までの距離に対応する駆動パルス数と比較して、ずれた分だけ被制御部材の位置を戻すようにモータを再駆動して補正動作を行う。
【0010】
これによって、応答時間が無視できない程度に生じるようなシステムであっても被制御部材を目標とするとする待機位置に正確に移動させることができる。
【先行技術文献】
【特許文献】
(【0011】以降は省略されています)
この特許をJ-PlatPat(特許庁公式サイト)で参照する
関連特許
キヤノン株式会社
容器
21日前
キヤノン株式会社
容器
27日前
キヤノン株式会社
トナー
1か月前
キヤノン株式会社
トナー
1か月前
キヤノン株式会社
トナー
13日前
キヤノン株式会社
トナー
1か月前
キヤノン株式会社
トナー
1か月前
キヤノン株式会社
トナー
1か月前
キヤノン株式会社
現像容器
1か月前
キヤノン株式会社
記録装置
13日前
キヤノン株式会社
現像装置
1か月前
キヤノン株式会社
現像容器
1か月前
キヤノン株式会社
撮像装置
今日
キヤノン株式会社
撮像装置
今日
キヤノン株式会社
現像装置
1か月前
キヤノン株式会社
電子機器
13日前
キヤノン株式会社
記録装置
27日前
キヤノン株式会社
定着装置
今日
キヤノン株式会社
撮像装置
14日前
キヤノン株式会社
電子機器
8日前
キヤノン株式会社
記録装置
6日前
キヤノン株式会社
撮像装置
27日前
キヤノン株式会社
撮像装置
27日前
キヤノン株式会社
電子機器
13日前
キヤノン株式会社
撮像装置
27日前
キヤノン株式会社
撮像装置
1か月前
キヤノン株式会社
雲台装置
13日前
キヤノン株式会社
撮像装置
1か月前
キヤノン株式会社
撮影装置
1か月前
キヤノン株式会社
記録装置
1か月前
キヤノン株式会社
記録装置
13日前
キヤノン株式会社
撮像装置
8日前
キヤノン株式会社
測距装置
1か月前
キヤノン株式会社
現像装置
1か月前
キヤノン株式会社
表示装置
21日前
キヤノン株式会社
定着装置
6日前
続きを見る
他の特許を見る