TOP
|
特許
|
意匠
|
商標
特許ウォッチ
Twitter
他の特許を見る
公開番号
2025170796
公報種別
公開特許公報(A)
公開日
2025-11-20
出願番号
2024075544
出願日
2024-05-08
発明の名称
乗客コンベアシステム及び乗客コンベアの制御方法
出願人
株式会社日立製作所
代理人
弁理士法人信友国際特許事務所
主分類
B66B
25/00 20060101AFI20251113BHJP(巻上装置;揚重装置;牽引装置)
要約
【課題】制御装置の消費電力も低減可能な乗客コンベアの制御方法を提供する。
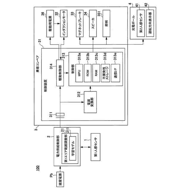
【解決手段】本発明の一側面に係る乗客コンベアシステム100は、乗客コンベア3を視認可能な範囲である第1エリアにおいて人を検知する第1人感センサ1と、第1人感センサ2によって人が検知された場合に、制御装置31、及び、乗客コンベア3の運行に関する情報を報知する報知関連機器34,351,42に電力を供給する電力供給制御部2と、を備える。
【選択図】図2
特許請求の範囲
【請求項1】
乗客の不在時に運転を停止する自動運転、又は、前記乗客の不在時に駆動用電源からの供給電力に基づく微速運転を行う乗客コンベアと、前記乗客コンベアの駆動用電源をオンにする制御を行う制御装置と、を有する乗客コンベアシステムであって、
前記乗客コンベアを視認可能な範囲である第1エリアにおいて人を検知する第1センサと、
前記第1センサによって人が検知された場合に、前記制御装置、及び、前記乗客コンベアの運行に関する情報を報知する報知関連機器に電力を供給する電力供給制御部と、を備える
乗客コンベアシステム。
続きを表示(約 760 文字)
【請求項2】
前記報知関連機器は、前記乗客コンベアの運転方向を表示する運転方向表示器、前記乗客コンベアを照らす照明機器、前記乗客コンベアを利用する乗客へのアナウンスを音声で出力するスピーカのうち、1つ以上を含む
請求項1に記載の乗客コンベアシステム。
【請求項3】
前記制御装置は、前記第1エリアよりも狭く、前記乗客コンベアの運転を前記自動運転又は前記微速運転から定格速度での通常運転に切り替える目的において前記乗客コンベアの近辺に設定された第3エリアよりも広い第2エリアにおいて、前記第1センサによって人が検知された場合に、前記駆動用電源をオンにする
請求項2に記載の乗客コンベアシステム。
【請求項4】
前記第1エリアで検知された人の前記乗客コンベアの利用確率、前記乗客コンベアの設置環境、前記乗客コンベアが運行する時間帯のうちの1以上の情報に基づいて前記第1エリアの広さを調整する第1エリア範囲調整部をさらに備える
請求項3に記載の乗客コンベアシステム。
【請求項5】
乗客の不在時に運転を停止する自動運転、又は、前記乗客の不在時に駆動用電源からの供給電力に基づく微速運転を行う乗客コンベアと、前記乗客コンベアの駆動用電源をオンにする制御を行う制御装置と、を有する乗客コンベアシステムによる、前記乗客コンベアの制御方法であって、
第1センサが、前記乗客コンベアを視認可能な範囲である第1エリアにおいて人を検知する手順と、
電力供給制御部が、前記第1センサによって人が検知された場合に、前記制御装置、及び、前記乗客コンベアの運行に関する情報を報知する報知関連機器に電力を供給する手順と、を含む
乗客コンベアの制御方法。
発明の詳細な説明
【技術分野】
【0001】
本発明は、乗客コンベアシステム及び乗客コンベアの制御方法に関する。
続きを表示(約 1,600 文字)
【背景技術】
【0002】
従来、乗客の利用が見込まれない時間帯においては乗客コンベアの運転を停止したり、微速運転させたりすること等によって、乗客コンベアの省エネルギー化が図られている。例えば、特許文献1には、乗客の検知エリアの所定高さを平面スキャンし、乗り口に存する個々の人を検知する検知ステップと、検知エリアで検知された人の内、乗客コンベアに向かう人が検知されると、乗客コンベアを定格運転モードへ移行又は継続する運転モード制御ステップと、を含む乗客コンベアの制御方法が開示されている。特許文献1に記載の技術によれば、検知エリアに進入した人のうち、乗車意思有利用者を識別し、自動発停止運転を行うことができる。
【先行技術文献】
【特許文献】
【0003】
特許7435655号公報
【発明の概要】
【発明が解決しようとする課題】
【0004】
特許文献1に記載の乗客コンベアの制御装置は、検知エリアに存在する人が乗車意思有利用者であるか、乗車意思無通行者であるかを判定する判定手段を備える。また、特許文献1に記載の制御装置は、判定手段で判定された利用者情報に基づいて、エスカレーターの運転モードを切り替えて、モータの速度指令を発する運転モード切替手段と、当該速度指令に基づいてモータをインバータ制御するインバータ制御手段と、を備える。つまり、エスカレーターが停止中である場合にも、制御装置におけるこれらの各手段が動作するために、制御装置には電力が常時供給されているものと想定される。
【0005】
一方、近年の乗客コンベアにおいては、インバータ制御の採用、電子安全化等の機能向上に伴い、制御装置の消費電力は増加傾向にある。したがって、制御装置の消費電力も低減可能な乗客コンベアの制御方法の提供が求められている。
【0006】
本発明は、上記課題を解決するためになされたものである。本発明の目的は、制御装置の消費電力も低減可能な乗客コンベアの制御方法を提供できるようにすることにある。
【課題を解決するための手段】
【0007】
本発明の一態様に係る乗客コンベアシステムは、乗客の不在時に運転を停止する自動運転、又は、乗客の不在時に駆動用電源からの供給電力に基づく微速運転を行う乗客コンベアと、乗客コンベアの駆動用電源をオンにする制御を行う制御装置と、を有する乗客コンベアシステムである。本発明の一態様に係る乗客コンベアシステムは、乗客コンベアを視認可能な範囲である第1エリアにおいて人を検知する第1センサと、第1センサによって人が検知された場合に、制御装置、及び、乗客コンベアの運行に関する情報を報知する報知関連機器に電力を供給する電力供給制御部と、を備える。
【発明の効果】
【0008】
本発明によれば、制御装置の消費電力も低減可能な乗客コンベアの制御方法が提供される。
【図面の簡単な説明】
【0009】
本発明の一実施形態に係る乗客コンベアシステムの構成例を示す概略図である。
本発明の一実施形態に係る乗客コンベアシステムの制御系の構成例を示すブロック図である。
本発明の一実施形態に係る各エリアの定義、範囲、及び、そのエリアでの人検知時における動作例を示す図である。
本発明の一実施形態に係る乗客コンベアシステムによる乗客コンベアの制御処理の手順の例を示すフローチャートである。
【発明を実施するための形態】
【0010】
以下、本発明の実施形態について図面を参照して詳細に説明する。本明細書および図面において、実質的に同一の機能または構成を有する要素については、同一の符号を付し、重複する説明は省略する。
(【0011】以降は省略されています)
この特許をJ-PlatPat(特許庁公式サイト)で参照する
関連特許
株式会社日立製作所
鉄道車両
1か月前
株式会社日立製作所
放射線モニタ
28日前
株式会社日立製作所
ガス分離システム
1か月前
株式会社日立製作所
システム検証方法
16日前
株式会社日立製作所
電力変換システム
1日前
株式会社日立製作所
鉄道車両用空調装置
15日前
株式会社日立製作所
調停案提示システム
1か月前
株式会社日立製作所
部品管理装置及び方法
1か月前
株式会社日立製作所
施設管理装置および方法
1日前
株式会社日立製作所
乗降床及び乗客コンベア
14日前
株式会社日立製作所
生産ライン設計システム
9日前
株式会社日立製作所
店舗管理装置および方法
16日前
株式会社日立製作所
飲食店提案装置および方法
16日前
株式会社日立製作所
乗りかご及びエレベーター
17日前
株式会社日立製作所
ソフトウェア生成システム
1か月前
株式会社日立製作所
検索システム及び検索方法
16日前
株式会社日立製作所
署名照合システム及び方法
22日前
株式会社日立製作所
乗りかご及びエレベーター
16日前
株式会社日立製作所
データ変換装置および方法
29日前
株式会社日立製作所
膜分離設備設計支援システム
1日前
株式会社日立製作所
生体認証装置、生体認証方法
15日前
株式会社日立製作所
ソースコードを生成する方法
9日前
株式会社日立製作所
情報処理装置、情報処理方法
1か月前
株式会社日立製作所
ソフトエラー率評価システム
2日前
株式会社日立製作所
宇宙機、地上局及びアンテナ
1日前
株式会社日立製作所
蒸発乾固装置および蒸発乾固方法
1か月前
株式会社日立製作所
立体構造宇宙機及びその制御方法
14日前
株式会社日立製作所
スカートモール及び乗客コンベア
1日前
株式会社日立製作所
購入関連行動分析装置および方法
15日前
株式会社日立製作所
治療効果予測システムおよび方法
1か月前
株式会社日立製作所
ガス分離システムの劣化診断装置
1日前
株式会社日立製作所
物体検出装置および物体検出方法
22日前
株式会社日立製作所
計算機システム及びデータ送信方法
23日前
株式会社日立製作所
単体テスト装置及び単体テスト方法
17日前
株式会社日立製作所
テスト支援装置及びテスト支援方法
1日前
株式会社日立製作所
情報処理方法及び情報処理システム
17日前
続きを見る
他の特許を見る