TOP
|
特許
|
意匠
|
商標
特許ウォッチ
Twitter
他の特許を見る
10個以上の画像は省略されています。
公開番号
2025170400
公報種別
公開特許公報(A)
公開日
2025-11-18
出願番号
2025145275,2024163851
出願日
2025-09-02,2016-12-06
発明の名称
画像符号化装置、画像符号化方法及び画像符号化プログラム、並びに画像復号化装置、画像復号化方法及び画像復号化プログラム、格納方法、伝送方法
出願人
株式会社JVCケンウッド
代理人
主分類
H04N
19/119 20140101AFI20251111BHJP(電気通信技術)
要約
【課題】画像符号化及び復号化に適したブロック分割を行うことで符号化効率を向上させる画像符号化装置、方法及びプログラムを提供する。
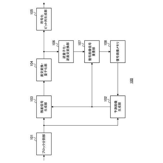
【解決手段】画像をブロックに分割し、分割されたブロック単位で符号化を行う画像符号化装置100であって、ブロック分割部101は、画像を所定サイズの矩形に再帰的に分割して符号化対象ブロックを生成し、符号化ビット列生成部105は、符号化対象ブロックのブロック分割情報を符号化する。ブロック分割部はさらに、再帰的分割における対象ブロックを水平方向かつ垂直方向に4分割して4つのブロックを生成する4分割部と、再帰的分割における対象ブロックを水平方向又は垂直方向に2分割して2つのブロックを生成する2分割部とを含む。2分割部は、前回の再帰的分割が2分割である場合、前回の再帰的分割においてブロックが分割された方向と同一の方向で今回の再帰的分割の対象ブロックを分割することを禁止する。
【選択図】図1
特許請求の範囲
【請求項1】
画像をブロックに分割し、分割されたブロック単位で符号化を行う画像符号化装置であ
って、
前記画像を所定サイズの矩形に再帰的に分割して符号化対象ブロックを生成するブロッ
ク分割部と、
符号化対象ブロックのブロック分割情報を符号化する符号化部とを備え、
前記ブロック分割部は、
再帰的分割における対象ブロックを水平方向かつ垂直方向に4分割して4つのブロック
を生成する4分割部と、
再帰的分割における対象ブロックを水平方向又は垂直方向に2分割して2つのブロック
を生成する2分割部とを含み、
前記2分割部は、前回の再帰的分割が2分割であり前記符号化対象ブロックのブロック
が所定サイズ以下の場合、前回の再帰的分割においてブロックが分割された方向と同一の
方向で今回の再帰的分割の対象ブロックを分割することを禁止し、前回の再帰的分割が2
分割であり前記復号化対象ブロックのブロックが所定サイズより大きい場合、前回の再帰
的分割においてブロックが分割された方向と同一の方向で今回の再帰的分割の対象ブロッ
クを分割することを許可する、
ことを特徴とする画像符号化装置。
続きを表示(約 4,000 文字)
【請求項2】
画像をブロックに分割し、分割されたブロック単位で符号化を行う画像符号化方法であ
って、
前記画像を所定サイズの矩形に再帰的に分割して符号化対象ブロックを生成するブロッ
ク分割ステップと、
符号化対象ブロックのブロック分割情報を符号化する符号化ステップとを有し、
前記ブロック分割ステップは、
再帰的分割における対象ブロックを水平方向かつ垂直方向に4分割して4つのブロック
を生成する4分割ステップと、
再帰的分割における対象ブロックを水平方向又は垂直方向に2分割して2つのブロック
を生成する2分割ステップとを含み、
前記2分割ステップは、前回の再帰的分割が2分割であり前記符号化対象ブロックのブ
ロックが所定サイズ以下の場合、前回の再帰的分割においてブロックが分割された方向と
同一の方向で今回の再帰的分割の対象ブロックを分割することを禁止し、前回の再帰的分
割が2分割であり前記復号化対象ブロックのブロックが所定サイズより大きい場合、前回
の再帰的分割においてブロックが分割された方向と同一の方向で今回の再帰的分割の対象
ブロックを分割することを許可する、
ことを特徴とする画像符号化方法。
【請求項3】
画像をブロックに分割し、分割されたブロック単位で符号化を行う画像符号化プログラ
ムであって、
前記画像を所定サイズの矩形に再帰的に分割して符号化対象ブロックを生成するブロッ
ク分割ステップと、
符号化対象ブロックのブロック分割情報を符号化する符号化ステップとをコンピュータ
に実行させ、
前記ブロック分割ステップは、
再帰的分割における対象ブロックを水平方向かつ垂直方向に4分割して4つのブロック
を生成する4分割ステップと、
再帰的分割における対象ブロックを水平方向又は垂直方向に2分割して2つのブロック
を生成する2分割ステップとを含み、
前記2分割ステップは、前回の再帰的分割が2分割であり前記符号化対象ブロックのブ
ロックが所定サイズ以下の場合、前回の再帰的分割においてブロックが分割された方向と
同一の方向で今回の再帰的分割の対象ブロックを分割することを禁止し、前回の再帰的分
割が2分割であり前記復号化対象ブロックのブロックが所定サイズより大きい場合、前回
の再帰的分割においてブロックが分割された方向と同一の方向で今回の再帰的分割の対象
ブロックを分割することを許可する、
ことを特徴とする画像符号化プログラム。
【請求項4】
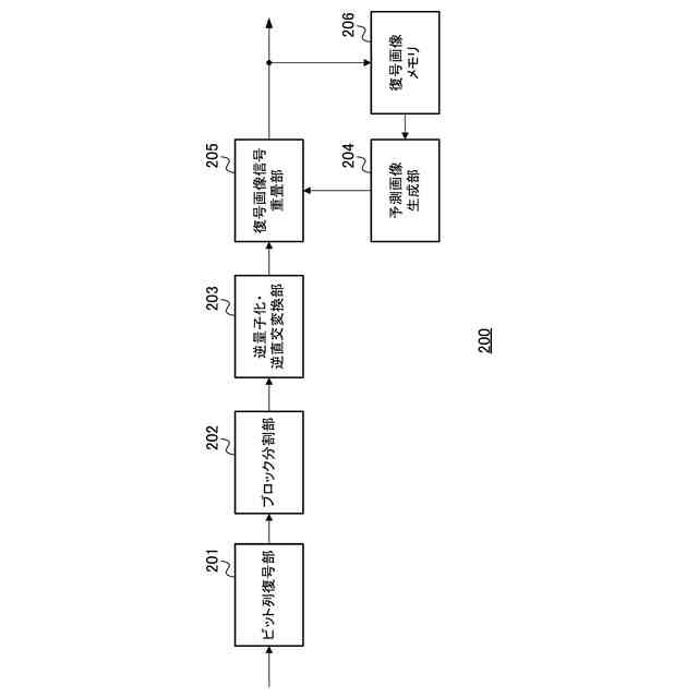
画像を分割したブロック単位で復号化を行う画像復号化装置であって、
画像を分割したブロックのブロック分割情報を復号化する復号化部と、
復号化された再帰的な前記ブロック分割情報に基づいて、復号化対象ブロックを生成す
るブロック分割部とを備え、
前記ブロック分割部は、
再帰的分割における対象ブロックを水平方向かつ垂直方向に4分割して4つのブロック
を生成する4分割部と、
再帰的分割における対象ブロックを水平方向又は垂直方向に2分割して2つのブロック
を生成する2分割部とを含み、
前記2分割部は、前回の再帰的分割が2分割であり前記復号化対象ブロックのブロック
が所定サイズ以下の場合、前回の再帰的分割においてブロックが分割された方向と同一の
方向で今回の再帰的分割の対象ブロックを分割することを禁止し、前回の再帰的分割が2
分割であり前記復号化対象ブロックのブロックが所定サイズより大きい場合、前回の再帰
的分割においてブロックが分割された方向と同一の方向で今回の再帰的分割の対象ブロッ
クを分割することを許可する、
ことを特徴とする画像復号化装置。
【請求項5】
画像を分割したブロック単位で復号化を行う画像復号化方法であって、
画像を分割したブロックのブロック分割情報を復号化する復号化ステップと、
復号化された再帰的な前記ブロック分割情報に基づいて、復号化対象ブロックを生成す
るブロック分割ステップとを有し、
前記ブロック分割ステップは、
再帰的分割における対象ブロックを水平方向かつ垂直方向に4分割して4つのブロック
を生成する4分割ステップと、
再帰的分割における対象ブロックを水平方向又は垂直方向に2分割して2つのブロック
を生成する2分割ステップとを含み、
前記2分割ステップは、前回の再帰的分割が2分割であり前記復号化対象ブロックのブ
ロックが所定サイズ以下の場合、前回の再帰的分割においてブロックが分割された方向と
同一の方向で今回の再帰的分割の対象ブロックを分割することを禁止し、前回の再帰的分
割が2分割であり前記復号化対象ブロックのブロックが所定サイズより大きい場合、前回
の再帰的分割においてブロックが分割された方向と同一の方向で今回の再帰的分割の対象
ブロックを分割することを許可する、
ことを特徴とする画像復号化方法。
【請求項6】
画像を分割したブロック単位で復号化を行う画像復号化プログラムであって、
画像を分割したブロックのブロック分割情報を復号化する復号化ステップと、
復号化された再帰的な前記ブロック分割情報に基づいて、復号化対象ブロックを生成す
るブロック分割ステップとをコンピュータに実行させ、
前記ブロック分割ステップは、
再帰的分割における対象ブロックを水平方向かつ垂直方向に4分割して4つのブロック
を生成する4分割ステップと、
再帰的分割における対象ブロックを水平方向又は垂直方向に2分割して2つのブロック
を生成する2分割ステップとを含み、
前記2分割ステップは、前回の再帰的分割が2分割であり前記復号化対象ブロックのブ
ロックが所定サイズ以下の場合、前回の再帰的分割においてブロックが分割された方向と
同一の方向で今回の再帰的分割の対象ブロックを分割することを禁止し、前回の再帰的分
割が2分割であり前記復号化対象ブロックのブロックが所定サイズより大きい場合、前回
の再帰的分割においてブロックが分割された方向と同一の方向で今回の再帰的分割の対象
ブロックを分割することを許可する、
ことを特徴とする画像復号化プログラム。
【請求項7】
動画像符号化方法で生成されたビットストリームを記録媒体に格納する格納方法であっ
て、前記動画像符号化方法は、
画像を所定サイズの矩形に再帰的に分割して符号化対象ブロックを生成するブロッ
ク分割ステップと、
符号化対象ブロックのブロック分割情報を符号化する符号化ステップとを有し、
前記ブロック分割ステップは、
再帰的分割における対象ブロックを水平方向かつ垂直方向に4分割して4つのブロック
を生成する4分割ステップと、
再帰的分割における対象ブロックを水平方向又は垂直方向に2分割して2つのブロック
を生成する2分割ステップとを含み、
前記2分割ステップは、前回の再帰的分割が2分割であり前記符号化対象ブロックのブ
ロックが所定サイズ以下の場合、前回の再帰的分割においてブロックが分割された方向と
同一の方向で今回の再帰的分割の対象ブロックを分割することを禁止し、前回の再帰的分
割が2分割であり前記復号化対象ブロックのブロックが所定サイズより大きい場合、前回
の再帰的分割においてブロックが分割された方向と同一の方向で今回の再帰的分割の対象
ブロックを分割することを許可する、
ことを特徴とする格納方法。
【請求項8】
動画像符号化方法で生成されたビットストリームを伝送する伝送方法であって、前記動
画像符号化方法は、
画像を所定サイズの矩形に再帰的に分割して符号化対象ブロックを生成するブロック分
割ステップと、
符号化対象ブロックのブロック分割情報を符号化する符号化ステップとを有し、
前記ブロック分割ステップは、
再帰的分割における対象ブロックを水平方向かつ垂直方向に4分割して4つのブロック
を生成する4分割ステップと、
再帰的分割における対象ブロックを水平方向又は垂直方向に2分割して2つのブロック
を生成する2分割ステップとを含み、
前記2分割ステップは、前回の再帰的分割が2分割であり前記符号化対象ブロックのブ
ロックが所定サイズ以下の場合、前回の再帰的分割においてブロックが分割された方向と
同一の方向で今回の再帰的分割の対象ブロックを分割することを禁止し、前回の再帰的分
割が2分割であり前記復号化対象ブロックのブロックが所定サイズより大きい場合、前回
の再帰的分割においてブロックが分割された方向と同一の方向で今回の再帰的分割の対象
ブロックを分割することを許可する、
ことを特徴とする伝送方法。
発明の詳細な説明
【技術分野】
【0001】
本発明は、画像をブロックに分割し、分割されたブロック単位で符号化及び復号化を行
う技術に関する。
続きを表示(約 3,300 文字)
【背景技術】
【0002】
画像符号化及び復号化では、画像を所定数の画素の集合であるブロックに分割し、ブロ
ック単位で符号化及び復号化を行う。適切なブロックの分割を行うことで画面内予測(イ
ントラ予測)、画面間予測(インター予測)、直交変換、エントロピー符号化、等の効率
が向上し、その結果、符号化効率が向上する。
【先行技術文献】
【特許文献】
【0003】
特表2015-526008号公報
【発明の概要】
【発明が解決しようとする課題】
【0004】
適切な大きさ及び形状でブロックを分割しなければ、符号化効率が低下する。また、適
切な大きさ及び形状でブロックを分割しなければ、その後の符号化及び復号化での処理量
が増大する。
【0005】
本発明はこうした状況に鑑みてなされたものであり、その目的は、画像符号化及び復号
化に適したブロック分割を行うことにより、符号化効率を向上させる技術を提供すること
にある。
【課題を解決するための手段】
【0006】
上記課題を解決するために、本発明のある態様の画像符号化装置は、画像をブロックに
分割し、分割されたブロック単位で符号化を行う画像符号化装置であって、前記画像を所
定サイズの矩形に再帰的に分割して符号化対象ブロックを生成するブロック分割部と、符
号化対象ブロックのブロック分割情報を符号化する符号化部とを備え、前記ブロック分割
部は、再帰的分割における対象ブロックを水平方向かつ垂直方向に4分割して4つのブロ
ックを生成する4分割部と、再帰的分割における対象ブロックを水平方向又は垂直方向に
2分割して2つのブロックを生成する2分割部とを含み、前記2分割部は、前回の再帰的
分割が2分割であり前記符号化対象ブロックのブロックが所定サイズ以下の場合、前回の
再帰的分割においてブロックが分割された方向と同一の方向で今回の再帰的分割の対象ブ
ロックを分割することを禁止し、前回の再帰的分割が2分割であり前記復号化対象ブロッ
クのブロックが所定サイズより大きい場合、前回の再帰的分割においてブロックが分割す
ることを許可する。
【0007】
本発明のさらに別の態様は、画像符号化方法である。この方法は、画像をブロックに分
割し、分割されたブロック単位で符号化を行う画像符号化方法であって、前記画像を所定
サイズの矩形に再帰的に分割して符号化対象ブロックを生成するブロック分割ステップと
、符号化対象ブロックのブロック分割情報を符号化する符号化ステップとを有し、前記ブ
ロック分割ステップは、再帰的分割における対象ブロックを水平方向かつ垂直方向に4分
割して4つのブロックを生成する4分割ステップと、再帰的分割における対象ブロックを
水平方向又は垂直方向に2分割して2つのブロックを生成する2分割ステップとを含み、
前記2分割ステップは、前回の再帰的分割が2分割であり前記符号化対象ブロックのブロ
ックが所定サイズ以下の場合、前回の再帰的分割においてブロックが分割された方向と同
一の方向で今回の再帰的分割の対象ブロックを分割することを禁止し、前回の再帰的分割
が2分割であり前記復号化対象ブロックのブロックが所定サイズより大きい場合、前回の
再帰的分割においてブロックが分割された方向と同一の方向で今回の再帰的分割の対象ブ
ロックを分割することを許可する。
【0008】
本発明のさらに別の態様は、画像符号化プログラムである。画像をブロックに分割し、
分割されたブロック単位で符号化を行う画像符号化プログラムであって、前記画像を所定
サイズの矩形に再帰的に分割して符号化対象ブロックを生成するブロック分割ステップと
、符号化対象ブロックのブロック分割情報を符号化する符号化ステップとをコンピュータ
に実行させ、前記ブロック分割ステップは、再帰的分割における対象ブロックを水平方向
かつ垂直方向に4分割して4つのブロックを生成する4分割ステップと、再帰的分割にお
ける対象ブロックを水平方向又は垂直方向に2分割して2つのブロックを生成する2分割
ステップとを含み、前記2分割ステップは、前回の再帰的分割が2分割であり前記符号化
対象ブロックのブロックが所定サイズ以下の場合、前回の再帰的分割においてブロックが
分割された方向と同一の方向で今回の再帰的分割の対象ブロックを分割することを禁止し
、前回の再帰的分割が2分割であり前記復号化対象ブロックのブロックが所定サイズより
大きい場合、前回の再帰的分割においてブロックが分割された方向と同一の方向で今回の
再帰的分割の対象ブロックを分割することを許可する。
【0009】
本発明のさらに別の態様は、画像復号化装置である。この装置は、画像を分割したブロ
ック単位で復号化を行う画像復号化装置であって、画像を分割したブロックのブロック分
割情報を復号化する復号化部と、復号化された再帰的な前記ブロック分割情報に基づいて
、復号化対象ブロックを生成するブロック分割部とを備え、前記ブロック分割部は、再帰
的分割における対象ブロックを水平方向かつ垂直方向に4分割して4つのブロックを生成
する4分割部と、再帰的分割における対象ブロックを水平方向又は垂直方向に2分割して
2つのブロックを生成する2分割部とを含み、前記2分割部は、前回の再帰的分割が2分
割であり前記復号化対象ブロックのブロックが所定サイズ以下の場合、前回の再帰的分割
においてブロックが分割された方向と同一の方向で今回の再帰的分割の対象ブロックを分
割することを禁止し、前回の再帰的分割が2分割であり前記復号化対象ブロックのブロッ
クが所定サイズより大きい場合、前回の再帰的分割においてブロックが分割された方向と
同一の方向で今回の再帰的分割の対象ブロックを分割することを許可する。
【0010】
本発明のさらに別の態様は、画像復号化方法である。この方法は、画像を分割したブロ
ック単位で復号化を行う画像復号化方法であって、画像を分割したブロックのブロック分
割情報を復号化する復号化ステップと、復号化された再帰的な前記ブロック分割情報に基
づいて、復号化対象ブロックを生成するブロック分割ステップとを有し、前記ブロック分
割ステップは、再帰的分割における対象ブロックを水平方向かつ垂直方向に4分割して4
つのブロックを生成する4分割ステップと、再帰的分割における対象ブロックを水平方向
又は垂直方向に2分割して2つのブロックを生成する2分割ステップとを含み、前記2分
割ステップは、前回の再帰的分割が2分割であり前記復号化対象ブロックのブロックが所
定サイズ以下の場合、前回の再帰的分割においてブロックが分割された方向と同一の方向
で今回の再帰的分割の対象ブロックを分割することを禁止し、前回の再帰的分割が2分割
であり前記復号化対象ブロックのブロックが所定サイズより大きい場合、前回の再帰的分
割においてブロックが分割された方向と同一の方向で今回の再帰的分割の対象ブロックを
分割することを許可する。
(【0011】以降は省略されています)
この特許をJ-PlatPat(特許庁公式サイト)で参照する
関連特許
個人
イヤーピース
13日前
個人
イヤーマフ
27日前
個人
監視カメラシステム
1か月前
個人
スイッチシステム
21日前
キーコム株式会社
光伝送線路
1か月前
サクサ株式会社
中継装置
1か月前
WHISMR合同会社
収音装置
2か月前
個人
スキャン式車載用撮像装置
1か月前
サクサ株式会社
中継装置
1か月前
アイホン株式会社
電気機器
2か月前
キヤノン株式会社
撮像装置
2か月前
サクサ株式会社
無線システム
1か月前
個人
ワイヤレスイヤホン対応耳掛け
2か月前
キヤノン電子株式会社
画像読取装置
13日前
株式会社リコー
画像形成装置
29日前
個人
映像表示装置、及びARグラス
22日前
キヤノン電子株式会社
画像読取装置
21日前
キヤノン電子株式会社
画像読取装置
2か月前
株式会社リコー
画像形成装置
2か月前
キヤノン電子株式会社
画像読取装置
1か月前
サクサ株式会社
無線通信装置
1か月前
株式会社リコー
画像形成装置
2か月前
ヤマハ株式会社
放音制御装置
21日前
サクサ株式会社
無線通信装置
1か月前
キヤノン電子株式会社
シート搬送装置
13日前
キヤノン株式会社
画像処理装置
16日前
キヤノン株式会社
撮像システム
2か月前
個人
発信機及び発信方法
1か月前
キヤノン株式会社
情報処理装置
今日
日本電気株式会社
海底分岐装置
1か月前
シャープ株式会社
表示装置
13日前
株式会社NTTドコモ
端末
1か月前
シャープ株式会社
表示装置
13日前
沖電気工業株式会社
画像形成装置
1か月前
大日本印刷株式会社
写真撮影装置
2か月前
日本セラミック株式会社
超音波送受信器
今日
続きを見る
他の特許を見る