TOP
|
特許
|
意匠
|
商標
特許ウォッチ
Twitter
他の特許を見る
10個以上の画像は省略されています。
公開番号
2025170129
公報種別
公開特許公報(A)
公開日
2025-11-14
出願番号
2025152557,2024109818
出願日
2025-09-12,2016-08-25
発明の名称
積層セラミックコンデンサ
出願人
太陽誘電株式会社
代理人
弁理士法人片山特許事務所
主分類
H01G
4/30 20060101AFI20251107BHJP(基本的電気素子)
要約
【課題】 クラックの発生を抑制することができる積層セラミックコンデンサを提供する。
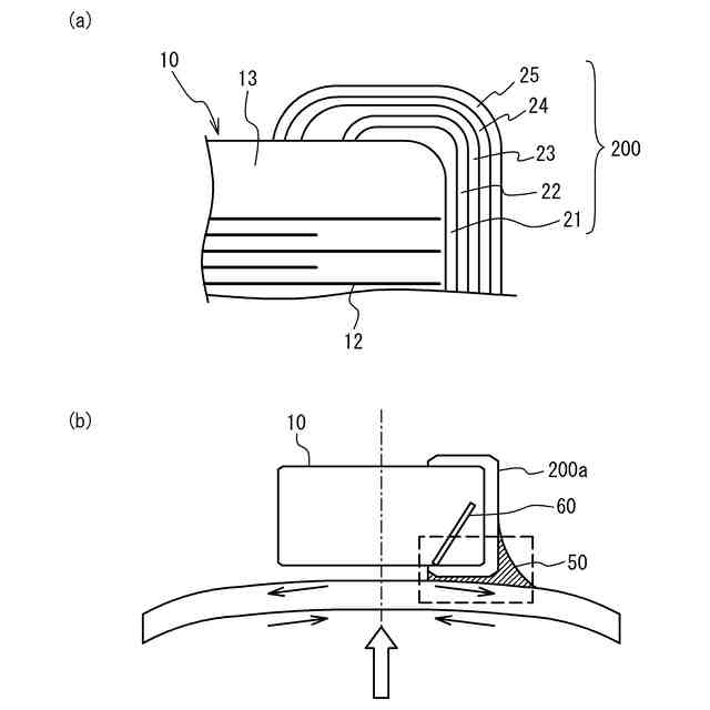
【解決手段】 積層セラミックコンデンサは、セラミックを主成分とする誘電体層と、内部電極層と、が交互に積層され、積層方向の両方向から挟み込むセラミックを主成分とするカバー層によって覆われ、積層された複数の前記内部電極層が交互に対向する2端面に露出するように形成され、略直方体形状を有する積層チップと、前記対向する2端面から前記積層チップの少なくともいずれかの側面にかけて形成された1対の外部電極と、を備え、前記1対の外部電極は、第1金属層が前記2端面に接し、前記2端面のうち前記カバー層の部分および前記側面において第2金属層が接しており、前記第1金属層は前記第2金属層よりもセラミック含有量が大きく、前記第2金属層は90wt%以上の金属を含む層である。
【選択図】 図3
特許請求の範囲
【請求項1】
基板上に実装された積層セラミックコンデンサであって、
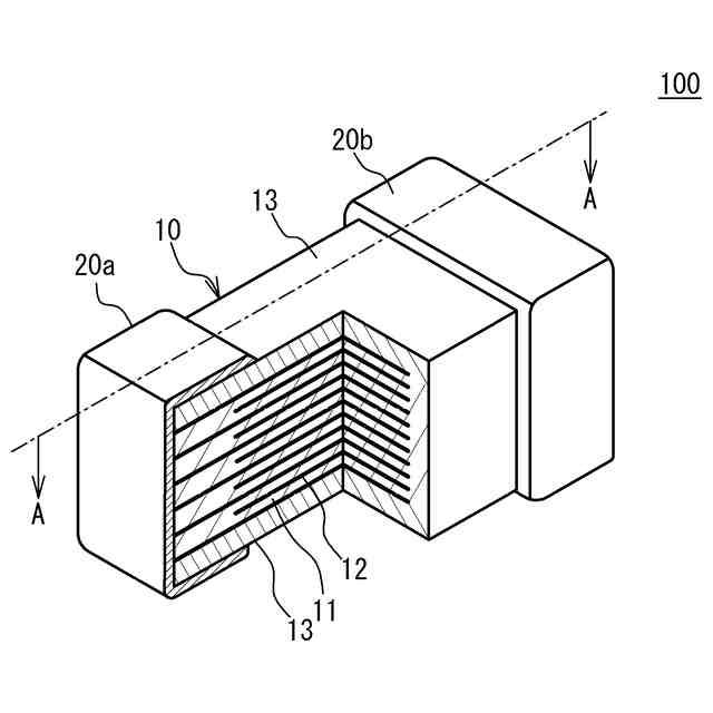
セラミックを主成分とする誘電体層と、内部電極層と、が交互に積層され、積層方向の両方向から挟み込むセラミックを主成分とするカバー層によって覆われ、積層された複数の前記内部電極層が交互に対向する2端面に露出するように形成され、略直方体形状を有する積層チップと、
前記対向する2端面から前記積層チップの4側面のうち少なくとも1つの側面にかけて形成された1対の外部電極と、を備え、
前記1対の外部電極は、第1金属層が前記2端面に接し、前記1つの側面において第2金属層が接しており、前記第1金属層は前記第2金属層よりもセラミック含有量が大きく、前記第1金属層のセラミック含有率が5wt%以上25wt%以下であり、前記第2金属層は90wt%以上の金属を含む層であり、
前記1対の外部電極のうち前記1つの側面上に形成された部分が、ハンダを介して前記基板に実装されていることを特徴とする積層セラミックコンデンサ。
続きを表示(約 470 文字)
【請求項2】
前記第2金属層は、セラミック含有量が5wt%未満であることを特徴とする請求項1記載の積層セラミックコンデンサ。
【請求項3】
前記第1金属層および前記第2金属層が含有するセラミックは、ガラス成分または共材であることを特徴とする請求項1記載の積層セラミックコンデンサ。
【請求項4】
前記第1金属層および前記第2金属層が含有するセラミックは、前記誘電体層が主成分とするセラミックであることを特徴とする請求項1記載の積層セラミックコンデンサ。
【請求項5】
前記第2金属層は、前記セラミックを含まないことを特徴とする請求項1記載の積層セラミックコンデンサ。
【請求項6】
前記第2金属層は、前記2端面のうち前記カバー層の部分にも接していることを特徴とする請求項1記載の積層セラミックコンデンサ。
【請求項7】
前記第1金属層のセラミック含有率は、10wt%以上25wt%以下であることを特徴とする請求項1記載の積層セラミックコンデンサ。
発明の詳細な説明
【技術分野】
【0001】
本発明は、積層セラミックコンデンサに関する。
続きを表示(約 1,100 文字)
【背景技術】
【0002】
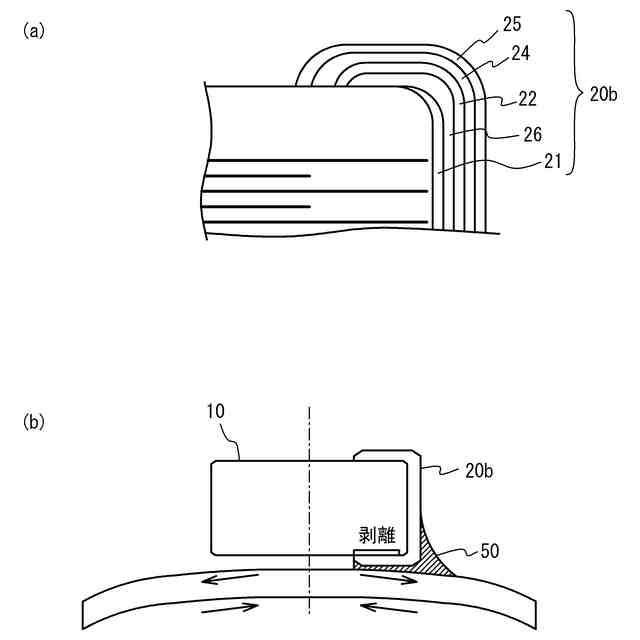
積層セラミックコンデンサの基板への実装後、基板のたわみに起因する応力等によって、積層セラミックコンデンサにクラックが生じることがある。このクラックを抑制する技術が開示されている(例えば、特許文献1参照)。特許文献1では、ガラス成分含有量の異なる2つの金属焼結層を外部電極に用いている。
【先行技術文献】
【特許文献】
【0003】
特開2015-43424号公報
【発明の概要】
【発明が解決しようとする課題】
【0004】
しかしながら、上記技術では、ガラス成分の含有量が特定されていないため、クラックの発生を十分に抑制することができないおそれがある。
【0005】
本発明は、上記課題に鑑みなされたものであり、クラックの発生を抑制することができる積層セラミックコンデンサを提供することを目的とする。
【課題を解決するための手段】
【0006】
本発明に係る積層セラミックコンデンサは、セラミックを主成分とする誘電体層と、内部電極層と、が交互に積層され、積層方向の両方向から挟み込むセラミックを主成分とするカバー層によって覆われ、積層された複数の前記内部電極層が交互に対向する2端面に露出するように形成され、略直方体形状を有する積層チップと、前記対向する2端面から前記積層チップの少なくともいずれかの側面にかけて形成された1対の外部電極と、を備え、前記1対の外部電極は、第1金属層が前記2端面に接し、前記2端面のうち前記カバー層の部分および前記側面において第2金属層が接しており、前記第1金属層は前記第2金属層よりもセラミック含有量が大きく、前記第2金属層は90wt%以上の金属を含む層である。
【0007】
上記積層セラミックコンデンサにおいて、前記第2金属層は、セラミック含有量が5wt%未満であってもよい。
【0008】
上記積層セラミックコンデンサにおいて、前記第1金属層および前記第2金属層が含有するセラミックは、ガラス成分または共材であってもよい。
【0009】
上記積層セラミックコンデンサにおいて、前記第1金属層および前記第2金属層が含有するセラミックは、前記誘電体層が主成分とするセラミックであってもよい。
【0010】
上記積層セラミックコンデンサにおいて、前記第2金属層は、前記セラミックを含まないものであってもよい。
【発明の効果】
(【0011】以降は省略されています)
この特許をJ-PlatPat(特許庁公式サイト)で参照する
関連特許
太陽誘電株式会社
表示装置
1か月前
太陽誘電株式会社
コイル部品
1か月前
太陽誘電株式会社
コイル部品
1か月前
太陽誘電株式会社
コイル部品
1か月前
太陽誘電株式会社
全固体電池
1か月前
太陽誘電株式会社
コイル部品
1か月前
太陽誘電株式会社
導波路装置
1か月前
太陽誘電株式会社
生体情報測定装置
1か月前
太陽誘電株式会社
セラミック電子部品
1か月前
太陽誘電株式会社
積層セラミック電子部品
1か月前
太陽誘電株式会社
積層セラミック電子部品
1か月前
太陽誘電株式会社
グルコース濃度推定装置
1か月前
太陽誘電株式会社
積層セラミック電子部品
1か月前
太陽誘電株式会社
センサ装置および取付方法
1か月前
太陽誘電株式会社
積層セラミックコンデンサ
1か月前
太陽誘電株式会社
コイル部品および実装基板
1か月前
太陽誘電株式会社
フィルタ及びマルチプレクサ
1か月前
太陽誘電株式会社
導波路装置およびレーダ装置
1か月前
太陽誘電株式会社
血圧測定装置および血圧測定方法
1か月前
太陽誘電株式会社
バッテリパック及び車両の制御装置
1か月前
太陽誘電株式会社
コイル部品、コイル部品の製造方法
1か月前
太陽誘電株式会社
コイル部品、コイル部品の製造方法
1か月前
太陽誘電株式会社
コイル部品及びコイル部品の製造方法
1か月前
太陽誘電株式会社
特徴量取得装置および特徴量取得方法
2か月前
太陽誘電株式会社
積層セラミックコンデンサ及び回路基板
1か月前
太陽誘電株式会社
積層セラミックコンデンサ及び回路基板
1か月前
太陽誘電株式会社
積層セラミックコンデンサ及び回路基板
1か月前
太陽誘電株式会社
積層セラミックコンデンサ及び回路基板
1か月前
太陽誘電株式会社
積層セラミックコンデンサ及び回路基板
1か月前
太陽誘電株式会社
積層セラミックコンデンサ及び回路基板
1か月前
太陽誘電株式会社
圧電トランスデューサおよび電気音響装置
1か月前
太陽誘電株式会社
積層セラミック電子部品及びその製造方法
2か月前
太陽誘電株式会社
磁性基体及び磁性基体を備えるコイル部品
1か月前
太陽誘電株式会社
積層セラミック電子部品及びその製造方法
1か月前
太陽誘電株式会社
電子デバイス及び電子デバイスの製造方法
17日前
太陽誘電株式会社
積層セラミック電子部品およびその製造方法
1か月前
続きを見る
他の特許を見る