TOP
|
特許
|
意匠
|
商標
特許ウォッチ
Twitter
他の特許を見る
公開番号
2025169915
公報種別
公開特許公報(A)
公開日
2025-11-14
出願番号
2025075366
出願日
2025-04-30
発明の名称
電磁的にシフト可能な能動係合クラッチ
出願人
ヘルビガー・アントリーブシュテクニク・ホールディング・ゲゼルシャフト・ミット・ベシュレンクテル・ハフツング
,
HOERBIGER Antriebstechnik Holding GmbH
代理人
個人
,
個人
,
個人
主分類
F16D
27/118 20060101AFI20251107BHJP(機械要素または単位;機械または装置の効果的機能を生じ維持するための一般的手段)
要約
【課題】係合位置を直接測定によって検出できる電磁的にシフト可能な能動係合クラッチを提供する
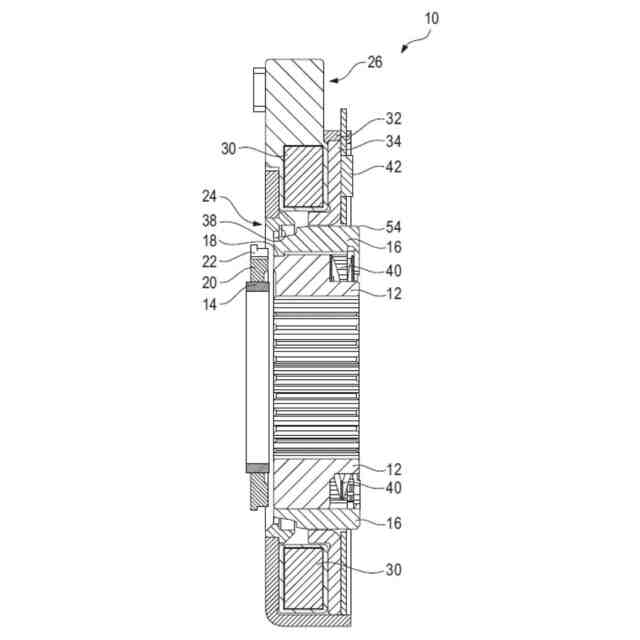
【解決手段】クラッチは、シャフトに沿って係合位置と解除位置との間で直線的に変位可能なシフトスリーブ(16)と、シャフトと同軸に配置されたクラッチ本体と、シフトスリーブ(16)をシャフトに沿って調整するための少なくとも1つの通電可能な駆動コイル(30)を備えたステータ(26)とを備えている。シフトスリーブ(16)に隣接して配置され、ホールセンサと、磁気的に囲み恒久的に固定された少なくとも2つの磁石とを含む固定センサ装置(42)を有し、磁石はシフトスリーブ(16)に向けられ、互いに反対の極性を有する。センサ装置(42)は、シフトスリーブ(16)の半径方向に隣接し、半径方向の隙間によって間隔を空けているため、シフトスリーブ(16)の軸方向の移動は、半径方向の隙間の減少を通じてホールセンサによって検出される。
【選択図】図2
特許請求の範囲
【請求項1】
シャフト(12)上に前記シャフト(12)と一体的に回転するように配置され、クラッチ係合位置とクラッチ解除位置との間で前記シャフト(12)に沿って直線的に変位可能なシフトスリーブ(16)と、
前記シャフト(12)と同軸に配置された少なくとも1つのクラッチ本体(20)と、
前記シャフト(12)に沿って前記シフトスリーブ(16)を調整するための少なくとも1つの通電可能な駆動コイル(30)を有するステータ(26)と、
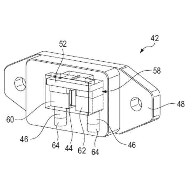
前記シフトスリーブ(16)に隣接して配置され、少なくとも1つのホールセンサ(44)と、少なくとも1つの前記ホールセンサ(44)を磁気的に囲み、少なくとも1つの前記ホールセンサ(44)に対して恒久的に固定された少なくとも2つの磁石(46)と、を備えたセンサ装置(42)と、
を備え、
クラッチ係合位置において、前記シフトスリーブと前記クラッチ本体(20)との間の能動係合により、前記シャフト(12)と前記クラッチ本体(20)との間に回転接続が形成され、
前記磁石(46)は、前記シフトスリーブ(16)に向けられ、互いに反対の極性を有し、
前記センサ装置(42)は、前記シフトスリーブ(16)に対して半径方向に隣接し、半径方向の隙間によって間隔をあけて配置され、前記シフトスリーブ(16)の軸方向の移動が、半径方向の前記隙間の変化を介して、前記ホールセンサ(44)によって検出される、電磁的にシフト可能な能動係合クラッチ(10)。
続きを表示(約 1,300 文字)
【請求項2】
前記シフトスリーブ(16)は、外側に前記センサ装置(42)に対向する傾斜面(54)を有し、前記傾斜面(54)が前記センサ装置(42)の検出領域を構成し、前記シフトスリーブ(16)側の前記隙間を画定し、
前記シフトスリーブ(16)の軸方向の移動中に、前記傾斜面(54)によって前記隙間の幅が変化することを特徴とする、請求項1に記載の電磁的にシフト可能な能動係合クラッチ(10)。
【請求項3】
前記傾斜面(54)が前記シフトスリーブ(16)のテーパ状の軸方向縁部によって形成されていることを特徴とする、請求項2に記載の電磁的にシフト可能な能動係合クラッチ(10)。
【請求項4】
前記センサ装置(42)が、前記磁石(46)の一端に隣接し、前記磁石(46)を磁気的に結合させる磁気短絡ブリッジ(58)を備えることを特徴とする、請求項1から3の何れか1項に記載の電磁的にシフト可能な能動係合クラッチ(10)。
【請求項5】
少なくとも2つの前記磁石(46)が、前記シフトスリーブ(16)から遠い方の端部において、前記磁気短絡ブリッジ(58)によって互いに接続されていることを特徴とする、請求項4に記載の電磁的にシフト可能な能動係合クラッチ(10)。
【請求項6】
前記磁気短絡ブリッジ(58)が第1ブリッジ部(60)と第2ブリッジ部(62)とに分割され、前記第1ブリッジ部(60)と前記第2ブリッジ部(62)は、2つのブリッジ部(60、62)の間に隙間が生じるように配置され、前記ホールセンサ(44)が前記第1ブリッジ部(60)と前記第2ブリッジ部(62)との間の隙間に配置されていることを特徴とする、請求項4または5に記載の電磁的にシフト可能な能動係合クラッチ(10)。
【請求項7】
各々の前記磁石(46)は、前記磁気短絡ブリッジ(58)から遠い側の端部に、磁性軟質材料(64)を備えていることを特徴とする、請求項6に記載の電磁的にシフト可能な能動係合クラッチ(10)。
【請求項8】
前記センサ装置(42)は少なくとも2つの前記ホールセンサ(44)を備え、各々の前記ホールセンサ(44)には、対応する前記ホールセンサ(44)に隣接する磁石(46)が接続されていることを特徴とする、請求項1から5の何れか1項に記載の電磁的にシフト可能な能動係合クラッチ(10)。
【請求項9】
前記ホールセンサ(44)が、それぞれ対応する前記磁石(46)の前記シフトスリーブ(16)側の端部に近接し、該端部と前記シフトスリーブ(16)との間に配置されていることを特徴とする、請求項8に記載の電磁的にシフト可能な能動係合クラッチ(10)。
【請求項10】
少なくとも1つの前記ホールセンサ(44)が、直接または少なくとも2つの前記磁石(46)のうちの1つを介して回路基板(52)に取り付けられていることを特徴とする、請求項1から9の何れか1項に記載の電磁的にシフト可能な能動係合クラッチ(10)。
(【請求項11】以降は省略されています)
発明の詳細な説明
【技術分野】
【0001】
本発明は、電磁的にシフト可能な能動係合クラッチに関する。
続きを表示(約 1,200 文字)
【背景技術】
【0002】
トルクを一方の軸からもう一方の同軸上に位置する軸へ、両軸を恒久的に接続することなく一時的に伝達する場合、典型的にはクラッチが用いられる。ここでは、摩擦係合クラッチと能動係合クラッチを区別する。本発明は、本明細書では能動係合クラッチと呼ぶ能動的に係合するクラッチに関する。能動係合クラッチには、例えば、歯付きクラッチやドッグクラッチが含まれる。
【0003】
能動係合クラッチでは、変位可能なシフトスリーブがしばしば用いられる。シフトスリーブには、互いに噛み合う1または複数の異なる歯が設けられており、これにより能動係合が生じ、第1軸から第2軸へのトルク伝達が可能となる。
【0004】
従来技術には、シフトスリーブに磁力を及ぼす駆動コイルによってシフトスリーブの調整が行われる電磁クラッチが開示されている。このタイプのクラッチでは、シフトスリーブを解除位置から一方向に移動させることで、シフトスリーブをクラッチ本体に係合させることができる。これはオーバーランニングクラッチと呼ばれる。
【0005】
更に、シフトスリーブを解除位置から反対方向に移動させることで、軸方向に間隔を置いて配置された異なるクラッチ本体に係合させることができる、両側クラッチも知られている。
【発明の開示】
【発明が解決しようとする課題】
【0006】
特に、電磁的にシフト可能な能動係合クラッチでは、制御コマンドによってシフトスリーブの変位を制御するコントローラが設けられている。最適なクラッチ操作プロセスを実現するには、係合位置とも呼ばれる、シフトスリーブの現在の位置を知る必要がある。これは、電磁的にシフト可能な能動係合クラッチに送信される各制御コマンドについて、まず現在の係合状態を分析し、コントローラがいつでもシフトスリーブの位置を問い合わせることができるようにする必要があるためである。
【0007】
従来技術では、シフトスリーブのシフト状態または係合位置は、例えばステータの現在の状態や接続されるシャフトの速度等、間接的な測定によって判定される。
【0008】
代替的には、ポジティブ噛み合いクラッチのハウジングにセンサを組み込むこともできる。この場合も通常、間接的な測定が行われる。この測定は、例えば、変位可能な部品、特にシフトスリーブに連結されたディスク等の追加の作動部品によって行われる。
【0009】
シフトスリーブの終端位置、すなわちシフトスリーブの係合位置または解除位置を判定するために、スイッチを使用することもできる。この場合、スイッチは、シフトスリーブが係合位置にあるときに、専用の作動部品によって作動される。
【0010】
スイッチの代わりに、同様に追加の部品によって作動される移動量測定システムを使用することもできる。
(【0011】以降は省略されています)
この特許をJ-PlatPat(特許庁公式サイト)で参照する
関連特許
個人
留め具
1か月前
個人
鍋虫ねじ
2か月前
個人
紛体用仕切弁
2か月前
個人
ホース保持具
7か月前
個人
回転伝達機構
3か月前
個人
差動歯車用歯形
4か月前
個人
トーションバー
7か月前
個人
給排気装置
1か月前
個人
ジョイント
2か月前
株式会社不二工機
電磁弁
6か月前
個人
ナット
2か月前
個人
ナット
16日前
株式会社不二工機
電磁弁
4か月前
個人
地震の揺れ回避装置
4か月前
個人
吐出量監視装置
2か月前
個人
ゲート弁バルブ
1日前
柿沼金属精機株式会社
分岐管
3か月前
兼工業株式会社
バルブ
17日前
カヤバ株式会社
緩衝器
1か月前
カヤバ株式会社
緩衝器
4か月前
カヤバ株式会社
緩衝器
4か月前
カヤバ株式会社
ダンパ
5か月前
カヤバ株式会社
ダンパ
5か月前
株式会社奥村組
制振機構
1か月前
個人
固着具と固着具の固定方法
7か月前
株式会社三五
ドライブシャフト
1か月前
株式会社ニフコ
クリップ
1日前
アズビル株式会社
回転弁
1か月前
株式会社奥村組
制振機構
1か月前
株式会社ノーリツ
分配弁
1か月前
株式会社フジキン
ボールバルブ
5か月前
個人
固着具と固着具の固定方法
6か月前
株式会社ニフコ
クリップ
1か月前
株式会社不二工機
電磁弁
2か月前
日東電工株式会社
断熱材
7か月前
株式会社ノーリツ
分配弁
6か月前
続きを見る
他の特許を見る