TOP
|
特許
|
意匠
|
商標
特許ウォッチ
Twitter
他の特許を見る
10個以上の画像は省略されています。
公開番号
2025169805
公報種別
公開特許公報(A)
公開日
2025-11-14
出願番号
2024074937
出願日
2024-05-02
発明の名称
ゴルフクラブの位置決め装置及びゴルフクラブの組立システム
出願人
住友ゴム工業株式会社
代理人
個人
,
個人
,
個人
,
個人
主分類
A63B
53/00 20150101AFI20251107BHJP(スポーツ;ゲーム;娯楽)
要約
【課題】ゴルフクラブヘッドに対して、シャフトの識別部を精度良く第1の位置に向けることができるゴルフクラブの位置決め装置及びゴルフクラブの組立システムを提供する。
【解決手段】ゴルフクラブ100を組み立てるに際して、シャフト102の識別部131を、シャフト軸中心線c1周りの予め定められた第1の位置P1に向けるためのゴルフクラブの位置決め装置1である。仮組み体110のゴルフクラブヘッド101を保持するためのヘッド保持部2と、仮組み体110のシャフト102を保持し、かつ、シャフト102をシャフト軸中心線c1周りで回転させるためのシャフト回転部3と、識別部131の位置を検出するための検出部4と、識別部131が第1の位置P1に向くように、シャフト回転部3を駆動する制御部5と、を含む。
【選択図】図1
特許請求の範囲
【請求項1】
差込孔を有するホーゼル部を有するゴルフクラブヘッドと、識別部を有し、かつ、前記差込孔に装着されたシャフトとを含むゴルフクラブを組み立てるに際して、基準状態にある前記ゴルフクラブヘッドに対して、前記シャフトの前記識別部を、シャフト軸中心線周りの予め定められた第1の位置に向けるための位置決め装置であって、
前記ゴルフクラブヘッドと前記シャフトとが仮装着された仮組み体の前記ゴルフクラブヘッドを前記基準状態に保持するためのヘッド保持部と、
前記仮組み体の前記シャフトを保持し、かつ、前記シャフトを前記シャフト軸中心線周りで回転させるためのシャフト回転部と、
前記仮組み体の前記シャフトの前記識別部の位置を検出するための検出部と、
前記検出部で検出された前記識別部の位置に基づいて、前記識別部が前記ゴルフクラブヘッドに対して前記第1の位置に向くように、前記シャフト回転部を駆動する制御部と、を含む、
ゴルフクラブの位置決め装置。
続きを表示(約 960 文字)
【請求項2】
前記検出部は、前記識別部を撮像可能なカメラを含む、請求項1に記載のゴルフクラブの位置決め装置。
【請求項3】
前記ヘッド保持部で保持された前記ゴルフクラブヘッドに対して、前記シャフトをシャフト軸方向で押圧するためのシャフト押圧部を含む、請求項1に記載のゴルフクラブの位置決め装置。
【請求項4】
前記ヘッド保持部は、前記ゴルフクラブヘッドのホーゼル部を挟持するクランプ部を含む、請求項1に記載のゴルフクラブの位置決め装置。
【請求項5】
前記クランプ部で保持された前記ゴルフクラブヘッドのトウ側の垂れを抑制するように、前記ゴルフクラブヘッドのヒールをトウ側に押圧するための第1の押圧部を含む、請求項4に記載のゴルフクラブの位置決め装置。
【請求項6】
前記クランプ部で保持された前記ゴルフクラブヘッドを前記基準状態に合わせるように、前記ゴルフクラブヘッドを前記ホーゼル部を中心に回転させるためのヘッド回転具を含む、請求項4に記載のゴルフクラブの位置決め装置。
【請求項7】
請求項1に記載されたゴルフクラブの位置決め装置と、前記位置決め装置から前記仮組み体を取り出して、予め定められた接着剤硬化場所へ搬送するための搬送装置とを含む、
ゴルフクラブの組立システム。
【請求項8】
前記搬送装置は、前記仮組み体の前記シャフトを保持するための第1保持部と、前記ゴルフクラブヘッドの前記ホーゼル部を保持するための第2保持部とを含む、請求項7に記載のゴルフクラブの組立システム。
【請求項9】
前記第2保持部は、前記ゴルフクラブヘッドのトウ・ヒール方向と直交する方向で前記ホーゼル部を両側から把持するための一対のクランプ部を含み、
前記一対のクランプ部のそれぞれは、前記ホーゼル部を把持したときの前記ホーゼル部の軸方向と直交する断面において、前記ホーゼル部に当接する断面V字状の溝が形成されており、
前記溝と前記ホーゼル部との接触点は、前記ホーゼル部の前記差込孔の軸中心線を通るトウ・ヒール方向線に対して、45度未満に位置する、請求項8に記載のゴルフクラブの組立システム。
発明の詳細な説明
【技術分野】
【0001】
本発明は、ゴルフクラブの位置決め装置及びゴルフクラブの組立システムに関する。
続きを表示(約 2,200 文字)
【背景技術】
【0002】
下記特許文献1には、シャフトとクラブヘッドとをシャフトシームの位置によって決定された所定の向きで固定するゴルフクラブの組立て方法が記載されている。
【先行技術文献】
【特許文献】
【0003】
特開平4-49987号公報
【発明の概要】
【発明が解決しようとする課題】
【0004】
ゴルフクラブのシャフトの表面には、デザイン等の模様及び/又は商品型番やブランド名などの標章を含む識別部が設けられている。従来、ゴルフクラブを組み立てるに際しては、作業者が、ゴルフクラブヘッドに対して、前記識別部が予め定められた位置に向くように、シャフトをゴルフクラブヘッドに装着することが行われている。しかしながら、このような作業は、熟練した技術を要し、ゴルフクラブヘッドに対して前記識別部を精度よく位置決めするのは困難であった。
【0005】
本発明は、以上のような実状に鑑み案出なされたもので、ゴルフクラブヘッドに対して、シャフトの識別部を精度良く第1の位置に向けることができるゴルフクラブの位置決め装置及びゴルフクラブの組立システムを提供することを主たる課題としている。
【課題を解決するための手段】
【0006】
本発明は、差込孔を有するホーゼル部を有するゴルフクラブヘッドと、識別部を有し、かつ、前記差込孔に装着されたシャフトとを含むゴルフクラブを組み立てるに際して、基準状態にある前記ゴルフクラブヘッドに対して、前記シャフトの前記識別部を、シャフト軸中心線周りの予め定められた第1の位置に向けるための位置決め装置であって、前記ゴルフクラブヘッドと前記シャフトとが仮装着された仮組み体の前記ゴルフクラブヘッドを前記基準状態に保持するためのヘッド保持部と、前記仮組み体の前記シャフトを保持し、かつ、前記シャフトを前記シャフト軸中心線周りで回転させるためのシャフト回転部と、前記仮組み体の前記シャフトの前記識別部の位置を検出するための検出部と、前記検出部で検出された前記識別部の位置に基づいて、前記識別部が前記ゴルフクラブヘッドに対して前記第1の位置に向くように、前記シャフト回転部を駆動する制御部と、を含む、ゴルフクラブの位置決め装置である。
【発明の効果】
【0007】
本発明のゴルフクラブの位置決め装置は、上記の構成を採用したことによって、熟練した技術を要することなく、ゴルフクラブヘッドに対して、シャフトの識別部を精度良く第1の位置に向けることができる。
【図面の簡単な説明】
【0008】
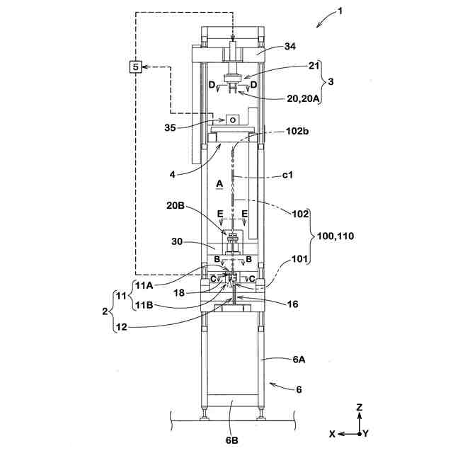
本発明の一実施形態を示す位置決め装置の正面図である。
図1の位置決め装置の側面図である。
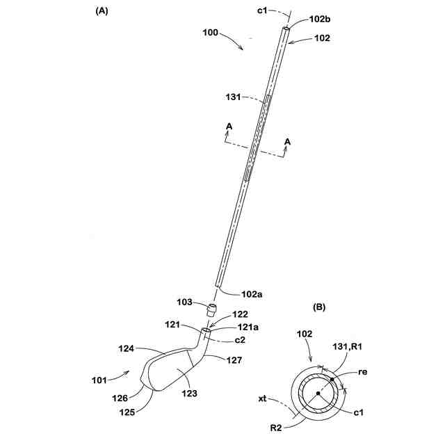
(A)は、ゴルフクラブの分解斜視図、(B)は、A-A線断面図である。
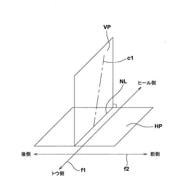
トウ・ヒール方向を説明するための概念図である。
ホーゼル部の部分断面図である。
(A)は、図1のB-B線断面図、(B)は、図6(A)の拡大図である。
図1のC-C線断面図、(B)は、図7(A)の拡大図である。
図1のD-D線断面図である。
(A)は、図1のE-E線断面図、(B)は、下段保持部付近の側面図である。第1の押圧具の斜視図である。
組立システムの平面図である。
組立システムの側面図である。
(A)は、図11のF-F線断面図、(B)は、図12(A)の部分拡大図である。
(A)は、図11のG-G線断面図、(B)は、図13(A)の部分拡大図である。
(A)は、組立方法のフローチャート、(B)は、シャフト位置決め工程のフローチャートである。
(A)は、クラブとシャフトとの位置決めの一実施形態、(B)は、クラブとシャフトとの位置決めの他の実施形態である。
他の実施形態の位置決め装置の正面図である。
他の実施形態の位置決め装置の側面図である。
他の実施形態の位置決め装置の部分斜視図である。
(A)は、他の実施形態の組立方法のフローチャート、(B)は、(A)のシャフト位置決め工程のフローチャートである。
【発明を実施するための形態】
【0009】
以下、本発明の実施の一形態が図面に基づき説明される。図面は、本発明の理解を助けるために、誇張表現や、実際の構造の寸法比とは異なる表現が含まれている。また、複数の実施形態がある場合、明細書を通して、同一又は共通する要素については同一の符号が付されており、重複する説明が省略される。
【0010】
図1は、本発明の一実施形態を示すゴルフクラブの位置決め装置(以下、単に「位置決め装置」という場合がある。)1の正面図である。図2は、位置決め装置1の側面図である。本発明の位置決め装置1は、ゴルフクラブ100(図2に示す)を組み立てる際に使用される。位置決め装置1は、詳しくは、ゴルフクラブヘッド(以下、単に「ヘッド」という場合がある。)101とシャフト102とを予め定められた位置に位置決めするための装置である。図1及び図2には、位置決め装置1と、位置決め装置1に取り付けられたゴルフクラブ100の仮組み体110とが示される。
(【0011】以降は省略されています)
この特許をJ-PlatPat(特許庁公式サイト)で参照する
関連特許
住友ゴム工業株式会社
タイヤ
1か月前
住友ゴム工業株式会社
タイヤ
23日前
住友ゴム工業株式会社
タイヤ
15日前
住友ゴム工業株式会社
タイヤ
23日前
住友ゴム工業株式会社
タイヤ
2日前
住友ゴム工業株式会社
タイヤ
1か月前
住友ゴム工業株式会社
タイヤ
1か月前
住友ゴム工業株式会社
タイヤ
1か月前
住友ゴム工業株式会社
タイヤ
1か月前
住友ゴム工業株式会社
タイヤ
24日前
住友ゴム工業株式会社
タイヤ
1か月前
住友ゴム工業株式会社
タイヤ
24日前
住友ゴム工業株式会社
タイヤ
26日前
住友ゴム工業株式会社
タイヤ
1か月前
住友ゴム工業株式会社
タイヤ
1か月前
住友ゴム工業株式会社
ラケット
3日前
住友ゴム工業株式会社
ゴルフボール
1か月前
住友ゴム工業株式会社
ゴルフボール
23日前
住友ゴム工業株式会社
バイアスタイヤ
29日前
住友ゴム工業株式会社
光硬化性組成物
2か月前
住友ゴム工業株式会社
重荷重用タイヤ
29日前
住友ゴム工業株式会社
重荷重用タイヤ
29日前
住友ゴム工業株式会社
空気入りタイヤ
1か月前
住友ゴム工業株式会社
空気入りタイヤ
1か月前
住友ゴム工業株式会社
空気入りタイヤ
1か月前
住友ゴム工業株式会社
重荷重用タイヤ
1か月前
住友ゴム工業株式会社
モデリング方法
1か月前
住友ゴム工業株式会社
モデリング方法
1か月前
住友ゴム工業株式会社
空気入りタイヤ
26日前
住友ゴム工業株式会社
空気入りタイヤ
26日前
住友ゴム工業株式会社
空気入りタイヤ
26日前
住友ゴム工業株式会社
空気入りタイヤ
25日前
住友ゴム工業株式会社
重荷重用タイヤ
2日前
住友ゴム工業株式会社
空気入りタイヤ
23日前
住友ゴム工業株式会社
重荷重用タイヤ
2日前
住友ゴム工業株式会社
重荷重用タイヤ
2日前
続きを見る
他の特許を見る