TOP
|
特許
|
意匠
|
商標
特許ウォッチ
Twitter
他の特許を見る
公開番号
2025169784
公報種別
公開特許公報(A)
公開日
2025-11-14
出願番号
2024074897
出願日
2024-05-02
発明の名称
載置物品回動機構及びそれを備える車両
出願人
個人
代理人
個人
主分類
B60N
2/14 20060101AFI20251107BHJP(車両一般)
要約
【課題】簡易な構成で容易に製造することができ、回動スライド体が、枠体の長手方向且つ上方に移動する際に、長手方向及び上方に移動が可能な設定範囲の自由度がより高く、種々の載置物への対応が容易な載置物品回動機構を提供する。
【解決手段】長方形状の支持枠31の長手方向に移動可能な方形状の枠体21を有する回動スライド体20を備え、回動スライド体20は枠体21に固定される上板22と下板24と上板22及び下板24に介在する回動盤23とを備え、下板24の下面には回動スライド体20を支持枠31の長手方向及び上部へ移動させる揺動ステー40を取り付け、揺動ステー40の揺動により回動スライド体20が支持枠31の長手方向にスライドしつつ回動スライド体20を上方に移動させ、上板22が支持枠31の上端より上方に位置しつつ下板24が支持枠31の上端より下方に位置することにより、枠体21が回動自在となるよう構成した。
【選択図】図2
特許請求の範囲
【請求項1】
長方形状に枠を組み形成される支持枠と、前記支持枠の枠上に支持され、前記支持枠の長手方向に移動可能な、方形状に組まれ形成される枠体を有する回動スライド体を備え、
前記回動スライド体は、前記枠体に固定される上板と、下板と、前記上板及び前記下板に介在する回動盤とを備え、前記下板の下面には、前記回動スライド体を前記支持枠の長手方向及び上部へ移動させる揺動ステーを取り付け、
前記回動スライド体の上板が、前記支持枠内に嵌ることによって、前記支持枠に対する回動を阻止され、前記揺動ステーの揺動により、前記回動体が前記支持枠の長手方向にスライドしつつ、前記回動体を上方に移動させ、前記回動スライド体の上板が、前記支持枠の上端より上方に位置しつつ、前記下板が前記支持枠の上端より下方に位置することにより、前記回動スライド体の枠体が回動自在となることを特徴とする載置物品回動機構。
続きを表示(約 420 文字)
【請求項2】
前記支持枠に、前記回動スライド体を前記支持枠の長手方向及び上部への移動を前記回動体が前記支持枠の長手方向にスライドしつつ、前記回動体を上方に移動させ、前記回動スライド体の上板が、前記支持枠の上端より上方に位置しつつ、前記下板が前記支持枠の上端より下方に位置することにより、前記回動スライド体の枠体が回動自在となる位置において、前記揺動ステーの揺動を規制するストッパーを取り付けてなることを特徴とする請求項1に記載の載置物品回動機構。
【請求項3】
前記回動スライド体の上部に自動車又は電車の座席を取り付けて、前記自動車又は電車の座席の回動を行うことをことを特徴とする請求項1又は2に記載の載置物品回動機構。
【請求項4】
請求項3に記載の載置物品回動機構を備えることを特徴とする自動車。
【請求項5】
請求項3に記載の載置物品回動機構を備えることを特徴とする電車。
発明の詳細な説明
【技術分野】
【0001】
本発明は、載置された物品を回動する載置物品回動機構、特に、車両用の回動座席(載置物品)に好適な載置物品回動機構及びそれを自動車用座席回動機構として備える自動車に関する。
続きを表示(約 2,400 文字)
【背景技術】
【0002】
従来、例えば、車両用の回動座席に使用される回動機構としては、特許第3575354号(特許文献1)に示すような回動機構が公知である。前記公報記載の回動機構は、車両前方を向いた着座位置と車両側方を向いた乗降のための横向き位置との間を回動可能な車両用回動座席であって、座席本体を前記着座位置と前記横向き位置との間で水平回動可能に支持するための回動支持台と、前記座席本体を車幅方向に移動可能に支持するための幅方向支持台とを備え、前記幅方向支持台は、車両フロアまたは前記回動支持台に相互に平行に固定された左右一対の固定レールを有する固定枠体と、前記両固定レールの内側に沿って移動可能に支持された左右一対の第1可動レールと該両第1可動レール間を連結する連結板を有する中間スライド枠体と、前記両第1可動レールの内側に沿って移動可能に支持された左右一対の第2可動レールと該両第2可動レール間を連結する連結板を有するトップスライド枠体を備え、該トップスライド枠体に前記座席本体が支持されて、該座席本体を2 段階で車幅方向にスライド可能な構成とされるとともに、前記固定レール間に第1の駆動装置を配置し、該第1の駆動装置を前記中間スライド枠体の連結板に連結して該中間スライド枠体を前記固定枠体に対して移動させ、かつ前記第1可動レール間に第2の駆動装置を配置し、該第2の駆動装置を前記トップスライド枠体の連結板に連結して該トップスライド枠体を前記中間スライド枠体に対して移動させる構成とされている。
【0003】
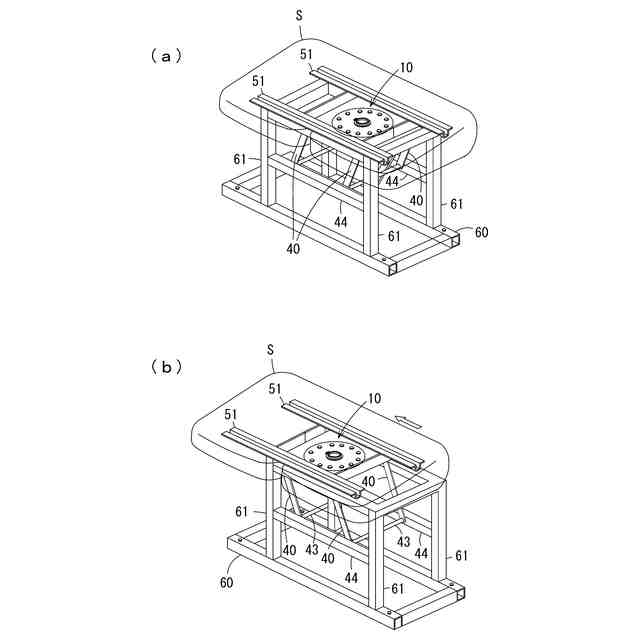
しかしながら、前記回動機構は、車両外に身体障害者等を着座したまま移動させる構成であるので、例えば、3列シートや4列シートからなる車両において、例えば、2列目の座席を3列目の座席と対面するように回動させる回動機構としては不適である。
【0004】
また、前記の3列シートや4列シートからなる車両において、完成車に後付けで位置のシートを回動対面シートとする改造を行う場合には、前記シートが回動する場合に、内側壁と抵触しないように回動代(しろ)を設ける必要があるとともに、簡易な構造であることが要求される。
【0005】
そこで、本件出願人は前記問題点を解決するために、特許第6763502号(特許文献2)を提案した。前記公報記載の回動機構は、長方形状の枠で形成される支持枠と、前記支持枠の枠上に支持され、前記枠体の長手方向に移動可能な、方形状(正方形状及び長方形状を含む)の枠体を有する回動スライド体を備え、前記回動スライド体に固定される上板と、下板と、前記上板及び前記下板に介在する回動盤とを備える回動盤を備え、前記下板の下部には、前記支持部材と対応する位置に下方に突出するスライド部材を備え、前記回動スライド体の上板が、前記支持枠の高さ方向の内部に嵌ることによって、回動を阻止され、前記回動スライド体が、前記支持枠の長辺方向にスライドしつつ、前記スライド部材が前記支持部材に乗り上げ、上方に移動して、前記回動スライド体の上板が、前記支持枠の上端より上方に位置することにより、前記スライド体の枠が回動自在となるよう構成したものである。
【0006】
しかしながら、本件出願人は、前記回動スライド体が、前記枠体の長手方向且つ上方に移動する際に、長手方向及び上方に移動が可能な設定範囲の自由度がより高く、種々の載置物への対応が容易な載置物品回動機構が要請されている。
【0007】
特許第3575354号 図3、図5、図6
特許第6763502号 第1頁、図1
【発明の概要】
【発明が解決しようとする課題】
【0008】
本発明は、前記の事情に鑑み発明されたものであり、簡易な構成で容易に製造することができ、回動スライド体が、前記枠体の長手方向且つ上方に移動する際に、長手方向及び上方に移動が可能な設定範囲の自由度がより高く、種々の載置物への対応が容易な載置物品回動機構を提供することにある。
【課題を解決するための手段】
【0009】
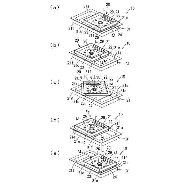
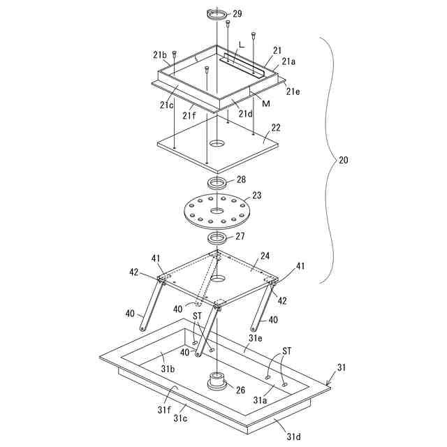
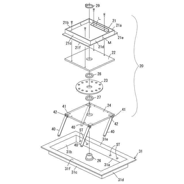
請求項1に記載の載置物品回動機構は、長方形状に枠を組み形成される支持枠と、前記支持枠の枠上に支持され、前記支持枠の長手方向に移動可能な、方形状に組まれ形成される枠体を有する回動スライド体を備え、前記回動スライド体は、前記枠体に固定される上板と、下板と、前記上板及び前記下板に介在する回動盤とを備え、前記下板の下面には、前記回動スライド体を前記支持枠の長手方向及び上部へ移動させる揺動ステーを取り付け、前記回動スライド体の上板が、前記支持枠内に嵌ることによって、前記支持枠に対する回動を阻止され、前記揺動ステーの揺動により、前記回動体が前記支持枠の長手方向にスライドしつつ、前記回動体を上方に移動させ、前記回動スライド体の上板が、前記支持枠の上端より上方に位置しつつ、前記下板が前記支持枠の上端より下方に位置することにより、前記回動スライド体の枠体が回動自在となることを特徴とする。
【0010】
請求項1に記載の載置物品回動機構にあっては、前記回動スライド体が前記支持に対して、スライドしつつ、上方に移動して、前記回動スライド体の枠の下端が、前記支持枠の上端より上方に位置することにより、前記スライド体の枠が回動自在となる動作を、前記回動スライド体の下面に取り付けた揺動ステーの揺動により行うので、前記揺動ステーの長さ、揺動幅を調整するだけで、前記回動スライド体が前記枠体の長手方向且つ上方の移動距離を調整でき、種々の載置物への対応が容易な載置物品回動機構を提供することができる。
(【0011】以降は省略されています)
この特許をJ-PlatPat(特許庁公式サイト)で参照する
関連特許
個人
タイヤレバー
4か月前
個人
前輪キャスター
3か月前
個人
上部一体型自動車
1か月前
個人
ルーフ付きトライク
3か月前
個人
タイヤ脱落防止構造
3か月前
個人
空間形成装置
28日前
日本精機株式会社
表示装置
3か月前
日本精機株式会社
照明装置
23日前
日本精機株式会社
表示装置
3か月前
個人
マスタシリンダ
2か月前
日本精機株式会社
表示装置
3か月前
個人
車両通過構造物
4か月前
日本精機株式会社
表示装置
3か月前
個人
常設収納型サンバイザー
1か月前
日本精機株式会社
車載表示装置
1か月前
日本精機株式会社
車載表示装置
29日前
日本精機株式会社
車載表示装置
1か月前
株式会社豊田自動織機
産業車両
3か月前
株式会社豊田自動織機
産業車両
23日前
個人
回転窓ワイパー装置
28日前
日本精機株式会社
車載表示装置
2か月前
株式会社ニフコ
照明装置
3か月前
日本精機株式会社
車室演出装置
3か月前
株式会社ニフコ
収納装置
2か月前
個人
音声ガイド、音声サービス
4か月前
日本精機株式会社
画像投映装置
1か月前
日本無線株式会社
取付金具
4か月前
日本精機株式会社
車両用投影装置
2か月前
株式会社SUBARU
車両
1か月前
日本精機株式会社
車両用投射装置
1か月前
日本精機株式会社
車両用報知装置
1か月前
井関農機株式会社
作業車両
2か月前
極東開発工業株式会社
車両
3か月前
日本精機株式会社
車両用表示装置
3か月前
日本精機株式会社
車両用表示装置
1か月前
個人
音による速度計とプログラム
1か月前
続きを見る
他の特許を見る