TOP
|
特許
|
意匠
|
商標
特許ウォッチ
Twitter
他の特許を見る
10個以上の画像は省略されています。
公開番号
2025169047
公報種別
公開特許公報(A)
公開日
2025-11-12
出願番号
2024074019
出願日
2024-04-30
発明の名称
粉体定量供給装置
出願人
株式会社ブリヂストン
代理人
個人
,
個人
,
個人
,
個人
主分類
B65G
65/48 20060101AFI20251105BHJP(運搬;包装;貯蔵;薄板状または線条材料の取扱い)
要約
【課題】容器側部分のみを容易に着脱可能な、粉体定量供給装置を提供する。
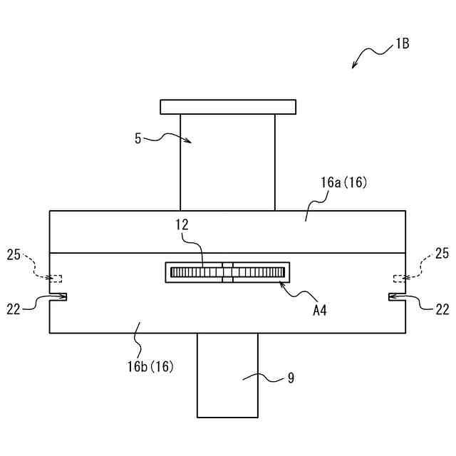
【解決手段】装置1は、粉体を収容可能な容器5と、定量空間7と、供給口A2と、ギア機構3と、駆動源2とを備える。駆動源2と、駆動側ギア機構3Aとを一体化することによって駆動ユニット1Aとする一方で、容器5と、定量空間7と、供給口A2と、従動側ギア機構12とを一体化することによって容器ユニット1Bとする。装置1は、ユニット1Bをユニット1Aに隣接させる一方で、ユニット1Bをユニット1Aから離隔可能なスライド機構20を備える。駆動側ギア11と、従動側ギア12とは、ユニット1Bを後に移動させることによって、互いに噛み合い可能である一方で、ユニット1Bを前に移動させることによって、互いに分離可能である。
【選択図】図3
特許請求の範囲
【請求項1】
粉体を収容可能な容器と、前記容器の収容空間に通じる定量空間と、前記定量空間に通じる供給口と、前記容器に収容された攪拌手段を駆動させるギア機構と、前記ギア機構を駆動させる駆動源とを備える粉体定量供給装置であって、
前記駆動源と、前記ギア機構の駆動側ギア機構とを一体化することによって駆動ユニットとする一方で、前記容器と、前記定量空間と、前記供給口と、前記ギア機構の従動側ギア機構とを一体化することによって容器ユニットとし、さらに、
前記粉体定量供給装置は、前記容器ユニットを横方向一方側から差し込んで横方向他方側に移動させることにより当該容器ユニットを前記駆動ユニットに隣接させる一方で、前記容器ユニットを横方向一方側に移動させることにより当該容器ユニットを前記駆動ユニットから離隔可能な、スライド機構を備えており、
前記駆動側ギア機構の駆動側ギアと、前記従動側ギア機構の従動側ギアとは、前記容器ユニットを横方向他方側に移動させることによって、互いに噛み合い可能である一方で、前記容器ユニットを横方向一方側に移動させることによって、互いに分離可能である、粉体定量供給装置。
続きを表示(約 400 文字)
【請求項2】
前記容器ユニットを前記スライド機構の所定の位置に位置決めする位置決め手段をさらに備える、請求項1に記載された粉体定量供給装置。
【請求項3】
前記位置決め手段は、前記駆動ユニット及び前記容器ユニットのいずれか一方を貫通する棒状部材と、前記棒状部材を固定する、前記駆動ユニット及び前記容器ユニットの他方に設けられた止まり穴と備える、請求項2に記載された粉体定量供給装置。
【請求項4】
前記棒状部材は、インデックスプランジャである、請求項3に記載された粉体定量供給装置。
【請求項5】
前記容器ユニットを前記横方向他方側に移動させた場合、前記駆動側ギアと前記従動側ギアとが噛み合わないとき、前記駆動側ギアを1ピッチ未満だけ回転させるように、前記駆動源を動作させる制御部をさらに備える、請求項1~4のいずれか1項に記載された粉体定量供給装置。
発明の詳細な説明
【技術分野】
【0001】
本発明は、粉体定量供給装置に関する。
続きを表示(約 1,600 文字)
【背景技術】
【0002】
従来の粉体定量供給装置としては、例えば、容器の内部で攪拌された粉体が定量空間を通して定量されたのち、当該定量空間から供給口を通して定量的に排出される、定量フィーダ装置が知られている(例えば、特許文献1又は2参照。)。
【先行技術文献】
【特許文献】
【0003】
特開2023-11365号公報
特開2020-189753号公報
【発明の概要】
【発明が解決しようとする課題】
【0004】
しかしながら、上記従来の粉体定量供給装置はいずれも、例えば、クリーニングや被供給側での複数種類の粉体の混合を目的に、容器を交換する場合、当該容器の交換作業が煩雑である。
【0005】
本発明の目的は、容器側部分のみを容易に着脱可能な、粉体定量供給装置を提供することである。
【課題を解決するための手段】
【0006】
(1)本発明に係る粉体定量供給装置は、粉体を収容可能な容器と、前記容器の収容空間に通じる定量空間と、前記定量空間に通じる供給口と、前記容器に収容された攪拌手段を駆動させるギア機構と、前記ギア機構を駆動させる駆動源とを備える粉体定量供給装置であって、前記駆動源と、前記ギア機構の駆動側ギア機構とを一体化することによって駆動ユニットとする一方で、前記容器と、前記定量空間と、前記供給口と、前記ギア機構の従動側ギア機構とを一体化することによって容器ユニットとし、さらに、前記粉体定量供給装置は、前記容器ユニットを横方向一方側から差し込んで横方向他方側に移動させることにより当該容器ユニットを前記駆動ユニットに隣接させる一方で、前記容器ユニットを横方向一方側に移動させることにより当該容器ユニットを前記駆動ユニットから離隔可能な、スライド機構を備えており、前記駆動側ギア機構の駆動側ギアと、前記従動側ギア機構の従動側ギアとは、前記容器ユニットを横方向他方側に移動させることによって、互いに噛み合い可能である一方で、前記容器ユニットを横方向一方側に移動させることによって、互いに分離可能である。本発明に係る粉体定量供給装置は、容器側部分のみを容易に着脱させることができる。
【0007】
(2)上記(1)の粉体定量供給装置は、前記容器ユニットを前記スライド機構の所定の位置に位置決めする位置決め手段をさらに備えることが好ましい。この場合、容器ユニットをスライド機構の所定の位置に安定的に位置決めすることができる。
【0008】
(3)上記(2)の粉体定量供給装置において、前記位置決め手段は、前記駆動ユニット及び前記容器ユニットのいずれか一方を貫通する棒状部材と、前記棒状部材を固定する、前記駆動ユニット及び前記容器ユニットの他方に設けられた止まり穴と備えることが好ましい。この場合、容器ユニットの位置決めを容易に行うことができる。
【0009】
(4)上記(3)の粉体定量供給装置において、前記棒状部材は、インデックスプランジャであることが好ましい。この場合、棒状部材を止まり穴に対して容易かつ安定的に固定することができる。
【0010】
(5)上記(1)~(4)のいずれか1つの粉体定量供給装置は、前記容器ユニットを前記横方向他方側に移動させた場合、前記駆動側ギアと前記従動側ギアとが噛み合わないとき、前記駆動側ギアを1ピッチ未満だけ回転させるように、前記駆動源を動作させる制御部をさらに備える。この場合、駆動側ギア機構の駆動側ギアと従動側ギア機構の従動側ギアとの噛み合いずれがあったとしてもそれを是正することができる。
【発明の効果】
(【0011】以降は省略されています)
この特許をJ-PlatPat(特許庁公式サイト)で参照する
関連特許
株式会社ブリヂストン
タイヤ
26日前
株式会社ブリヂストン
空気入りタイヤ
1か月前
株式会社ブリヂストン
タイヤ成型用金型
1か月前
株式会社ブリヂストン
粉体定量供給装置
10日前
株式会社ブリヂストン
傾斜式車両用タイヤ
24日前
株式会社ブリヂストン
傾斜式車両用タイヤ
24日前
株式会社ブリヂストン
傾斜式車両用タイヤ
24日前
株式会社ブリヂストン
サイホン排水システム
15日前
株式会社ブリヂストン
タイヤ及びタイヤの製造方法
26日前
株式会社ブリヂストン
タイヤ及びタイヤの製造方法
26日前
株式会社ブリヂストン
タイヤ及びタイヤの製造方法
26日前
株式会社ブリヂストン
タイヤ及びタイヤの製造方法
26日前
株式会社ブリヂストン
再利用判定方法及び再利用判定装置
2日前
株式会社ブリヂストン
サイドウォール用ゴム組成物及びタイヤ
8日前
株式会社ブリヂストン
スチールコード-ゴム複合体及びタイヤ
8日前
株式会社ブリヂストン
熱分解油、エラストマー、ゴム製品、及び樹脂製品
17日前
株式会社ブリヂストン
熱分解油、エラストマー、ゴム製品、及び樹脂製品
17日前
株式会社ブリヂストン
熱分解油、エラストマー、ゴム製品、及び樹脂製品
17日前
株式会社ブリヂストン
情報処理装置、情報処理方法、及び情報処理プログラム
8日前
株式会社ブリヂストン
データ処理装置、データ処理方法及びデータ処理プログラム
15日前
株式会社ブリヂストン
タイヤ異常判定システム、プログラム及びタイヤ異常判定方法
8日前
個人
収容箱
4か月前
個人
束ね具
11日前
個人
コンベア
6か月前
個人
容器
10か月前
個人
段ボール箱
7か月前
個人
段ボール箱
8か月前
個人
ゴミ収集器
7か月前
個人
バンド
2か月前
個人
土嚢運搬器具
9か月前
個人
テープ引出機
11日前
個人
宅配システム
7か月前
個人
楽ちんハンド
5か月前
個人
角筒状構造体
6か月前
個人
お薬の締結装置
6か月前
個人
閉塞装置
11か月前
続きを見る
他の特許を見る