TOP
|
特許
|
意匠
|
商標
特許ウォッチ
Twitter
他の特許を見る
10個以上の画像は省略されています。
公開番号
2025162464
公報種別
公開特許公報(A)
公開日
2025-10-27
出願番号
2024065799
出願日
2024-04-15
発明の名称
タイヤ
出願人
株式会社ブリヂストン
代理人
弁理士法人太陽国際特許事務所
主分類
B60C
5/01 20060101AFI20251020BHJP(車両一般)
要約
【課題】樹脂製のタイヤ骨格部材を有するタイヤにおいて、耐圧性能及び転動時における信頼性を向上させる。
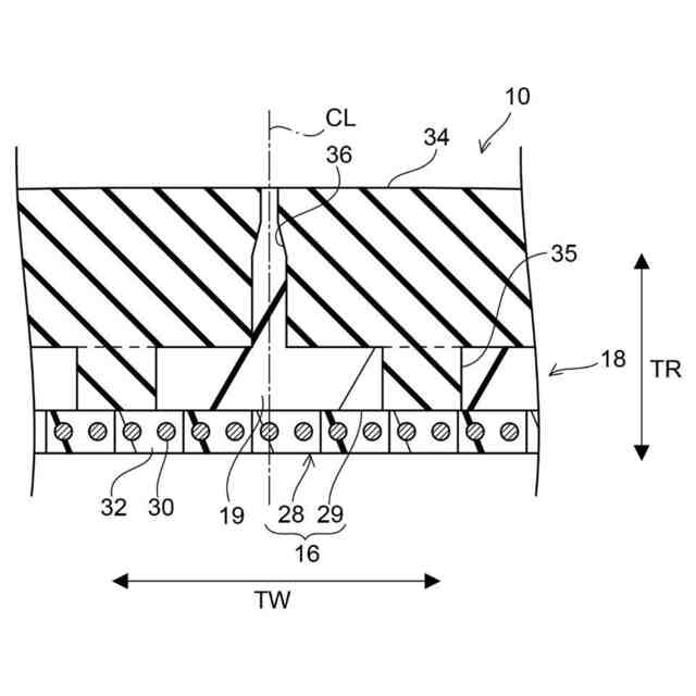
【解決手段】タイヤは、ビード部12と、前記ビード部のタイヤ径方向外側に連なるサイド部14と、前記サイド部のタイヤ幅方向内側に連なるクラウン部16と、を有する樹脂製のタイヤ骨格部材と、前記クラウン部のタイヤ径方向外側に配置されるトレッド34と、を備え、前記クラウン部は、1本又は複数本の補強コードが樹脂被覆されたベルト層28を含み、前記タイヤ骨格部材において、前記ベルト層のタイヤ幅方向外側の端部から前記サイド部までの範囲が樹脂のみで形成されており、前記範囲における前記タイヤ骨格部材を構成する樹脂の厚みと弾性率の積が200MPa・mm以上600MPa・mm以下である。
【選択図】図1
特許請求の範囲
【請求項1】
ビード部と、前記ビード部のタイヤ径方向外側に連なるサイド部と、前記サイド部のタイヤ幅方向内側に連なるクラウン部と、を有する樹脂製のタイヤ骨格部材と、
前記クラウン部のタイヤ径方向外側に配置されるトレッドと、
を備え、
前記クラウン部は、1本又は複数本の補強コードが樹脂被覆されたベルト層を含み、
前記タイヤ骨格部材において、前記ベルト層のタイヤ幅方向外側の端部から前記サイド部までの範囲が樹脂のみで形成されており、
前記範囲における前記タイヤ骨格部材を構成する樹脂の厚みと弾性率との積が200MPa・mm以上600MPa・mm以下である、タイヤ。
続きを表示(約 430 文字)
【請求項2】
前記範囲における前記樹脂の厚みと弾性率との積が250MPa・mm以上450MPa・mm以下である、請求項1に記載のタイヤ。
【請求項3】
前記ベルト層は、1本又は複数本の前記補強コードを樹脂被覆した被覆コードをタイヤ周方向に螺旋状に巻回して形成されている、請求項1に記載のタイヤ。
【請求項4】
前記クラウン部は、前記ベルト層のタイヤ径方向外側に配置された樹脂層を含む、請求項1に記載のタイヤ。
【請求項5】
前記樹脂層と前記トレッドとが接合されている、請求項4に記載のタイヤ。
【請求項6】
前記ベルト層と前記樹脂層とが溶着されている、請求項4に記載のタイヤ。
【請求項7】
前記ベルト層を構成する樹脂と、前記樹脂層を構成する樹脂が同種である、請求項4に記載のタイヤ。
【請求項8】
前記樹脂層は樹脂のみで構成されている、請求項4に記載のタイヤ。
発明の詳細な説明
【技術分野】
【0001】
本開示は、タイヤに関する。
続きを表示(約 1,600 文字)
【背景技術】
【0002】
特許文献1には、樹脂製のタイヤ骨格部材を有するタイヤが開示されている。このタイヤ骨格部材におけるクラウン部のタイヤ径方向外側には、補強コードを樹脂被覆した樹脂被覆コードを備えるベルト層と、ゴムトレッドとが配置されている。またタイヤ骨格部材は、主に熱可塑性材料によって構成されている。
【先行技術文献】
【特許文献】
【0003】
特許第5384253号公報
【発明の概要】
【発明が解決しようとする課題】
【0004】
ところで、特許文献1には、タイヤ骨格部材を構成する熱可塑性材料として熱可塑性樹脂を用いており、この熱可塑性樹脂の物性について種々例示されている。しかしながら、特許文献1のタイヤでは、タイヤ骨格部材においてベルト層のタイヤ幅方向外側の端部からサイド部までの範囲にコードによる補強がないため、タイヤの内圧保持や転動時における信頼性の確保に改善の余地がある。
【0005】
本開示は、樹脂製のタイヤ骨格部材を有するタイヤにおいて、耐圧性能及び転動時における信頼性の向上を目的とする。
【課題を解決するための手段】
【0006】
本開示の第1態様のタイヤは、ビード部と、前記ビード部のタイヤ径方向外側に連なるサイド部と、前記サイド部のタイヤ幅方向内側に連なるクラウン部と、を有する樹脂製のタイヤ骨格部材と、前記クラウン部のタイヤ径方向外側に配置されるトレッドと、を備え、前記クラウン部は、1本又は複数本の補強コードが樹脂被覆されたベルト層を含み、前記タイヤ骨格部材において、前記ベルト層のタイヤ幅方向外側の端部から前記サイド部までの範囲が樹脂のみで形成されており、前記範囲における前記タイヤ骨格部材を構成する樹脂の厚みと弾性率との積が200MPa・mm以上600MPa・mm以下である。
【0007】
第1態様のタイヤでは、タイヤ骨格部材において、ベルト層のタイヤ幅方向外側の端部からサイド部までの範囲が樹脂のみで形成されているため、この範囲におけるタイヤ骨格部材を構成する樹脂の厚みと樹脂の弾性率の積を200MPa・mm以上600MPa・mm以下に設定している。ここで、上記範囲における樹脂の厚みと弾性率との積を200MPa・mm以上に設定することで、転動時において、上記範囲におけるタイヤ骨格部材の局所的な変形を抑制することができる。一方、樹脂の厚みと弾性率との積を600MPa・mm以下に設定することで、タイヤ骨格部材の上記範囲に亀裂が発生するのを抑制することができる。また、上記範囲に亀裂が発生した場合でも、亀裂の進展を抑制することができる。
すなわち、上記タイヤでは、樹脂の厚みと弾性率との積を200MPa・mm以上600MPa・mm以下に設定することで、例えば、樹脂の弾性率のみを設定するタイヤと比べて、タイヤ骨格部材の上記範囲において、局所的な変形が抑制されることによって耐圧性能が向上し、さらに、亀裂発生及び亀裂進展が抑制されることによって転動時の信頼性が向上する。
【0008】
本開示の第2態様のタイヤは、第1態様のタイヤにおいて、前記範囲における前記樹脂の厚みと弾性率との積が250MPa・mm以上450MPa・mm以下である。
【0009】
第2態様のタイヤでは、樹脂の厚みと弾性率との積を250MPa・mm以上450MPa・mm以下に設定することで、耐圧性能及び転動時の信頼性が更に向上する。
【0010】
本開示の第3態様のタイヤは、第1態様又は第2態様のタイヤにおいて、前記ベルト層は、1本又は複数本の前記補強コードを樹脂被覆した被覆コードをタイヤ周方向に螺旋状に巻回して形成されている。
(【0011】以降は省略されています)
この特許をJ-PlatPat(特許庁公式サイト)で参照する
関連特許
株式会社ブリヂストン
タイヤ
26日前
株式会社ブリヂストン
空気入りタイヤ
1か月前
株式会社ブリヂストン
タイヤ成型用金型
1か月前
株式会社ブリヂストン
粉体定量供給装置
10日前
株式会社ブリヂストン
傾斜式車両用タイヤ
24日前
株式会社ブリヂストン
傾斜式車両用タイヤ
24日前
株式会社ブリヂストン
傾斜式車両用タイヤ
24日前
株式会社ブリヂストン
サイホン排水システム
15日前
株式会社ブリヂストン
タイヤ及びタイヤの製造方法
26日前
株式会社ブリヂストン
タイヤ及びタイヤの製造方法
26日前
株式会社ブリヂストン
タイヤ及びタイヤの製造方法
26日前
株式会社ブリヂストン
タイヤ及びタイヤの製造方法
26日前
株式会社ブリヂストン
再利用判定方法及び再利用判定装置
2日前
株式会社ブリヂストン
スチールコード-ゴム複合体及びタイヤ
8日前
株式会社ブリヂストン
サイドウォール用ゴム組成物及びタイヤ
8日前
株式会社ブリヂストン
タイヤ管理装置、プログラム及びタイヤ管理方法
1か月前
株式会社ブリヂストン
熱分解油、エラストマー、ゴム製品、及び樹脂製品
17日前
株式会社ブリヂストン
熱分解油、エラストマー、ゴム製品、及び樹脂製品
17日前
株式会社ブリヂストン
熱分解油、エラストマー、ゴム製品、及び樹脂製品
17日前
株式会社ブリヂストン
情報処理装置、情報処理方法、及び情報処理プログラム
8日前
株式会社ブリヂストン
タイヤ温度管理装置、プログラム及びタイヤ温度管理方法
1か月前
株式会社ブリヂストン
データ処理装置、データ処理方法及びデータ処理プログラム
15日前
株式会社ブリヂストン
タイヤ異常判定システム、プログラム及びタイヤ異常判定方法
8日前
個人
タイヤレバー
3か月前
個人
前輪キャスター
2か月前
個人
上部一体型自動車
1か月前
個人
ルーフ付きトライク
3か月前
個人
タイヤ脱落防止構造
2か月前
個人
ホイルのボルト締結
4か月前
個人
空間形成装置
23日前
個人
マスタシリンダ
1か月前
個人
車両通過構造物
3か月前
日本精機株式会社
照明装置
18日前
日本精機株式会社
表示装置
3か月前
日本精機株式会社
表示装置
3か月前
個人
キャンピングトライク
5か月前
続きを見る
他の特許を見る