TOP
|
特許
|
意匠
|
商標
特許ウォッチ
Twitter
他の特許を見る
公開番号
2025157983
公報種別
公開特許公報(A)
公開日
2025-10-16
出願番号
2024060388
出願日
2024-04-03
発明の名称
タイヤ温度管理装置、プログラム及びタイヤ温度管理方法
出願人
株式会社ブリヂストン
代理人
個人
,
個人
,
個人
,
個人
主分類
B60C
23/00 20060101AFI20251008BHJP(車両一般)
要約
【課題】ORタイヤを含む大型のタイヤの破損を防止するタイヤ温度管理装置、プログラム及びタイヤ温度管理方法が提供される。
【解決手段】タイヤ温度管理装置(10)は、タイヤを装着した車両の稼働開始予定日時と、タイヤの通常使用時の温度である使用温度と、タイヤの温まりやすさの情報と、を含む入力データを取得する取得部(131)と、入力データを用いて、タイヤの温度が、稼働開始予定日時に、使用温度に基づいて定められる目標温度であるように、少なくとも加熱開始日時を含むタイヤの加熱を制御するための値を算出する算出部(132)と、を備える。
【選択図】図1
特許請求の範囲
【請求項1】
タイヤを装着した車両の稼働開始予定日時と、前記タイヤの通常使用時の温度である使用温度と、前記タイヤの温まりやすさの情報と、を含む入力データを取得する取得部と、
前記入力データを用いて、前記タイヤの温度が、前記稼働開始予定日時に、前記使用温度に基づいて定められる目標温度であるように、少なくとも加熱開始日時を含む前記タイヤの加熱を制御するための値を算出する算出部と、を備える、タイヤ温度管理装置。
続きを表示(約 750 文字)
【請求項2】
前記算出部は、前記タイヤの加熱に必要なエネルギーを最小化するように、前記値を算出する、請求項1に記載のタイヤ温度管理装置。
【請求項3】
前記タイヤを加熱する加熱機構は、温水循環型又は熱交換器型である、請求項1又は2に記載のタイヤ温度管理装置。
【請求項4】
前記タイヤは、外径が49インチ以上である、請求項1又は2に記載のタイヤ温度管理装置。
【請求項5】
前記使用温度は、60℃~80℃である、請求項1又は2に記載のタイヤ温度管理装置。
【請求項6】
タイヤ温度管理装置に、
タイヤを装着した車両の稼働開始予定日時と、前記タイヤの通常使用時の温度である使用温度と、前記タイヤの温まりやすさの情報と、を含む入力データを取得することと、
前記入力データを用いて、前記タイヤの温度が、前記稼働開始予定日時に、前記使用温度に基づいて定められる目標温度であるように、少なくとも加熱開始日時を含む前記タイヤの加熱を制御するための値を算出することと、を実行させる、プログラム。
【請求項7】
タイヤ温度管理装置が実行するタイヤ温度管理方法であって、
前記タイヤ温度管理装置が、
タイヤを装着した車両の稼働開始予定日時と、前記タイヤの通常使用時の温度である使用温度と、前記タイヤの温まりやすさの情報と、を含む入力データを取得することと、
前記入力データを用いて、前記タイヤの温度が、前記稼働開始予定日時に、前記使用温度に基づいて定められる目標温度であるように、少なくとも加熱開始日時を含む前記タイヤの加熱を制御するための値を算出することと、を含む、タイヤ温度管理方法。
発明の詳細な説明
【技術分野】
【0001】
本開示は、タイヤ温度管理装置、プログラム及びタイヤ温度管理方法に関する。
続きを表示(約 1,400 文字)
【背景技術】
【0002】
従来、乗用車などのタイヤを温める加熱機構が知られている。例えば特許文献1は、燃費を改善するために、タイヤを短時間で加温して、転がり抵抗を低減するシステムを開示する。
【先行技術文献】
【特許文献】
【0003】
特開2017-007470号公報
【発明の概要】
【発明が解決しようとする課題】
【0004】
ここで、OR(Off the Road)タイヤを含む、産業車両用、建設車両用の大型のタイヤが知られている。このような大型のタイヤでは、タイヤの温度が低い状態で大きな負荷がかかると破損が生じやすい。そのため、大型のタイヤを加温できる機構が求められている。ただし、大型のタイヤは、乗用車などのタイヤと比べて時定数(熱時定数)が大きく、目標温度まで温めるのに時間がかかる(一例として半日以上)。特許文献1の技術は、コイルに電流を供給して誘導加熱することによって、短時間でタイヤを温める。そのため、大型のタイヤの加温に特許文献1の技術を用いると、大きな電力を消費して、環境負荷が非常に大きくなる。
【0005】
かかる事情に鑑みてなされた本開示の目的は、ORタイヤを含む大型のタイヤの破損を防止するタイヤ温度管理装置、プログラム及びタイヤ温度管理方法を提供することにある。
【課題を解決するための手段】
【0006】
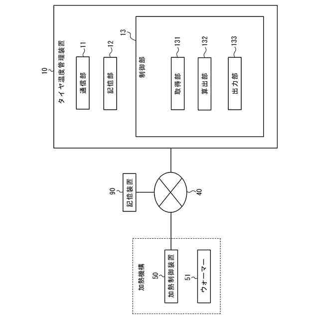
(1)本開示の一実施形態に係るタイヤ温度管理装置は、
タイヤを装着した車両の稼働開始予定日時と、前記タイヤの通常使用時の温度である使用温度と、前記タイヤの温まりやすさの情報と、を含む入力データを取得する取得部と、
前記入力データを用いて、前記タイヤの温度が、前記稼働開始予定日時に、前記使用温度に基づいて定められる目標温度であるように、少なくとも加熱開始日時を含む前記タイヤの加熱を制御するための値を算出する算出部と、を備える。
この構成により、ORタイヤを含む大型のタイヤの破損を防止することができる。
【0007】
(2)本開示の一実施形態として、(1)において、
前記算出部は、前記タイヤの加熱に必要なエネルギーを最小化するように、前記値を算出する。
この構成により、タイヤの温度を目標温度にするまでの加熱時間などを必要なエネルギーの観点から選択して、環境負荷を低減することができる。
【0008】
(3)本開示の一実施形態として、(1)又は(2)において、
前記タイヤを加熱する加熱機構は、温水循環型又は熱交換器型である。
この構成により、例えば誘導加熱を用いる従来技術などと比べて、環境負荷を低減することができる。
【0009】
(4)本開示の一実施形態として、(1)から(3)のいずれかにおいて、
前記タイヤは、外径が49インチ以上である。
この構成により、特に産業車両用、建設車両用の大型のタイヤについて、破損を防止することができる。
【0010】
(5)本開示の一実施形態として、(1)から(4)のいずれかにおいて、
前記使用温度は、60℃~80℃である。
この構成により、特に屋外での作業に用いられる大型のタイヤについて、破損を防止することができる。
(【0011】以降は省略されています)
この特許をJ-PlatPat(特許庁公式サイト)で参照する
関連特許
株式会社ブリヂストン
タイヤ
26日前
株式会社ブリヂストン
空気入りタイヤ
1か月前
株式会社ブリヂストン
タイヤ成型用金型
1か月前
株式会社ブリヂストン
粉体定量供給装置
10日前
株式会社ブリヂストン
傾斜式車両用タイヤ
24日前
株式会社ブリヂストン
傾斜式車両用タイヤ
24日前
株式会社ブリヂストン
傾斜式車両用タイヤ
24日前
株式会社ブリヂストン
サイホン排水システム
15日前
株式会社ブリヂストン
タイヤ及びタイヤの製造方法
26日前
株式会社ブリヂストン
タイヤ及びタイヤの製造方法
26日前
株式会社ブリヂストン
タイヤ及びタイヤの製造方法
26日前
株式会社ブリヂストン
タイヤ及びタイヤの製造方法
26日前
株式会社ブリヂストン
再利用判定方法及び再利用判定装置
2日前
株式会社ブリヂストン
サイドウォール用ゴム組成物及びタイヤ
8日前
株式会社ブリヂストン
スチールコード-ゴム複合体及びタイヤ
8日前
株式会社ブリヂストン
熱分解油、エラストマー、ゴム製品、及び樹脂製品
17日前
株式会社ブリヂストン
熱分解油、エラストマー、ゴム製品、及び樹脂製品
17日前
株式会社ブリヂストン
熱分解油、エラストマー、ゴム製品、及び樹脂製品
17日前
株式会社ブリヂストン
情報処理装置、情報処理方法、及び情報処理プログラム
8日前
株式会社ブリヂストン
データ処理装置、データ処理方法及びデータ処理プログラム
15日前
株式会社ブリヂストン
タイヤ異常判定システム、プログラム及びタイヤ異常判定方法
8日前
個人
タイヤレバー
3か月前
個人
前輪キャスター
2か月前
個人
上部一体型自動車
1か月前
個人
タイヤ脱落防止構造
2か月前
個人
ルーフ付きトライク
3か月前
個人
空間形成装置
23日前
個人
ホイルのボルト締結
4か月前
日本精機株式会社
表示装置
3か月前
個人
マスタシリンダ
1か月前
日本精機株式会社
表示装置
3か月前
日本精機株式会社
照明装置
18日前
日本精機株式会社
表示装置
3か月前
個人
車両通過構造物
3か月前
日本精機株式会社
表示装置
3か月前
個人
乗合路線バスの客室装置
4か月前
続きを見る
他の特許を見る