TOP
|
特許
|
意匠
|
商標
特許ウォッチ
Twitter
他の特許を見る
10個以上の画像は省略されています。
公開番号
2025162465
公報種別
公開特許公報(A)
公開日
2025-10-27
出願番号
2024065800
出願日
2024-04-15
発明の名称
タイヤ及びタイヤの製造方法
出願人
株式会社ブリヂストン
代理人
弁理士法人太陽国際特許事務所
主分類
B60C
5/01 20060101AFI20251020BHJP(車両一般)
要約
【課題】樹脂製のタイヤ骨格部材を有するタイヤにおいて、トレッドの剥がれを抑制する。
【解決手段】タイヤは、ビード部12と、前記ビード部のタイヤ径方向外側に連なるサイド部14と、前記サイド部のタイヤ幅方向内側に連なるクラウン部16と、を有する樹脂製のタイヤ骨格部材と、前記クラウン部のタイヤ径方向外側に配置されるトレッド34と、を備え、前記クラウン部は、1本又は複数本の補強コードが樹脂被覆されたベルト層28と、前記ベルト層のタイヤ径方向外側に配置された樹脂層29と、を含み、前記トレッドの一部が前記ベルト層の外周面に接している。
【選択図】図1
特許請求の範囲
【請求項1】
ビード部と、前記ビード部のタイヤ径方向外側に連なるサイド部と、前記サイド部のタイヤ幅方向内側に連なるクラウン部と、を有する樹脂製のタイヤ骨格部材と、
前記クラウン部のタイヤ径方向外側に配置されるトレッドと、
を備え、
前記クラウン部は、1本又は複数本の補強コードが樹脂被覆されたベルト層と、前記ベルト層のタイヤ径方向外側に配置された樹脂層と、を含み、
前記トレッドの一部が前記ベルト層の外周面に接している、タイヤ。
続きを表示(約 820 文字)
【請求項2】
前記トレッドの内周面には、前記ベルト層の外周面に向けて突出する複数の突起が設けられており、
複数の前記突起は、前記樹脂層を貫通している、請求項1に記載のタイヤ。
【請求項3】
複数の前記突起は、タイヤ周方向及びタイヤ幅方向に間隔をあけて設けられている、請求項2に記載のタイヤ。
【請求項4】
前記トレッドには、タイヤ径方向に貫通する貫通孔が設けられており、
前記貫通孔は、前記樹脂層を形成する樹脂で埋められている、請求項1に記載のタイヤ。
【請求項5】
前記ベルト層は、1本又は複数本の前記補強コードを樹脂被覆した被覆コードをタイヤ周方向に螺旋状に巻回して形成されている、請求項1に記載のタイヤ。
【請求項6】
前記樹脂層と前記トレッドとが接合されている、請求項1に記載のタイヤ。
【請求項7】
前記ベルト層と前記樹脂層とが溶着されている、請求項1に記載のタイヤ。
【請求項8】
前記ベルト層を構成する樹脂と、前記樹脂層を構成する樹脂が同じ樹脂である、請求項1に記載のタイヤ。
【請求項9】
前記樹脂層は樹脂のみで構成されている、請求項1に記載のタイヤ。
【請求項10】
タイヤ成形型によって形成されるキャビティに、1本又は複数本の補強コードが樹脂被覆されたベルトと加硫済み又は半加硫状態のトレッドとを互いの間に隙間が形成されるように前記トレッドの一部を前記ベルトに接触させた状態でセットする工程と、
前記キャビティに溶融樹脂を射出して、ビード部と、前記ビード部のタイヤ径方向外側に連なるサイド部と、前記サイド部のタイヤ幅方向内側に連なるクラウン部と、を有するタイヤ骨格部材を成形する工程と、
を備えるタイヤの製造方法。
(【請求項11】以降は省略されています)
発明の詳細な説明
【技術分野】
【0001】
本開示は、タイヤ及びタイヤの製造方法に関する。
続きを表示(約 1,300 文字)
【背景技術】
【0002】
特許文献1には、樹脂製のタイヤ骨格部材を有するタイヤが開示されている。このタイヤ骨格部材におけるクラウン部のタイヤ径方向外側には、補強コードを樹脂被覆した樹脂被覆コードを備えるベルト層と、ゴムトレッドとが配置されている。
【先行技術文献】
【特許文献】
【0003】
特許第6306564号公報
【発明の概要】
【発明が解決しようとする課題】
【0004】
ところで、特許文献1に開示されたタイヤでは、ベルト層とゴムトレッドとの界面がタイヤ幅方向に沿った直線状とされている。このため、ゴムトレッドとベルト層との界面にタイヤ幅方向のせん断力が加わった場合に、界面が剥離したり、剥離部分が進展したりする虞がある。
【0005】
本開示は、樹脂製のタイヤ骨格部材を有するタイヤにおいて、トレッドの剥がれを抑制することを目的とする。
【課題を解決するための手段】
【0006】
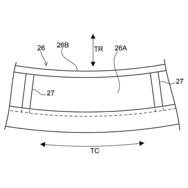
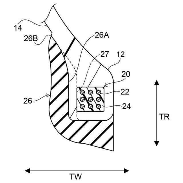
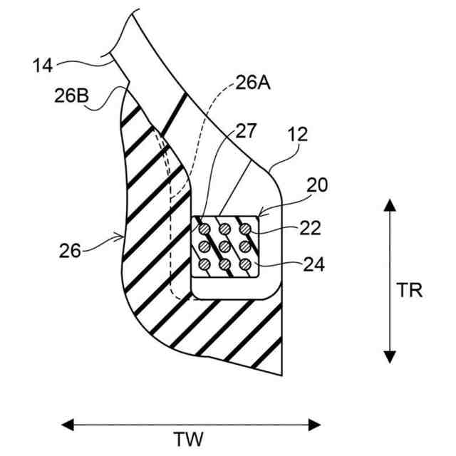
本開示の第1態様のタイヤは、ビード部と、前記ビード部のタイヤ径方向外側に連なるサイド部と、前記サイド部のタイヤ幅方向内側に連なるクラウン部と、を有する樹脂製のタイヤ骨格部材と、前記クラウン部のタイヤ径方向外側に配置されるトレッドと、を備え、前記クラウン部は、1本又は複数本の補強コードが樹脂被覆されたベルト層と、前記ベルト層のタイヤ径方向外側に配置された樹脂層と、を含み、前記トレッドの一部が前記ベルト層の外周面に接している。
【0007】
第1態様のタイヤでは、トレッドの一部がベルト層の外周面に接していることから、トレッドとクラウン部の外周面との界面がタイヤ幅方向に沿った直線状でなく、タイヤ幅方向に段差を有する形状となる。このため、上記タイヤでは、トレッドとクラウン部の外周面との界面がタイヤ幅方向に沿った直線状のタイヤと比べて、トレッドとクラウン部の外周面との界面にタイヤ幅方向のせん断力が加わっても、界面の段差形状により、界面の剥離や剥離部分の進展が抑制される。したがって上記タイヤによれば、タイヤ骨格部材におけるクラウン部からのトレッドの剥がれを抑制することができる。
【0008】
本開示の第2態様のタイヤは、第1態様のタイヤにおいて、前記トレッドの内周面には、前記ベルト層の外周面に向けて突出する複数の突起が設けられており、複数の前記突起は、前記樹脂層を貫通している。
【0009】
第2態様のタイヤでは、トレッドの内周面にベルト層の外周面に向けて突出する複数の突起が設けられており、複数の突起が樹脂層を貫通しているため、トレッドとクラウン部の外周面との界面がタイヤ幅方向に複数の段差を有する形状となる。これにより、上記タイヤでは、タイヤ骨格部材におけるクラウン部からのトレッドの剥がれを更に抑制することができる。
【0010】
本開示の第3態様のタイヤは、第2態様のタイヤにおいて、複数の前記突起は、タイヤ周方向及びタイヤ幅方向に間隔をあけて設けられている。
(【0011】以降は省略されています)
この特許をJ-PlatPat(特許庁公式サイト)で参照する
関連特許
個人
タイヤレバー
3か月前
個人
前輪キャスター
2か月前
個人
上部一体型自動車
1か月前
個人
タイヤ脱落防止構造
2か月前
個人
ルーフ付きトライク
3か月前
個人
空間形成装置
23日前
日本精機株式会社
表示装置
3か月前
日本精機株式会社
照明装置
18日前
日本精機株式会社
表示装置
3か月前
個人
車両通過構造物
3か月前
日本精機株式会社
表示装置
3か月前
日本精機株式会社
表示装置
3か月前
個人
マスタシリンダ
1か月前
個人
乗合路線バスの客室装置
4か月前
個人
常設収納型サンバイザー
29日前
日本精機株式会社
車載表示装置
2か月前
個人
円湾曲ホイール及び球体輪
4か月前
株式会社豊田自動織機
産業車両
3か月前
日本精機株式会社
車室演出装置
2か月前
株式会社ニフコ
照明装置
3か月前
株式会社ニフコ
収納装置
2か月前
日本精機株式会社
車載表示装置
26日前
日本精機株式会社
車載表示装置
24日前
日本精機株式会社
画像投映装置
1か月前
日本精機株式会社
車載表示装置
1か月前
個人
回転窓ワイパー装置
23日前
個人
音声ガイド、音声サービス
4か月前
株式会社豊田自動織機
産業車両
18日前
株式会社SUBARU
車両
1か月前
日本精機株式会社
車両用表示装置
3か月前
日本精機株式会社
車両用報知装置
1か月前
個人
音による速度計とプログラム
29日前
日本精機株式会社
車両用投射装置
1か月前
極東開発工業株式会社
車両
3か月前
井関農機株式会社
作業車両
2か月前
日本精機株式会社
車両用投影装置
2か月前
続きを見る
他の特許を見る