TOP
|
特許
|
意匠
|
商標
特許ウォッチ
Twitter
他の特許を見る
公開番号
2025168757
公報種別
公開特許公報(A)
公開日
2025-11-12
出願番号
2024073485
出願日
2024-04-30
発明の名称
電源装置
出願人
MIRAI-LABO株式会社
代理人
弁理士法人プロウィン
主分類
H02J
9/06 20060101AFI20251105BHJP(電力の発電,変換,配電)
要約
【課題】負荷に対する複数の二次電池の接続を切り替えても、瞬断を防止しつつ出力電圧の変動を抑制して、安定した電力の供給を継続することが可能な電源装置を提供する。
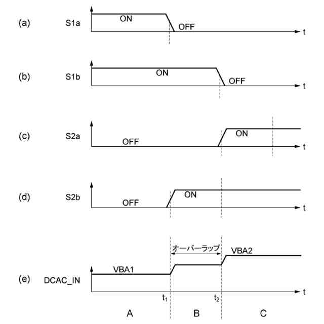
【解決手段】充放電を行う第1バッテリー(12a)および第2バッテリー(12b)と、第1スイッチ列と、第2スイッチ列と、並列接続部と、スイッチ制御部(11)を備え、第1スイッチ列は、第1スイッチ(S1a)と第3スイッチ(S1b)と第1ダイオード(D1a)とを有し、第2スイッチ列は、第2スイッチ(S2a)と第4スイッチ(S2b)と第2ダイオード(D2a)とを有し、スイッチ制御部(11)は、第1接続期間から第2接続期間に変更する間に、第1スイッチ(S1a)および第2スイッチ(S2a)がオフ状態かつ第3スイッチ(S1b)および第4スイッチ(S2b)がオン状態のオーバーラップ期間を備える電源装置。
【選択図】図1
特許請求の範囲
【請求項1】
充放電を行う第1バッテリーおよび第2バッテリーと、
一端が前記第1バッテリーの第1出力部に接続された第1スイッチ列と、
一端が前記第2バッテリーの第2出力部に接続された第2スイッチ列と、
前記第1スイッチ列の他端および前記第2スイッチ列の他端が接続される並列接続部と、
前記第1スイッチ列および前記第2スイッチ列の開閉を制御するスイッチ制御部を備え、
前記第1スイッチ列は、一端が前記第1出力部に接続された第1スイッチと、一端が前記第1スイッチの他端に接続され他端が前記並列接続部に接続された第3スイッチと、前記第1スイッチに並列に順方向接続された第1ダイオードとを有し、
前記第2スイッチ列は、一端が前記第2出力部に接続された第2スイッチと、一端が前記第2スイッチの他端に接続され他端が前記並列接続部に接続された第4スイッチと、前記第2スイッチに並列に順方向接続された第2ダイオードとを有し、
前記スイッチ制御部は、前記第1スイッチおよび前記第3スイッチがオン状態かつ前記第2スイッチおよび前記第4スイッチがオフ状態の第1接続期間から、前記第1スイッチおよび前記第3スイッチがオフ状態かつ前記第2スイッチおよび前記第4スイッチがオン状態の第2接続期間に変更する間に、
前記第1スイッチおよび前記第2スイッチがオフ状態かつ前記第3スイッチおよび前記第4スイッチがオン状態のオーバーラップ期間を備えることを特徴とする電源装置。
続きを表示(約 600 文字)
【請求項2】
請求項1に記載の電源装置であって、
前記オーバーラップ期間は、5m秒以上60m秒以下の範囲であることを特徴とする電源装置。
【請求項3】
請求項1に記載の電源装置であって、
前記並列接続部は、DC-ACインバータに接続され、
前記オーバーラップ期間は、前記DC-ACインバータからの出力波形の0.5周期から5周期の範囲であることを特徴とする電源装置。
【請求項4】
請求項3に記載の電源装置であって、
前記オーバーラップ期間における前記出力波形のピーク変動が10%以下であることを特徴とする電源装置。
【請求項5】
請求項1に記載の電源装置であって、
前記第1バッテリーの出力部が第1電位であり、
前記第2バッテリーの出力部が第2電位であり、
前記オーバーラップ期間において、前記並列接続部の電位が前記第1電位と前記第2電位の間である中間電位をとることを特徴とする電源装置。
【請求項6】
請求項1から5の何れか一つに記載の電源装置であって、
前記第1スイッチおよび前記第2スイッチは電界効果トランジスタであり、
前記第1ダイオードおよび前記第2ダイオードは、前記第1スイッチおよび前記第2スイッチのボディダイオードであることを特徴とする電源装置。
発明の詳細な説明
【技術分野】
【0001】
本発明は、電源装置に関し、特に複数の二次電池を切り替えて電力を供給する電源装置に関する。
続きを表示(約 2,100 文字)
【背景技術】
【0002】
従来から、屋外や緊急時においても電気機器を使用可能とするための電源装置が提案されている。このような電源装置では、ガソリンやガスを燃料として内燃機関の発動機を駆動し、発動機の運動エネルギーを電気エネルギーに変換するものが一般的であった。しかし、このような内燃機関を用いた電源装置では、燃料の燃焼により酸素を消費するため、室内空間や密閉された空間内での使用ができないという難点があった。そこで、近年になって電力を貯蔵した二次電池から電力を供給する電源装置も普及しつつある。
【0003】
このような二次電池を用いた電源装置では、供給可能な電力量が二次電池の充電容量に依存するため、大電力を継続して供給するには二次電池が大型化し、重量増加と高価格化を招くという問題があった。このような問題を回避するために、複数の二次電池を着脱可能に搭載して、複数の二次電池からの電力供給を切り替える電源装置も提案されている(例えば特許文献1を参照)。
【先行技術文献】
【特許文献】
【0004】
特開2006-296109公報
【発明の概要】
【発明が解決しようとする課題】
【0005】
従来の電源装置では、負荷に接続された二次電池の充電残量が減少した場合や二次電池を取り外す場合に、その二次電池の接続を切り離した後に、別の二次電池を選択して負荷に接続している。そのような従来技術では、DC-ACインバータの入力位置での電圧は、二次電池の接続を切り替える前後において変化し、切り替えの瞬間に二次電池から電力が供給されない時間が存在し、電圧が急激に低下してしまう。
【0006】
よって従来の電源装置における二次電池の接続切替では、瞬間的に電力が供給されない瞬断が生じてしまい、負荷に対して電力を供給し続けることが困難である。特に、二次電池から供給される直流電流をDC-ACインバータで交流電流に変換する電源装置では、出力される交流電流の電圧変動が大きくなり、精密機器や情報機器などの誤作動を引き起こす可能性があった。また、出力電圧の変動を抑制するためには、応答性の速いインバータ電源回路が必要となり、電源装置の大型化やコストが増加してしまうという問題があった。特に、電気自動車に用いられた二次電池を再利用する場合等には、二次電池の内部インピーダンスが小さいため、二次電池の接続切替で生じる電圧変動の問題は顕著になる。
【0007】
そこで本発明は、上記従来の問題点に鑑みなされたものであり、負荷に対する複数の二次電池の接続を切り替えても、瞬断を防止しつつ出力電圧の変動を抑制して、安定した電力の供給を継続することが可能な電源装置を提供することを目的とする。
【課題を解決するための手段】
【0008】
上記課題を解決するために、本発明の電源装置は、充放電を行う第1バッテリーおよび第2バッテリーと、一端が前記第1バッテリーの第1出力部に接続された第1スイッチ列と、一端が前記第2バッテリーの第2出力部に接続された第2スイッチ列と、前記第1スイッチ列の他端および前記第2スイッチ列の他端が接続される並列接続部と、前記第1スイッチ列および前記第2スイッチ列の開閉を制御するスイッチ制御部を備え、前記第1スイッチ列は、一端が前記第1出力部に接続された第1スイッチと、一端が前記第1スイッチの他端に接続され他端が前記並列接続部に接続された第3スイッチと、前記第1スイッチに並列に順方向接続された第1ダイオードとを有し、前記第2スイッチ列は、一端が前記第2出力部に接続された第2スイッチと、一端が前記第2スイッチの他端に接続され他端が前記並列接続部に接続された第4スイッチと、前記第2スイッチに並列に順方向接続された第2ダイオードとを有し、前記スイッチ制御部は、前記第1スイッチおよび前記第3スイッチがオン状態かつ前記第2スイッチおよび前記第4スイッチがオフ状態の第1接続期間から、前記第1スイッチおよび前記第3スイッチがオフ状態かつ前記第2スイッチおよび前記第4スイッチがオン状態の第2接続期間に変更する間に、前記第1スイッチおよび前記第2スイッチがオフ状態かつ前記第3スイッチおよび前記第4スイッチがオン状態のオーバーラップ期間を備えることを特徴とする。
【0009】
このような本発明の電源装置では、第1バッテリーから第2バッテリーに接続を切り替える際に、前記第1スイッチおよび前記第2スイッチがオフ状態かつ前記第3スイッチおよび前記第4スイッチがオン状態のオーバーラップ期間を備えるため、負荷に対する複数の二次電池の接続を切り替えても、瞬断を防止しつつ出力電圧の変動を抑制して、安定した電力の供給を継続することが可能となる。
【0010】
また、本発明の一態様では、前記オーバーラップ期間は、5m秒以上60m秒以下の範囲である。
(【0011】以降は省略されています)
この特許をJ-PlatPat(特許庁公式サイト)で参照する
関連特許
個人
電気を重力で発電装置
15日前
個人
高圧電気機器の開閉器
2日前
キヤノン電子株式会社
モータ
14日前
キヤノン電子株式会社
モータ
22日前
コーセル株式会社
電源装置
23日前
株式会社アイドゥス企画
減反モータ
2日前
トヨタ自動車株式会社
モータ
14日前
個人
二次電池繰返パルス放電器用印刷基板
28日前
株式会社デンソー
電力変換装置
29日前
トヨタ自動車株式会社
固定子の加熱装置
25日前
矢崎総業株式会社
電源回路
1日前
日産自動車株式会社
ロータシャフト
9日前
トヨタ自動車株式会社
ステータの製造装置
15日前
日産自動車株式会社
ロータシャフト
9日前
山洋電気株式会社
モータ
28日前
ローム株式会社
モータドライバ回路
9日前
個人
非対称鏡像力を有する4層PWB電荷搬送体
9日前
株式会社アイシン
電力変換装置
14日前
株式会社マキタ
電動作業機
22日前
個人
電線盗難防止方法及び電線盗難防止装置
22日前
京商株式会社
模型用非接触電力供給システム
2日前
トヨタ紡織株式会社
ロータの製造装置
23日前
株式会社明治ゴム化成
ワイヤレス給電用部品
24日前
トヨタ自動車株式会社
可変界磁ロータ
17日前
豊田合成株式会社
車両用非接触充電装置
14日前
ルネサスエレクトロニクス株式会社
半導体装置
14日前
ニデック株式会社
回転電機
14日前
本田技研工業株式会社
回転電機用ロータ
2日前
株式会社豊田自動織機
電力供給システム
14日前
大阪瓦斯株式会社
充放電中継装置
15日前
大阪瓦斯株式会社
充放電中継装置
15日前
トヨタ自動車株式会社
車両照合システム
22日前
日動電工株式会社
壁内配線用のブランクプレート
1日前
株式会社京三製作所
パルス電源装置
1日前
株式会社豊田中央研究所
分散電源システム
9日前
株式会社京三製作所
パルス電源装置
1日前
続きを見る
他の特許を見る