TOP
|
特許
|
意匠
|
商標
特許ウォッチ
Twitter
他の特許を見る
10個以上の画像は省略されています。
公開番号
2025168570
公報種別
公開特許公報(A)
公開日
2025-11-07
出願番号
2025148697,2022550881
出願日
2025-09-09,2021-02-24
発明の名称
管腔内シーリング装置及び関連する使用方法
出願人
ボストン サイエンティフィック サイムド,インコーポレイテッド
,
BOSTON SCIENTIFIC SCIMED,INC.
代理人
個人
,
個人
,
個人
主分類
A61B
17/00 20060101AFI20251030BHJP(医学または獣医学;衛生学)
要約
【課題】対象の体内管腔の標的部位をシールすること。
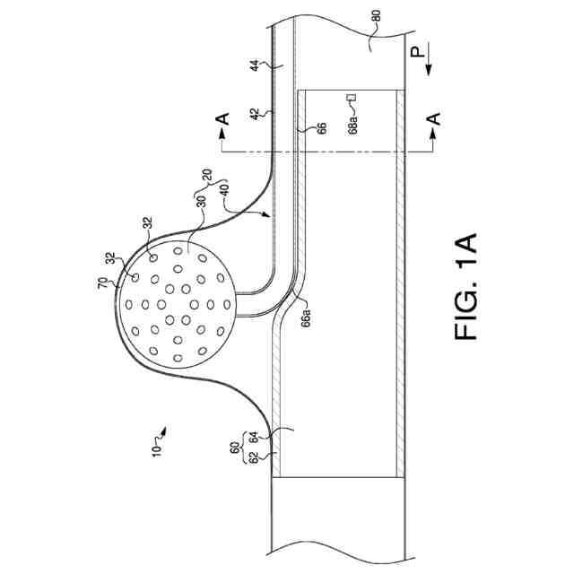
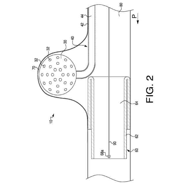
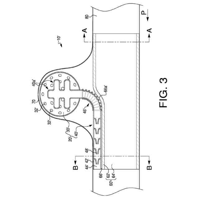
【解決手段】本医療システムは、標的部位に配置されるように構成された多孔質体を備える。本医療システムは、ルーメンを含む管を備える。多孔質体は当該管の第1の端に接続されており、かつ多孔質体が標的部位に位置する態様において、管は多孔質体から体内管腔の中に延びるように構成される。本医療システムは、チャネルを含むステントを備える。多孔質体が標的部位に位置する態様において、管はステントとともに標的部位を体内管腔からシールするためにステントのチャネルの中へと延びるように構成される。
【選択図】 図3
特許請求の範囲
【請求項1】
対象の体内管腔の標的部位をシールする医療システムであって、
本医療システムは、前記標的部位に配置されるように構成された多孔質体を備え、
本医療システムは、ルーメンを含む管を備え、前記多孔質体は当該管の第1の端に接続されており、かつ前記多孔質体が標的部位に位置する態様において、前記管は前記多孔質体から前記体内管腔の中に延びるように構成されており、
本医療システムは、チャネルを含むステントを備え、
前記多孔質体が標的部位に位置する前記態様において、前記管は前記ステントとともに前記標的部位を前記体内管腔からシールするために前記ステントの前記チャネルの中へと延びるように構成される、医療システム。
続きを表示(約 960 文字)
【請求項2】
前記ステントは把持装置を含み、前記把持装置はループを備える、請求項1に記載の医療システム。
【請求項3】
前記ステントの前記チャネルは、当該ステントのU字型断面部分により画定される、請求項1に記載の医療システム。
【請求項4】
前記ステントの前記チャネルは、前記ステントの中央長さ方向軸線に対して傾斜する傾斜面を含む、請求項1に記載の医療システム。
【請求項5】
前記ステントの前記チャネルが当該ステントの遠位端から近位側に延びて当該ステントの近位端の遠位側で終端する、請求項1に記載の医療システム。
【請求項6】
前記管は、標的部位からの流体が前記管の第2の端から前記体内管腔内に放出され得るように構成される、請求項1に記載の医療システム。
【請求項7】
対象の体内管腔の標的部位をシールする医療システムであって、
本医療システムは、前記標的部位に配置されるように構成された多孔質体を備え、
本医療システムは、ルーメンを含む管を備え、前記多孔質体は当該管の第1の端に接続されており、
本医療システムは、前記標的部位を前記体内管腔からシールするように構成された弁を備え、
前記弁はルーメンを画定し、前記弁は前記標的部位と前記体内管腔との間に配置されるように構成され、前記管は前記標的部位から前記弁の前記ルーメンを通って前記体内管腔の中へと延びるように構成され、
前記弁の前記ルーメンは、前記管の周囲で開閉する、医療システム。
【請求項8】
前記管は、前記標的部位から延びて前記体内管腔の遠位側の中に延びるように構成される、請求項7に記載の医療システム。
【請求項9】
前記弁の前記ルーメンは前記体内管腔を画定する壁の蠕動運動に応答して開くように構成される、請求項7又は8に記載の医療システム。
【請求項10】
前記標的部位からの流体は、前記標的部位から前記管のルーメン及び前記弁のルーメンを介して前記体内管腔の中に放出されるように構成される、請求項7~9の何れか1項に記載の医療システム。
(【請求項11】以降は省略されています)
発明の詳細な説明
【技術分野】
【0001】
本開示は低侵襲性(例えば、内視鏡及び/又は腹腔鏡)医療装置及びそれに関連する使用方法に関する。実施形態において、本開示は胃腸管の穿孔、漏出部、又は創傷をシールするための1つ又は複数の装置、これらのシーリング装置を前進させる装置、及び関連する使用方法その他の態様に関する。
続きを表示(約 1,300 文字)
【背景技術】
【0002】
内視鏡及び胃腸(GI)管の内視鏡及び切開手術には、例えば結腸切除術、肥満手術、食道切除術、胃バイパス術、及びスリーブ状胃切除術等が含まれる。これらの処置の結果として、胃腸管の穿孔、術後漏出部、又はその他の創傷が生じ得る。このような創傷の管理には限定的な治療選択肢しかなく、その罹患率及び死亡率はかなり高い。選択肢には、再手術と内視鏡下でのステント又はクリップの留置が含まれる。手術は比較的侵襲性が高く、罹患率と死亡率も高い。内視鏡下ステント留置は低侵襲的選択肢である。しかしながら、留置されたステントは所期の位置から移動し、及び/又は標的部位での感染を閉じ込め、ドレナージを阻害する可能性がある。
【発明の概要】
【0003】
ある態様によれば、医療システムは、対象の体内の標的部位に配置されるように構成された多孔質体と、管ルーメンを画定する壁を含む管であって、管の第1の端において多孔質体に接続される管と、体内管腔から標的部位をシールするように構成されたシーリング装置と、を含み、シーリング装置が体内管腔から標的部位をシールするとき、管は標的部位から体内管腔の中へと延びるように構成される。
【0004】
シーリング装置はステントであり得、ステントは、管とステントとが移植されたときに、(1)体内管腔の側壁、及び(2)管と接触するように構成され得る。
ステントはステントルーメンを画定する壁を含み得て、取付け装置が壁からステントルーメンの中に延び得る。
【0005】
ステントの壁は、ステントの外面に沿って延びるチャネルを画定し得る。
ステントの壁は、チャネルの長さに沿って、半径方向に外向きの凹面と、半径方向に内向きの凸面と、を含み得る。
【0006】
チャネルは、管とステントとが移植されたときに管と整合するように構成され得て、管はチャネル内に延びて、体内管腔から標的部位をシールするように構成され得る。
チャネルは、ステントルーメンの中央長さ方向軸線に関して斜めの傾斜面を含み得て、傾斜面は管を収容するように構成され得る。
【0007】
シーリング装置は、弁ルーメンを画定する弁であり得、弁は、体内管腔を画定する壁の開口の、標的部位と体内管腔との間に配置されるように構成され得、管は標的部位から弁ルーメンを通って体内管腔の中へと延びるように構成され得る。
【0008】
弁は、(1)弁が管と接触する閉状態と(2)弁が管と接触しない開状態とを有し得る。
弁は、体内管腔を画定する壁の蠕動運動によって弁ルーメンの大きさが変化するように構成され得る。
【0009】
弁の外面はU字型であり得る。
標的部位からの流体は、標的部位から管ルーメン及び弁ルーメンを介して排出されるように構成され得る。
【0010】
管の第1の端は、スポンジに埋め込まれた複数の分枝を含み得る。
管は、複数のコルゲーションを含み得て、管は複数のコルゲーションを介して折れ曲がるように構成され得る。
(【0011】以降は省略されています)
この特許をJ-PlatPat(特許庁公式サイト)で参照する
関連特許
個人
貼付剤
14日前
個人
足踏み器具
3日前
個人
短下肢装具
3か月前
個人
洗井間専家。
7か月前
個人
嚥下鍛錬装置
4か月前
個人
白内障治療法
8か月前
個人
前腕誘導装置
3か月前
個人
排尿補助器具
27日前
個人
バッグ式オムツ
4か月前
個人
歯の修復用材料
4か月前
個人
汚れ防止シート
1か月前
個人
ウォート指圧法
25日前
個人
腰ベルト
17日前
個人
ホバーアイロン
7か月前
個人
矯正椅子
5か月前
個人
胸骨圧迫補助具
2か月前
個人
アイマスク装置
2か月前
個人
歯の保護用シール
5か月前
個人
美容セット
5日前
三生医薬株式会社
錠剤
7か月前
個人
車椅子持ち上げ器
8か月前
個人
哺乳瓶冷まし容器
3か月前
個人
湿布連続貼り機。
2か月前
個人
陣痛緩和具
4か月前
個人
シャンプー
6か月前
個人
エア誘導コルセット
2か月前
株式会社八光
剥離吸引管
5か月前
個人
性行為補助具
3か月前
株式会社大野
骨壷
4か月前
株式会社結心
手袋
8か月前
個人
服薬支援装置
7か月前
個人
治療用酸化防御装置
2か月前
株式会社コーセー
化粧料
24日前
株式会社ファンケル
化粧料
8か月前
個人
形見の製造方法
4か月前
個人
高気圧環境装置
5か月前
続きを見る
他の特許を見る