TOP
|
特許
|
意匠
|
商標
特許ウォッチ
Twitter
他の特許を見る
10個以上の画像は省略されています。
公開番号
2025168486
公報種別
公開特許公報(A)
公開日
2025-11-07
出願番号
2025146030,2024005321
出願日
2025-09-03,2019-07-19
発明の名称
薬物送達のための眼科用装置
出願人
ザ リージェンツ オブ ザ ユニヴァーシティ オブ コロラド,ア ボディ コーポレイト
,
スパイグラス ファーマ インコーポレイテッド
,
SPYGLASS PHARMA,INC.
代理人
個人
主分類
A61F
9/007 20060101AFI20251030BHJP(医学または獣医学;衛生学)
要約
【課題】薬物送達のための眼科用装置を提供する。
【解決手段】薬物送達のための眼科用インプラント。本インプラントは二次装置に結合される一次嚢内装置を含み、患者の眼に埋植されると、一次嚢内装置は患者の水晶体嚢によって所定の場所に保持され、二次装置は一次嚢内装置によって所定の場所に保持される。インプラントは、二次装置を一次嚢内装置に取り付ける前または後のいずれかに一次嚢内装置を目に導入することによって目に挿入されてもよく、その後、一次嚢内装置が患者の水晶体嚢によって所定の場所に保持され二次装置が一次嚢内装置によって所定の場所に保持された状態で、結合された二次装置および一次嚢内装置を配置する。二次装置は、手術時または手術後のあらゆるタイミングに埋植および取付が可能な三次装置を保持するように設計されてもよい。
【選択図】図1
特許請求の範囲
【請求項1】
二次装置に結合される一次嚢内装置を含み、患者の目に埋植されると、前記一次嚢内装置は前記患者の目の水晶体嚢によって所定の場所に保持され、前記二次装置は前記一次嚢内装置によって所定の場所に保持される、眼科用インプラント。
続きを表示(約 890 文字)
【請求項2】
前記一次嚢内装置は、それぞれが少なくとも部分的に嚢内であり前記二次装置を前記一次嚢内装置に結合する1つまたは複数の拡張部を含む、請求項1に記載の眼科用インプラント。
【請求項3】
前記患者の目に埋植されると、前記一次嚢内装置および前記二次装置の両方は前記患者の目の前記水晶体嚢内に配置される、請求項1に記載の眼科用インプラント。
【請求項4】
前記二次嚢内装置によって所定の場所に保持される三次装置をさらに含む、請求項1に記載の眼科用インプラント。
【請求項5】
患者の目に埋植されると、前記一次嚢内装置は前記水晶体嚢内に配置され、前記二次装置は前記患者の目の中の前記水晶体嚢外に配置される二次嚢外装置である、請求項1に記載の眼科用インプラント。
【請求項6】
前記二次装置は、前記二次装置の1つまたは複数の孔を通って前記一次嚢内装置から延出する1つもしくは複数の拡張部またはハプティクスによって前記一次嚢内装置に結合される、請求項1に記載の眼科用インプラント。
【請求項7】
前記二次装置は、前記1つもしくは複数の拡張部またはハプティクスのそれぞれの1つもしくは複数の孔を通って前記一次嚢内装置から延出する1つもしくは複数の拡張部またはハプティクスによって前記一次嚢内装置に結合される、請求項1に記載の眼科用インプラント。
【請求項8】
前記二次装置は、前記一次装置の前記1つまたは複数の拡張部の孔に嵌合する、前記二次装置から延出する突出部で前記一次嚢内装置に結合される、請求項1に記載の眼科用インプラント。
【請求項9】
前記一次嚢内装置1は、眼内レンズと、嚢伸張リングと、嚢足場とからなるグループから選択される、請求項1に記載の眼科用インプラント。
【請求項10】
前記二次装置は、リングと、部分リングと、複数の部分リングとからなるグループから選択される、請求項1に記載の眼科用インプラント。
(【請求項11】以降は省略されています)
発明の詳細な説明
【技術分野】
【0001】
本発明は、薬物送達のための眼科用装置に関する。
続きを表示(約 2,100 文字)
【背景技術】
【0002】
眼科用装置は、眼または全身の病気または状態を治療、診断、監視、または別の方法で益するために患者の目に埋植可能である。例えば、白内障除去または他の眼内手術後、ステロイド、NSAIDS、または抗生物質を送達するために、眼内装置を目に埋植してもよい。また、眼内装置は、緑内障の治療において等、長期薬物の送達のために目に埋植されてもよい。あるいは、眼内装置は、例えば乱視の治療において、もしくは視覚を向上させるために、患者の目への光透過率を機械的に変化させてもよく、または眼内装置は特定の場合において人工虹彩の役割を果たしてもよい。
【0003】
装置の移動に関係する眼組織の外傷を含め、上記の既存の眼科用装置に関連した欠点が存在する。眼科用装置が適切に安定化していない場合、これは、前嚢混濁、水晶体嚢保全性の損失、切嚢の形状の変形、時間の経過に伴う切嚢の狭窄、レンズの傾斜および偏心、ならびにその他の望ましくない影響につながり得る。
【発明の概要】
【発明が解決しようとする課題】
【0004】
側副組織損傷を最小限とする、患者の目に埋植可能な眼内装置を求める要求または要望が存在する。さらに、レンズ安定を実現する、患者の目に埋植可能な眼内装置を求めるさらなる要求または要望が存在する。
【課題を解決するための手段】
【0005】
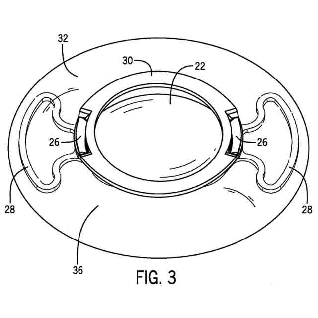
本明細書において説明するように、眼科用インプラントは、二次装置に結合される一次嚢内装置を含み、患者の目に埋植されると、一次嚢内装置は患者の水晶体嚢によって所定の場所に保持され、二次装置は一次嚢内装置によって所定の場所に保持される。一次嚢内装置および二次装置の両方は患者の目の水晶体嚢内に配置されてもよい。もしくは、一次嚢内装置は水晶体嚢内に配置される一方、二次装置は患者の目の中の水晶体嚢外に配置されてもよく、患者の前嚢または患者の前嚢の一部は、一次嚢内装置と二次嚢外装置との間に配置されてもよい。二次装置は、初回手術時またはその後のあらゆるタイミングのいずれかで埋植可能な三次装置を保持するように設計されてもよい。患者の目への眼科用インプラントの挿入は、一次嚢内装置に対する前嚢の部分的または全体的な加圧につながり、それによって本質的なレンズの安定性を実現する。
【0006】
一次嚢内装置は、眼内レンズ、水晶体嚢伸張リング、または二次装置を所定の場所に保持するための水晶体足場でもよい。二次装置は、例えば、リング、または1つもしくは複数の部分リング、または突出部の形態をしてもよい。二次装置は、一次装置から延出する1つまたは複数の拡張部に固定されてもよい。または、一次装置は、二次装置から延出する1つまたは複数の拡張部に固定されてもよい。
【0007】
二次装置は、眼病を治療可能な1つまたは複数の医薬品有効成分を送達する薬物送達装置でもよい。二次装置は、1つまたは複数の薬物送達装置および1つまたは複数の薬物を収納する外装を含んでもよい。追加的または代替的に、二次装置は、患者の目に入る光の量を制御可能な光学マスクでもよい。
【0008】
三次装置は、例えば、リングまたは1つもしくは複数の部分リングの形態でもよく、1つまたは複数の薬物送達装置および1つまたは複数の薬物を収納する外装を含んでもよい。三次装置は、薬物を送達し、人口虹彩として機能し、または異常光視症を解決してもよい。追加的または代替的に、三次装置は、患者の目に入る光の量を制御可能な光学マスクでもよい。
【0009】
本明細書において説明するように、眼科用インプラントを使用して眼病を扱う方法は、一次嚢内装置に二次装置を取り付ける前または後のいずれかで目に一次嚢内装置および二次装置を導入することを含む。上述したように、結合された一次嚢内装置および二次装置の両方は患者の目の水晶体嚢内に配置されてもよく、二次嚢内装置は患者の前嚢と一次嚢内装置との間に配置される。もしくは、一次嚢内装置は水晶体嚢内に配置されてもよく、一方、二次装置は患者の目の中の水晶体嚢外に配置されてもよく、患者の前嚢または患者の前嚢の一部は、一次嚢内装置と二次嚢外装置との間に配置されてもよい。さらに、三次装置は、手術時または手術後のあらゆるタイミングで埋植されて取り付けられてもよい。
【0010】
上述した利点および特徴、ならびに他の利点および特徴が得られる方法を説明するために、より具体的な説明を行い、添付の図面に図示する具体的な例を参照して表現する。そのような図面は典型的な例を図示しているのに過ぎず、したがってその範囲の限定と考えられるべきものではないという理解の下に、添付の図面の使用を通してさらなる具体性および詳細をもって実施態様を記載および説明する。
【図面の簡単な説明】
(【0011】以降は省略されています)
この特許をJ-PlatPat(特許庁公式サイト)で参照する
関連特許
個人
貼付剤
14日前
個人
短下肢装具
3か月前
個人
足踏み器具
3日前
個人
嚥下鍛錬装置
4か月前
個人
排尿補助器具
27日前
個人
前腕誘導装置
3か月前
個人
洗井間専家。
7か月前
個人
白内障治療法
8か月前
個人
矯正椅子
5か月前
個人
アイマスク装置
2か月前
個人
胸骨圧迫補助具
2か月前
個人
ホバーアイロン
7か月前
個人
汚れ防止シート
1か月前
個人
腰ベルト
17日前
個人
バッグ式オムツ
4か月前
個人
ウォート指圧法
25日前
個人
歯の修復用材料
4か月前
個人
哺乳瓶冷まし容器
3か月前
三生医薬株式会社
錠剤
7か月前
個人
歯の保護用シール
5か月前
個人
美容セット
5日前
個人
陣痛緩和具
4か月前
個人
湿布連続貼り機。
2か月前
個人
シャンプー
6か月前
個人
車椅子持ち上げ器
8か月前
個人
エア誘導コルセット
2か月前
個人
服薬支援装置
7か月前
個人
性行為補助具
3か月前
株式会社結心
手袋
8か月前
株式会社コーセー
化粧料
24日前
株式会社八光
剥離吸引管
5か月前
個人
治療用酸化防御装置
2か月前
株式会社大野
骨壷
4か月前
株式会社松風
口腔用組成物
4か月前
個人
高気圧環境装置
5か月前
株式会社コロナ
サウナ装置
6か月前
続きを見る
他の特許を見る