TOP
|
特許
|
意匠
|
商標
特許ウォッチ
Twitter
他の特許を見る
10個以上の画像は省略されています。
公開番号
2025168482
公報種別
公開特許公報(A)
公開日
2025-11-07
出願番号
2025145975,2024108041
出願日
2025-09-03,2014-10-14
発明の名称
手術用インストルメント
出願人
リブスメド インコーポレーテッド
代理人
TRY国際弁理士法人
主分類
A61B
17/29 20060101AFI20251030BHJP(医学または獣医学;衛生学)
要約
【課題】エンドツールが屈曲したり手術動作を遂行したりする動作と、それに対応する操作部の作動とを直観的に一致させる手術用インストルメントを提供する。
【解決手段】第1ジョー121及び第2ジョー122を含むエンドツール120、エンドツールのピッチ運動を制御するピッチ操作部111と、エンドツールのヨー運動を制御するヨー操作部と、エンドツールのアクチュエーション運動を制御するアクチュエーション操作部と、を含む操作部110、ヨー操作部またはアクチュエーション操作部の回転を、第1ジョーワイヤまたは第2ジョーワイヤを介して、第1ジョーまたは第2ジョーに伝達する動力伝達部、及び操作部とエンドツールとを連結する連結部を含み、ピッチ操作部は、Y軸を中心に回転自在に形成され、少なくとも操作部のいずれか1動作状態において、操作部の少なくとも一部が、自体の回転軸より、エンドツールに近く形成される。
【選択図】図2
特許請求の範囲
【請求項1】
手術用インストルメントのエンドツールにおいて、
前記エンドツールから操作部へ向かう方向を一側とし、前記一側と反対の方向を他側とすると、
互いに独立して回転可能な第1ジョー及び第2ジョーと、
前記第1ジョーと結合し、エンドツールハブに形成される第1軸を中心に回転自在に形成されるJ11プーリと、
前記J11プーリの一側に形成され、前記第1軸と所定の角度をなすように形成され、前記エンドツールハブの一側に形成される第3軸を中心に回転自在に形成され、互いに隣接して形成されるJ12プーリ及びJ14プーリと、
前記第2ジョーと結合し、前記第1軸と実質的に同一または平行な軸を中心に回転自在に形成されるJ21プーリと、
前記J21プーリの一側に形成され、前記第3軸と実質的に同一または平行な軸を中心に回転自在に形成され、互いに隣接して形成されるJ22プーリ及びJ24プーリと、を含み、
第1ジョーワイヤは、前記J12プーリ、J11プーリ、J14プーリと少なくとも一部が接触するように形成され、
第2ジョーワイヤは、前記J22プーリ、J21プーリ、J24プーリと少なくとも一部が接触するように形成され、
前記第1軸に垂直であり、前記J11プーリと前記J21プーリとの間を通る第1平面を基準に、
前記J11プーリに結合されている2本の第1ジョーワイヤは、前記J12プーリ及び前記J14プーリの上側と下側のうち一側に接触し、
前記J21プーリに結合されている2本の第2ジョーワイヤは、前記J22プーリ及び前記J24プーリの上側と下側のうち、前記一側と異なる一側に接触し、
前記J11プーリと前記J21プーリは、前記第1軸方向において一定程度離隔されて前記J11プーリと前記J21プーリとの間に所定の空間が形成されることを特徴とする手術用インストルメントのエンドツール。
発明の詳細な説明
【技術分野】
【0001】
本発明は、手術用インストルメントに係り、詳細には、腹腔鏡手術、またはさまざまな多様な手術に使用するために手動で作動可能な手術用インストルメントに関する。
続きを表示(約 2,500 文字)
【背景技術】
【0002】
医学的に手術とは、皮膚や粘膜、その他組織を、医療機器を使用して、切ったり裂いたりする操作を加えて病気を直すことをいう。特に、手術部位の皮膚を切開して開き、その内部にある器官などを治療、成形したり除去したりする開腹手術は、出血、副作用、患者の苦痛、傷痕などの問題を引き起こす。従って、最近では、皮膚に所定の孔を形成し、医療機器、例えば、腹腔鏡、手術用インストルメント、微細手術用顕微鏡などを挿入するだけで行う手術、またはロボットを使用した手術が代案として脚光を浴びている。
【0003】
手術用インストルメントは、皮膚に穿孔された孔を通過するシャフトの一端に具備されたエンドツールを、所定の駆動部を使用して、医師が直接手で操作したり、ロボットアームを使用して操作することにより、手術部位を手術するための道具である。手術用インストルメントに具備されたエンドツールは、所定の構造を介した回転動作、摘み動作(gripping)、切断動作(cutting)などを遂行する。
【0004】
ところで、既存の手術用インストルメントは、エンドツール部分が屈曲せず、手術部位への接近、及びさまざまな手術動作の遂行において容易ではないという問題点が存在した。それを補完するために、エンドツール部分が反る手術用インストルメントが開発されたが、エンドツールを屈曲させたり手術動作を遂行したりするための操作部の作動が、実際のエンドツールが屈曲したり手術動作を遂行したりする動作と直観的に一致せず、手術者の立場から、直観的な作動が容易ではなく、使用方法の熟練に長時間が必要となるという問題点が存在した。
【0005】
前述の背景技術は、発明者が本発明の導出のために保有していたり、本発明の導出過程において習得したりした技術情報であり、必ずしも本発明の出願前に、一般公衆に公開された公知技術とするものではない。
【発明の概要】
【発明が解決しようとする課題】
【0006】
本発明の目的は、前述の問題点を解決するためのものであり、実際のエンドツールが屈曲したり手術動作を遂行したりする動作と、それに対応する操作部の作動とを直観的に一致させるための手術用インストルメントを提供することを目的とする。さらに具体的には、そのために、さまざまな自由度を有するエンドツール、該エンドツールの動作を直観的に操作させる構造を有する操作部、操作部の操作通りにエンドツールの動作が可能になるように、操作部の駆動力をエンドツールに伝達する動力伝達部を提供するものである。
【課題を解決するための手段】
【0007】
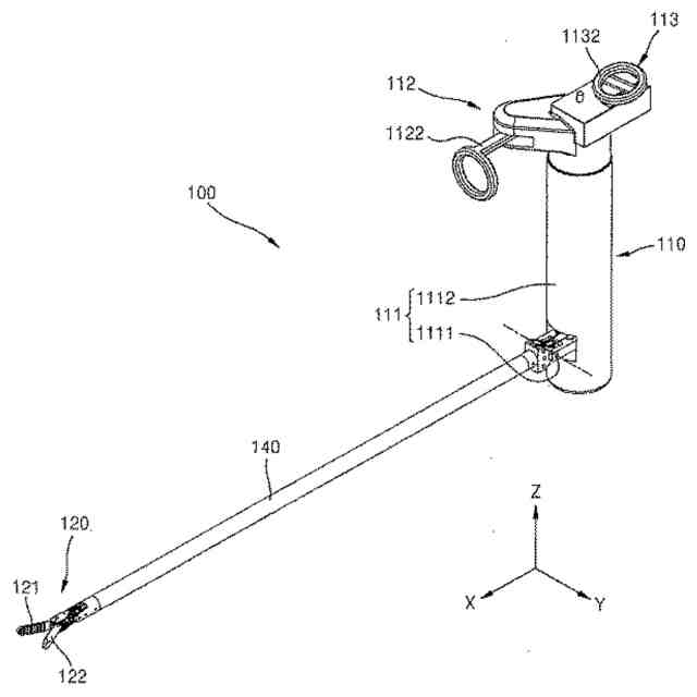
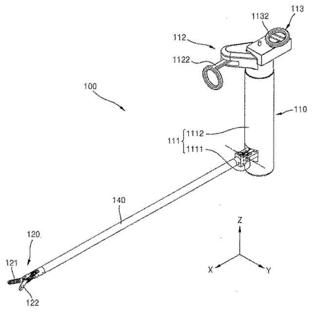
本発明の一実施形態は、それぞれ回転自在に形成される第1ジョー及び第2ジョーを含むエンドツール;前記エンドツールのピッチ(pitch)運動を制御するピッチ操作部(pitch operator)と、前記エンドツールのヨー(yaw)運動を制御するヨー操作部(yaw operator)と、前記エンドツールのアクチュエーション(actuation)運動を制御するアクチュエーション操作部(actuation operator)を含む操作部;前記第1ジョーと連結され、前記操作部の動作を前記第1ジョーに伝達する第1ジョーワイヤ、前記第2ジョーと連結され、前記操作部の動作を前記第2ジョーに伝達する第2ジョーワイヤ、前記ヨー操作部または前記アクチュエーション操作部の回転を、前記第1ジョーワイヤまたは前記第2ジョーワイヤを介して、前記第1ジョーまたは前記第2ジョーに伝達する1以上の差動部材を含む動力伝達部;並びに第1方向(X軸)に延設され、一端部には、前記エンドツールが結合され、他端部には、前記操作部が結合され、前記操作部と前記エンドツールとを連結する連結部;を含み、前記ピッチ操作部は、前記第1方向に対して垂直である第2方向(Y軸)を中心に回転自在に形成され、少なくとも前記操作部のいずれか1動作状態において、前記操作部の少なくとも一部が、自体の回転軸より、前記エンドツールに近く形成されることを特徴とする手術用インストルメントを開示する。
【0008】
本発明の他の実施形態は、互いに独立して回転可能な第1ジョー及び第2ジョー;前記第1ジョーと結合し、エンドツールハブに形成される第1軸を中心に回転自在に形成されるJ11プーリ;前記J11プーリの一側に形成され、前記第1軸の一側に形成される第2軸を中心に回転自在に形成されるJ16プーリ;前記J16プーリの一側に形成され、前記第1軸と所定の角度をなすように形成され、前記エンドツールハブの一側に形成される第3軸を中心に回転自在に形成されるJ12プーリ及びJ14プーリ;前記第2ジョーと結合し、前記第1軸と実質的に同一または平行な軸を中心に回転自在に形成されるJ21プーリ、前記J21プーリの一側に形成され、前記第2軸と実質的に同一または平行な軸を中心に回転自在に形成されるJ26プーリ;前記J26プーリの一側に形成され、前記第3軸と実質的に同一または平行な軸を中心に回転自在に形成されるJ22プーリ及びJ24プーリ;を含み、第1ジョーワイヤは、前記J12プーリ、J11プーリ、J16プーリ、J14プーリと少なくとも一部が接触するように形成され、第2ジョーワイヤは、前記J22プーリ、J21プーリ、J26プーリ、J24プーリと少なくとも一部が接触するように形成されることを特徴とするエンドツールを開示する。
【0009】
前述のところ以外の他の側面、特徴、利点は、以下の図面、特許請求の範囲、及び発明の詳細な説明から明確になるであろう。
【発明の効果】
【0010】
かような本発明によって、手術者による操作部の操作方向とエンドツールの作動方向とが直観的に同一方向であるために、手術者の便宜性が向上し、手術の正確性、信頼性及び迅速性が向上するという効果を得ることができる。
【図面の簡単な説明】
(【0011】以降は省略されています)
この特許をJ-PlatPat(特許庁公式サイト)で参照する
関連特許
個人
貼付剤
14日前
個人
足踏み器具
3日前
個人
短下肢装具
3か月前
個人
白内障治療法
8か月前
個人
洗井間専家。
7か月前
個人
前腕誘導装置
3か月前
個人
嚥下鍛錬装置
4か月前
個人
排尿補助器具
27日前
個人
バッグ式オムツ
4か月前
個人
ホバーアイロン
7か月前
個人
歯の修復用材料
4か月前
個人
胸骨圧迫補助具
2か月前
個人
矯正椅子
5か月前
個人
腰ベルト
17日前
個人
アイマスク装置
2か月前
個人
汚れ防止シート
1か月前
個人
ウォート指圧法
25日前
個人
シャンプー
6か月前
個人
歯の保護用シール
5か月前
個人
美容セット
5日前
三生医薬株式会社
錠剤
7か月前
個人
湿布連続貼り機。
2か月前
個人
車椅子持ち上げ器
8か月前
個人
陣痛緩和具
4か月前
個人
哺乳瓶冷まし容器
3か月前
個人
治療用酸化防御装置
2か月前
株式会社八光
剥離吸引管
5か月前
個人
服薬支援装置
7か月前
株式会社コーセー
化粧料
24日前
個人
エア誘導コルセット
2か月前
株式会社大野
骨壷
4か月前
個人
性行為補助具
3か月前
株式会社結心
手袋
8か月前
個人
高気圧環境装置
5か月前
株式会社ニデック
検眼装置
4か月前
株式会社ニデック
眼科装置
4か月前
続きを見る
他の特許を見る