TOP
|
特許
|
意匠
|
商標
特許ウォッチ
Twitter
他の特許を見る
公開番号
2025168364
公報種別
公開特許公報(A)
公開日
2025-11-07
出願番号
2025134682,2022507695
出願日
2025-08-13,2020-09-18
発明の名称
眼科診断デバイスのための測定の患者誘導トリガ
出願人
アルコン インコーポレイティド
代理人
個人
,
個人
,
個人
主分類
A61B
3/113 20060101AFI20251030BHJP(医学または獣医学;衛生学)
要約
【課題】眼科診断デバイスのための測定の患者誘導トリガを提供する。
【解決手段】眼科的手続の間、眼の位置及び状態をトラッキングするためのシステム及び方法が、眼の特性を測定するように構成される眼科用デバイスと、眼の画像のストリームをキャプチャするように構成されるアイトラッカと、論理デバイスであって、画像のストリームを分析して眼が目標対象を固視しているかどうかを判断し、第1の画像のストリームにおいて所定の瞬きシーケンスを検出し、所定の涙安定化期間の間遅延させ、安定涙膜間隔を開始し、安定涙膜間隔の間、眼が固視しているときに眼科用デバイスを用いて眼の少なくとも1つの測定結果をキャプチャするように構成される、論理デバイスと、を含む。瞬きシーケンスは、連続した複数の瞬きを含んでもよく、瞬きシーケンスの検出は、開いた眼及び/又は閉じた眼を検出するように訓練されたニューラルネットワークを通して画像を処理することを含み得る。
【選択図】図2
特許請求の範囲
【請求項1】
システムであって、
眼の特性を測定するように構成される眼科用デバイスと、
前記眼の第1の画像のストリームをキャプチャするように構成されるアイトラッカと、
論理デバイスであって、
前記第1の画像のストリームを分析して前記眼が目標対象を固視しているかどうかを判断し、
前記第1の画像のストリームにおいて所定の瞬きシーケンスを検出し、
所定の涙安定化期間の後、安定涙膜間隔を開始し、
前記安定涙膜間隔の間、前記眼が前記目標対象を固視しているときに前記眼科用デバイスを用いて前記眼の少なくとも1つの測定結果をキャプチャするように構成される、前記論理デバイスと、
を備える、システム。
続きを表示(約 2,000 文字)
【請求項2】
前記瞬きシーケンスが、連続した複数の瞬きを含み、
前記第1の画像のストリームにおいて前記所定の瞬きシーケンスを検出することが、開いた眼及び/又は閉じた眼を検出するように訓練されたニューラルネットワークを通して前記画像を処理することを含む、請求項1に記載のシステム。
【請求項3】
前記アイトラッカが、第1の位置からの前記眼の第1の画像及び第2の位置からの前記眼の第2の画像をキャプチャするように構成され、
前記論理デバイスが、
前記第1の画像から第1の複数の眼の特性を検出し、前記眼の特性が第1の対応画像座標を有し、
前記第2の画像から第2の複数の眼の特性を検出し、前記眼の特性が第2の対応画像座標を有し、
前記第1の対応画像座標、前記第2の対応画像座標、前記第1の位置、及び前記第2の位置に少なくとも一部基づいて校正オフセット及び校正利得を判断するようにさらに構成される、
請求項1に記載のシステム。
【請求項4】
前記論理デバイスが、
前記第1の対応画像座標及び/又は前記第2の対応画像座標に少なくとも一部基づいて、前記アイトラッカの光軸に対する眼球固視位置及び向きを判断するようにさらに構成される、請求項3に記載のシステム。
【請求項5】
前記論理デバイスが、
判断された前記眼球固視位置及び向きに少なくとも一部基づいて眼球固視パラメータを推定し、
前記アイトラッカから第1の画像のストリームを受信し、
前記第1の画像のストリームからの少なくとも1つの画像を分析して前記眼球固視パラメータに対する現在の眼の位置及び向きを判断することによって、前記現在の眼の位置及び向きをトラッキングするようにさらに構成され、
前記眼球固視パラメータが、固視時の前記眼の基準位置及び向きを含む、請求項1に記載のシステム。
【請求項6】
前記論理デバイスが、検出された眼の位置及び向きのヒストグラムを構築及び分析することによって、前記アイトラッカの光軸に対する前記固視位置を判断するようにさらに構成され、
前記ヒストグラムを分析することが、相対最大値の座標が固視位置及び向きを含むかどうかを判断することをさらに含み、
前記相対最大値の座標が固視位置及び向きを含むかどうかを判断することが、前記相対最大値を閾値及び/又は前記ヒストグラムの平均座標値と比較することをさらに含む、請求項1に記載のシステム。
【請求項7】
網膜スキャンを実行するように構成される光干渉断層撮影(OCT)スキャナを含む、網膜撮像システムをさらに備え、
前記アイトラッカが、前記網膜スキャンの間に前記眼の画像のストリームをキャプチャするようにさらに構成され、
前記網膜撮像システムが、
前記眼の複数の網膜画像をキャプチャし、
中心窩が前記眼の前記複数の網膜画像のうちの1つ又は複数に存在するかどうかを検出し、
検出された前記中心窩を有する前記眼の前記複数の網膜画像から第1の網膜画像を識別するようにさらに構成され、
前記論理デバイスが、
前記第1の網膜画像に時間的近接性を有する前記画像のストリームから対応する画像を判断し、
前記対応する画像を分析して眼球固視パラメータを判断するようにさらに構成される、
請求項1に記載のシステム。
【請求項8】
前記論理デバイスが、前記眼の位置及び向きをトラッキングし、眼球固視パラメータからのオフセットを計算し、前記オフセットが閾値未満かどうかを判断するように構成され、
前記オフセットが前記閾値未満であるときに、前記眼が固視していると判断され、前記論理デバイスが、固視の標識を生成し、
前記オフセットが前記閾値より大きいときに、前記眼が整列状態にないと判断され、前記制御プロセッサが、固視でないとの標識を生成する、請求項1に記載のシステム。
【請求項9】
前記論理デバイスが、眼球診断手続を実行し、前記眼球診断手続の間に前記アイトラッカを用いて眼の位置をトラッキングするようにさらに構成される、請求項1に記載のシステム。
【請求項10】
前記アイトラッカを用いて前記眼の位置及び向きをトラッキングしつつ眼球診断手続を実行するように構成される診断デバイスをさらに備え、前記診断デバイスが、眼球固視パラメータ及びトラッキングされた眼の位置を表すデータに少なくとも一部基づいて、前記眼球診断手続を修正するように構成される、請求項1に記載のシステム。
(【請求項11】以降は省略されています)
発明の詳細な説明
【技術分野】
【0001】
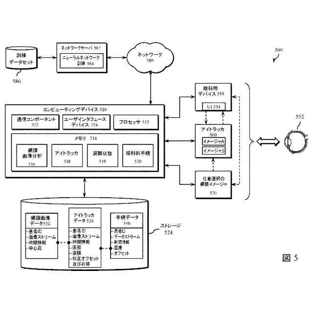
本開示は、概して、眼球診断システム及び方法に関し、より詳細には、例えば撮像、診断及び/又は外科システムにおいて眼の位置、向き及び/又は状態をトラッキングするためのシステム及び方法に関する。
続きを表示(約 2,600 文字)
【背景技術】
【0002】
患者の眼を撮像し、測定し、診断し、トラッキングし、外科的に矯正し、且つ/又は外科的に修復するために、多岐にわたる眼科用デバイスが使用される。トポグラフィデバイス、角膜曲率測定デバイス、波面解析器又は眼の様相を(例えば、光学的、幾何学的など)測定する別のデバイスなどの眼科用デバイスの動作は、診断デバイスに対して定義された位置及び向きに眼が維持されているという仮定に基づくことが多い。患者は、眼科用デバイスの人間の操作者によって位置決めされ、例えばデバイス内を覗き込んで目標対象(例えば、固視灯)を見て、患者の視線(例えば、人がそれに沿って物を見る軸)を眼科用デバイスの光軸に整列させるように指示され得る。患者が適切に固視されていない場合、示度が不正確である場合があり、且つ/又はシステムが適切に機能できないことがある。
【0003】
正確なデータ取得を保証するために、眼科用デバイスの人間の操作者には、患者が眼を整列させるように目標対象を適切に固視しているかどうかを判断するために、患者をモニタリングすること、患者に初期化手続を説明すること及び/又はデータ取得中のデバイスからのフィードバックをモニタリングすることが課されることが多い。既知の技術の1つは、デバイス操作者によって指示されるように目標対象を固視する患者の協力に依存することを含む。しかしながら、既存の手法は、固視を試みる患者の人為的過誤(例えば、高齢患者は、眼の位置を維持できないことがあり、患者は、眼を固定するための十分な集中力を欠いていることがあり、患者は、目標対象を直接見ることができないことがあるなど)及び手順中に患者をモニタリングする操作者による人為的過誤及び可変性を含む多くの欠点を有する。別の手法では、網膜スキャン及び撮像分析が患者の眼の位置及び向きをトラッキングするために使用され得るが、網膜撮像システムの動作が診断手順の妨げとなることがある。その結果、網膜スキャン及び撮像システムは、眼科用デバイスを使用して実行される診断手順中、シャットダウンされるか、又はアイトラッキングにおける使用に対して動作不能にされることが多い。
【0004】
従来のシステムの他の欠点は、患者が、測定がいつ開始したかを知らない場合があり、固視を失ったり、瞬きしたり、又は測定の信頼性に影響を及ぼす他の方法で動くことがあるということを含む。患者は、長期間固視するように求められる場合があり、それは、患者にとって不快であり、眼が最適以下の状態であることにつながることがある。操作者には、また、測定を行うための眼の最適な状態を判断することが課されることがある。例えば、眼は、測定手続の経過を経て乾燥する場合があり、患者が瞬きする度に水分は元に戻り得る。それが眼の反射率の一定の変化につながり得る。
【発明の概要】
【発明が解決しようとする課題】
【0005】
前述の点に鑑みて、眼科的手順中、患者の眼の位置、向き及び状態を判断及び/又はトラッキングするための改善された技術が当技術分野において継続的に必要とされている。
【課題を解決するための手段】
【0006】
本開示は、概して、眼球診断データ取得の患者制御を含むシステム及び方法に関する。本明細書で与えられるシステム及び方法は、眼の測定準備の最適時間を判断するために使用され得る。
【0007】
1つ又は複数の実施形態では、システムは、眼の特性を測定するように構成される眼科用デバイスと、眼の第1の画像のストリームをキャプチャするように構成されるアイトラッカと、論理デバイスであって、第1の画像のストリームを分析して眼が目標対象を固視しているかどうかを判断し、第1の画像のストリームにおいて所定の瞬きシーケンスを検出し、所定の涙安定化期間の後、安定涙膜間隔を開始し、安定涙膜間隔の間、眼が目標対象を固視しているときに眼科用デバイスを用いて眼の少なくとも1つの測定結果をキャプチャするように構成される、論理デバイスと、を含む。瞬きシーケンスは、連続した複数の瞬きを含んでもよく、瞬きシーケンスの検出は、開いた眼及び/又は閉じた眼を検出するように訓練されたニューラルネットワークを通して画像を処理することを含み得る。
【0008】
いくつかの実施形態では、アイトラッカは、第1の位置からの眼の第1の画像及び第2の位置からの眼の第2の画像をキャプチャするように構成され、論理デバイスは、第1の画像から第1の複数の眼の特性を検出し、眼の特性が第1の対応画像座標を有し、第2の画像から第2の複数の眼の特性を検出し、眼の特性が第2の対応画像座標を有し、第1の対応画像座標、第2の対応画像座標、第1の位置、及び第2の位置に少なくとも一部基づいて校正オフセット及び校正利得を判断するようにさらに構成される。論理デバイスは、第1の対応画像座標及び/又は第2の対応画像座標に少なくとも一部基づいて、アイトラッカの光軸に対する眼球固視位置及び向きを判断するようにさらに構成され得る。
【0009】
いくつかの実施形態では、論理デバイスは、判断された眼球固視位置及び向きに少なくとも一部基づいて眼球固視パラメータを推定し、アイトラッカから第1の画像のストリームを受信し、第1の画像のストリームからの少なくとも1つの画像を分析して眼球固視パラメータに対する現在の眼の位置及び向きを判断することによって、現在の眼の位置及び向きをトラッキングするように構成され、眼球固視パラメータは、固視時の眼の基準位置及び向きを含む。
【0010】
論理デバイスは、検出された眼の位置及び向きのヒストグラムを構築及び分析することによって、アイトラッカの光軸に対する固視位置を判断するようにさらに構成されてもよく、ヒストグラムを分析することが、相対最大値の座標が固視位置及び向きを含むかどうかを判断することをさらに含み、相対最大値の座標が固視位置及び向きを含むかどうかを判断することが、相対最大値を閾値及び/又はヒストグラムの平均座標値と比較することをさらに含む。
(【0011】以降は省略されています)
この特許をJ-PlatPat(特許庁公式サイト)で参照する
関連特許
個人
貼付剤
14日前
個人
足踏み器具
3日前
個人
短下肢装具
3か月前
個人
前腕誘導装置
3か月前
個人
排尿補助器具
27日前
個人
嚥下鍛錬装置
4か月前
個人
バッグ式オムツ
4か月前
個人
汚れ防止シート
1か月前
個人
腰ベルト
17日前
個人
アイマスク装置
2か月前
個人
胸骨圧迫補助具
2か月前
個人
矯正椅子
5か月前
個人
歯の修復用材料
4か月前
個人
ウォート指圧法
25日前
個人
湿布連続貼り機。
2か月前
個人
美容セット
5日前
個人
歯の保護用シール
5か月前
個人
哺乳瓶冷まし容器
3か月前
個人
陣痛緩和具
4か月前
個人
エア誘導コルセット
2か月前
個人
治療用酸化防御装置
2か月前
株式会社大野
骨壷
4か月前
個人
性行為補助具
3か月前
株式会社コーセー
化粧料
24日前
株式会社八光
剥離吸引管
5か月前
個人
精力増強キット
1か月前
株式会社ダリヤ
毛髪化粧料
1か月前
個人
こむら返り応急治し具
3日前
株式会社ニデック
検眼装置
4か月前
株式会社ニデック
眼科装置
4か月前
株式会社コロナ
サウナ装置
6か月前
個人
形見の製造方法
4か月前
株式会社ニデック
眼科装置
1か月前
個人
手指運動ツール
2か月前
個人
シリンダ式歩行補助具
3か月前
株式会社GSユアサ
歩行器
5か月前
続きを見る
他の特許を見る