TOP
|
特許
|
意匠
|
商標
特許ウォッチ
Twitter
他の特許を見る
10個以上の画像は省略されています。
公開番号
2025168325
公報種別
公開特許公報(A)
公開日
2025-11-07
出願番号
2025073014
出願日
2025-04-25
発明の名称
ディスプレイ装置
出願人
エルジー ディスプレイ カンパニー リミテッド
代理人
個人
,
個人
,
個人
,
個人
,
個人
主分類
G09F
9/30 20060101AFI20251030BHJP(教育;暗号方法;表示;広告;シール)
要約
【課題】温度変動による輝度および色座標変動を低減することができるディスプレイ装置を提供する。
【解決手段】本明細書は、温度変動による輝度および色座標変動を低減して光学品質を向上させることができるディスプレイ装置に関するものであり、一実施例によるディスプレイ装置は、第1色の光を放出する第1発光素子および第1発光素子を駆動する第1駆動トランジスタを含む第1サブピクセル、第2色の光を放出する第2発光素子および第2発光素子を駆動する第2駆動トランジスタを含む第2サブピクセルを含み、第1駆動トランジスタおよび第2駆動トランジスタは、異なるダミーホール総開口面積を有することができる。
【選択図】図1
特許請求の範囲
【請求項1】
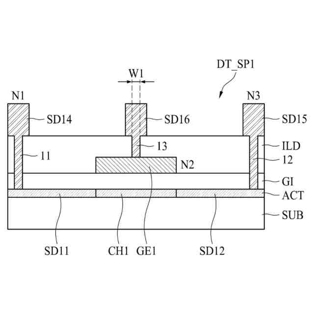
第1色の光を放出する第1発光素子、および前記第1発光素子を駆動する第1駆動トランジスタを含む第1サブピクセルと、
第2色の光を放出する第2発光素子、および前記第2発光素子を駆動する第2駆動トランジスタを含む第2サブピクセルと、
前記第1駆動トランジスタに配置された少なくとも1つの第1ダミーホールと、
前記第2駆動トランジスタに配置された少なくとも1つの第2ダミーホールとを含み、
前記第1駆動トランジスタの少なくとも1つの第1ダミーホールの総開口面積は、前記第2駆動トランジスタの少なくとも1つの第2ダミーホールの総開口面積と異なるディスプレイ装置。
続きを表示(約 2,000 文字)
【請求項2】
前記第1駆動トランジスタの少なくとも1つの第1ダミーホールの総開口面積が、前記第2駆動トランジスタの少なくとも1つの第2ダミーホールの総開口面積よりも大きい、請求項1に記載のディスプレイ装置。
【請求項3】
前記第1駆動トランジスタの少なくとも1つの第1ダミーホールの数が、前記第2駆動トランジスタの少なくとも1つの第2ダミーホールの数よりも多い、請求項1に記載のディスプレイ装置。
【請求項4】
前記第1サブピクセルが、前記第1駆動トランジスタの周辺の絶縁層に配置された少なくとも1つの周辺ダミーホールをさらに含む、請求項1に記載のディスプレイ装置。
【請求項5】
第3色の光を放出する第3発光素子、および前記第3発光素子を駆動する第3駆動トランジスタを含む第3サブピクセルと、
前記第3駆動トランジスタに配置された少なくとも1つの第3ダミーホールとをさらに含み、
前記第3駆動トランジスタの前記少なくとも1つの第3ダミーホールの総開口面積は、前記第1駆動トランジスタの前記少なくとも1つの第1ダミーホールの総開口面積および前記第2駆動トランジスタの前記少なくとも1つの第2ダミーホールの総開口面積のいずれか1つと同じであるか、または前記第1駆動トランジスタの前記少なくとも1つの第1ダミーホールの総開口面積および前記第2駆動トランジスタの前記少なくとも1つの第2ダミーホールの総開口面積と異なる、請求項1に記載のディスプレイ装置。
【請求項6】
前記第1駆動トランジスタが、前記少なくとも1つの第1ダミーホールを介して前記第1駆動トランジスタの第1ゲート電極に連結した第1ダミー電極をさらに含み、
前記第2駆動トランジスタが、前記少なくとも1つの第2ダミーホールを介して前記第2駆動トランジスタの第2ゲート電極に連結した第2ダミー電極をさらに含み、
前記第3駆動トランジスタが、前記少なくとも1つの第3ダミーホールを介して前記第3駆動トランジスタの第3ゲート電極に連結した第3ダミー電極をさらに含む、請求項5に記載のディスプレイ装置。
【請求項7】
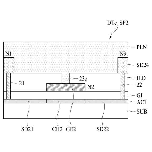
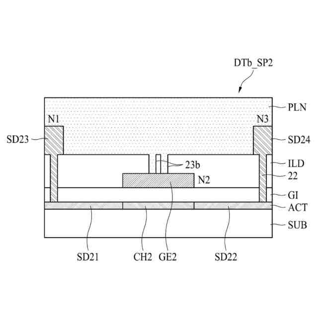
前記少なくとも1つの第1~第3ダミーホールのそれぞれの開口面積が、第1~第3サブピクセルに配置された少なくとも1つのコンタクトホールのそれぞれの開口面積と同じである、請求項5に記載のディスプレイ装置。
【請求項8】
前記第1~第3サブピクセルが、それぞれ青色サブピクセル、緑色サブピクセル、赤色サブピクセルであり、
前記青色サブピクセルの前記第1駆動トランジスタの少なくとも1つの第1ダミーホールの総開口面積は、前記緑色サブピクセルの前記第2駆動トランジスタの少なくとも1つの第2ダミーホールの総開口面積より大きく、前記赤色サブピクセルの前記第3駆動トランジスタの少なくとも1つの第3ダミーホールの総開口面積より大きく、
前記第2駆動トランジスタの少なくとも1つの第2ダミーホールの総開口面積と前記第3駆動トランジスタの少なくとも1つの第3ダミーホールの総開口面積は、同じである、請求項5に記載のディスプレイ装置。
【請求項9】
前記第1~第3サブピクセルが、それぞれ青色サブピクセル、緑色サブピクセル、赤色サブピクセルであり、
前記青色サブピクセルの前記第1駆動トランジスタの少なくとも1つの第1ダミーホールの数は、前記赤色サブピクセルの前記第2駆動トランジスタの少なくとも1つの第2ダミーホールの数より多く、前記緑色サブピクセルの前記第3駆動トランジスタの少なくとも1つの第3ダミーホールの数よりも多く、
前記第2駆動トランジスタの少なくとも1つの第2ダミーホールの数と前記第3駆動トランジスタの少なくとも1つの第3ダミーホールの数は、同じである、請求項5に記載のディスプレイ装置。
【請求項10】
第1色の光を放出する第1発光素子および前記第1発光素子を駆動する第1駆動トランジスタと、前記第1駆動トランジスタの第1ゲート電極と重畳する少なくとも1つの第1ダミーホールを含む第1サブピクセルと、
第2色の光を放出する第2発光素子および前記第2発光素子を駆動する第2駆動トランジスタと、前記第2駆動トランジスタの第2ゲート電極と重畳する少なくとも1つの第2ダミーホールを含む第2サブピクセルと、
第3色の光を放出する第3発光素子および前記第3発光素子を駆動する第3駆動トランジスタと、前記第3駆動トランジスタの第3ゲート電極と重畳する少なくとも1つの第3ダミーホールを含む第3サブピクセルとを含む、ディスプレイ装置。
(【請求項11】以降は省略されています)
発明の詳細な説明
【技術分野】
【0001】
本明細書は、温度変動による輝度および色座標変動を低減することができるディスプレイ装置に関するものである。
続きを表示(約 1,500 文字)
【背景技術】
【0002】
電界発光ディスプレイ(Electroluminesence Display)装置は、自発光素子を用いて輝度が高く、駆動電圧が低く、超薄膜化が可能であるだけでなく、自由な形状で具現が可能な利点がある。
【0003】
電界発光ディスプレイ装置は、発光素子が温度によって輝度が変動する特性を有しており、温度変動によって輝度変動が発生し得る。
【0004】
上述した背景技術の内容は、本明細書の発明者が本明細書の例を導出するために保有し、または、本明細書の例を導出する過程で習得した技術情報であって、必ずしも本明細書の出願以前に一般公衆に公開された公知技術とは言えない。
【発明の概要】
【発明が解決しようとする課題】
【0005】
電界発光ディスプレイ装置は、発光物質が異なる赤色、緑色、青色の発光素子が温度による輝度変動特性が異なるため、温度変動によって3色サブピクセル間に輝度変動差が発生し得る。これにより、電界発光ディスプレイ装置は、温度変動によって白色色座標が変動して光学品質が低下し得る。
【0006】
本明細書は、温度変動による輝度および色座標変動を低減して光学品質を向上させることができるディスプレイ装置を提供する。
【0007】
本明細書で解決しようとする課題は、上で言及した課題に限定されず、言及していないまた他の課題は、以下の記載内容から本明細書の技術思想が属する技術分野において通常の知識を有する者に明確に理解することができるだろう。
【課題を解決するための手段】
【0008】
一実施例によるディスプレイ装置は、第1色の光を放出する第1発光素子および第1発光素子を駆動する第1駆動トランジスタを含む第1サブピクセルと、第2色の光を放出する第2発光素子と、第2発光素子を駆動する第2駆動トランジスタを含む第2サブピクセルとを含み、第1駆動トランジスタ及び第2駆動トランジスタは、異なるダミーホール総開口面積を有することができる。
【0009】
一実施例に係るディスプレイ装置は、第1色の光を放出する第1発光素子、第1発光素子を駆動する第1駆動トランジスタ、第1駆動トランジスタの第1ゲート電極に重畳する少なくとも1つの第1ダミーホールを含む第1サブピクセルと、第2色の光を放出する第2発光素子、第2発光素子を駆動する第2駆動トランジスタ、第2駆動トランジスタの第2ゲート電極に重畳する少なくとも1つの第2ダミーホールを含む第2サブピクセルと、第3色の光を放出する第3発光素子、前記第3発光素子を駆動する第3駆動トランジスタ、第3駆動トランジスタの第3ゲート電極と重畳する少なくとも1つの第3ダミーホールを含む第3サブピクセルとを含み、少なくとも1つの第1ダミーホールの総開口面積は、少なくとも1つの第2ダミーホールの総開口面積および少なくとも1つの第3ダミーホールの総開口面積と異なり、少なくとも1つの第2ダミーホールの総開口面積は、少なくとも1つの第3ダミーホールの総開口面積と同じかまたは異なり得る。
【0010】
一実施例によるディスプレイ装置は、第1色の光を放出する第1発光素子および第1発光素子を駆動する第1駆動トランジスタを含む第1サブピクセルと、第2色の光を放出する第2発光素子及び第2発光素子を駆動する第2駆動トランジスタを含む第2サブピクセルとを含み、第1駆動トランジスタ及び第2駆動トランジスタは、第1発光素子及び第2発光素子の温度による輝度変動特性によって異なるダミーホール総開口面積を有することができる。
(【0011】以降は省略されています)
この特許をJ-PlatPat(特許庁公式サイト)で参照する
関連特許
個人
教育のAI化
3日前
個人
英語教材
19日前
個人
回転式カード学習具
2か月前
日本精機株式会社
表示装置
2か月前
日本精機株式会社
表示装置
1か月前
日本精機株式会社
表示装置
6日前
個人
計算用教具
1か月前
中国電力株式会社
標示旗
1か月前
日本精機株式会社
車両用表示装置
12日前
個人
インフィニティミラー
4日前
日本精機株式会社
車両用センサ装置
1か月前
個人
微細構造を模した理科学習教材
25日前
個人
モデルで薔薇の花嫁様を描く為
2か月前
日榮新化株式会社
対象物質感知シート
3日前
株式会社一弘社
情報表示板
2か月前
ニチレイマグネット株式会社
サイン器具
17日前
シャープ株式会社
表示装置
1か月前
個人
音楽教材
2か月前
株式会社ウメラボ
学習支援システム
1か月前
株式会社ウメラボ
学習支援システム
1か月前
日本精機株式会社
表示装置及びその製造方法
6日前
ニチレイマグネット株式会社
磁着式電飾装置
1か月前
朝日インテック株式会社
ラベルシート
17日前
リンテック株式会社
表示体
1か月前
株式会社イリオスNOTO
シート保管具
17日前
朝日インテック株式会社
生体モデル装置
6日前
シャープ株式会社
表示装置
18日前
株式会社リコー
画像投射システム
1か月前
シチズンファインデバイス株式会社
液晶表示装置
2か月前
株式会社サンゲツ
見本帳
2か月前
学校法人関西医科大学
腹腔鏡手術訓練装置
1か月前
BEST株式会社
吊り下げ表示部材
2か月前
シャープ株式会社
表示装置
2か月前
国立大学法人秋田大学
運転シミュレータ
18日前
セイコーエプソン株式会社
表示方法
2か月前
セイコーエプソン株式会社
表示方法
2か月前
続きを見る
他の特許を見る