TOP
|
特許
|
意匠
|
商標
特許ウォッチ
Twitter
他の特許を見る
公開番号
2025168297
公報種別
公開特許公報(A)
公開日
2025-11-07
出願番号
2025070272
出願日
2025-04-22
発明の名称
真空バルブ装置、および、真空ポンプと真空バルブ装置とを備えるシステム
出願人
プファイファー・ヴァキューム・テクノロジー・アクチエンゲゼルシャフト
代理人
個人
,
個人
,
個人
,
個人
主分類
F16K
37/00 20060101AFI20251030BHJP(機械要素または単位;機械または装置の効果的機能を生じ維持するための一般的手段)
要約
【課題】本発明の課題は、コストの安い方法で、真空システムの監視および制御を可能にする、真空バルブ装置を提供することである。
【解決手段】バルブハウジング22を有する真空バルブ装置において、バルブハウジングが、ガス流入口24とガス流出口26とを有しており、ガス流入口とガス流出口とが、貫通チャネルによって互いに接続しており、貫通チャネルが、移動可能に配置され且つ閉鎖位置においてバルブ座34と協働するバルブ本体38によって、選択的に、気密に遮断可能であり、バルブ装置内に統合された少なくとも1つのガス圧力センサー44、46が設けられており、ガス圧力センサーによって、ガス圧力センサーに割り当てられた、貫通チャネルの部分28、30内において支配的なガス圧力が決定可能である。
【選択図】図2
特許請求の範囲
【請求項1】
バルブハウジング(22)を有する真空バルブ装置において、
バルブハウジングが、ガス流入口(24)とガス流出口(26)とを有しており、
ガス流入口とガス流出口とが、貫通チャネルによって互いに接続しており、
貫通チャネルが、移動可能に配置され且つ閉鎖位置においてバルブ座(34)と協働するバルブ本体(38)によって、選択的に、気密に遮断可能であり、
バルブ装置内に統合された少なくとも1つのガス圧力センサー(44、46)が設けられており、
ガス圧力センサーによって、ガス圧力センサーに割り当てられた、貫通チャネルの部分(28、30)内において支配的なガス圧力が決定可能である、
ことを特徴とする真空バルブ装置。
続きを表示(約 1,200 文字)
【請求項2】
ガス圧力センサー(44、46)は、バルブハウジング(22)内に形成された圧力測定チャンバー(40、42)内に配置されており、
この圧力測定チャンバーが、貫通チャネルと流体連通している、
ことを特徴とする請求項1に記載の真空バルブ装置。
【請求項3】
圧力測定チャンバー(40、42)は、圧力測定チャネル(52、58)を介して、貫通チャネルと接続されており、
圧力測定チャネル(52、58)が、圧力測定チャンバー(40、42)よりも小さな開口横断面積を有している、
ことを特徴とする請求項2に記載の真空バルブ装置。
【請求項4】
蓋要素(48)が設けられており、この蓋要素によって、圧力測定チャンバー(40、42)が、気密に、周囲環境に対して閉鎖されている、
ことを特徴とする請求項2または3に記載の真空バルブ装置。
【請求項5】
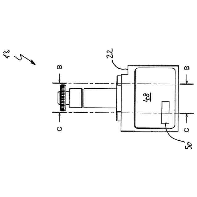
バルブハウジング(22)の外側面は、窪み部(54)を有しており、この窪み部から、圧力測定チャンバー(40、42)が、バルブハウジング(22)の内部へと延在し、且つ、この窪み部が、蓋要素(48)を少なくとも部分的に収容する、
ことを特徴とする請求項4に記載の真空バルブ装置。
【請求項6】
ガス圧力センサー(44、46)は、基板上に配置されており、この基板が、蓋要素(48)を形成する、
ことを特徴とする請求項4または5に記載の真空バルブ装置。
【請求項7】
ガス圧力センサー(44、46)の電気的な接続のための接続装置(50)が設けられており、この接続装置が、基板(48)の、ガスセンサーと反対側の側面上に配置されている、
ことを特徴とする請求項6に記載の真空バルブ装置。
【請求項8】
バルブ本体(38)は、直線状に移動可能に配置されており、
特に、このバルブ本体(38)の移動方向が、圧力測定チャンバー(40、42)の、及び/または、貫通チャネルの部分(28、30)のそれぞれの長手方向延在に対して垂直に配置されている、
ことを特徴とする請求項1から7のいずれか一つに記載の真空バルブ装置。
【請求項9】
圧力測定チャンバー(40、42)、及び/または、圧力測定チャネル(52、58)は、穿孔であり、及び/または、
貫通チャネルが、少なくとも部分的に、少なくとも1つの穿孔(28、30、32)によって形成されている、
ことを特徴とする請求項1から8のいずれか一つに記載の真空バルブ装置。
【請求項10】
アクチュエータ装置(39)が設けられており、このアクチュエータ装置によって、バルブ本体(38)が、貫通チャネルの解放及び/または遮断のために移動可能である、
ことを特徴とする請求項1から9のいずれか一つに記載の真空バルブ装置。
(【請求項11】以降は省略されています)
発明の詳細な説明
【技術分野】
【0001】
本発明は、真空システム内において設備され得る真空バルブ装置に関する。
続きを表示(約 1,700 文字)
【背景技術】
【0002】
研究において、または、多くの工業的なプロセスにおいて、例えば被覆技術及び/または半導体技術において、真空内、特に高真空または超高真空内において、所定の加工のステップまたは方法のステップが実施される必要がある。
この目的のために、真空システムが設けられており、これら真空システムが、通常、1つまたは複数の真空槽を備えており、これら真空槽が、真空ポンプによって排気され、従って、これら真空槽内において、その場合に、相応する加工のステップまたは方法のステップが実施され得る。それぞれの用途、もしくは、真空の品質に対する要求に応じて、真空ポンプは提供され、これら真空ポンプが、適当な性能特性を有している。
真空システムは、それに加えて、バルブ装置を備えており、これらバルブ装置によって、真空システムの個々の構成要素が、互いに、及び/または、周囲環境から分離され得る。
【0003】
そのような真空システムの制御のために、通常、センサーが設けられており、これらセンサーでもって、システム内における適当な位置において、そこで支配的な圧力が測定され得る。
【0004】
これらセンサーのデータは、制御ユニットにより処理され得、且つ、少なくとも1つの真空ポンプ及び/またはバルブ装置の適当な制御のための基礎として利用される。
【発明の概要】
【発明が解決しようとする課題】
【0005】
本発明の課題は、コストの安い方法で、真空システムの監視および制御を可能にする、真空バルブ装置を提供することである。
【課題を解決するための手段】
【0006】
この課題の解決は、請求項1の特徴を有する真空バルブ装置によって行われる。
【発明の効果】
【0007】
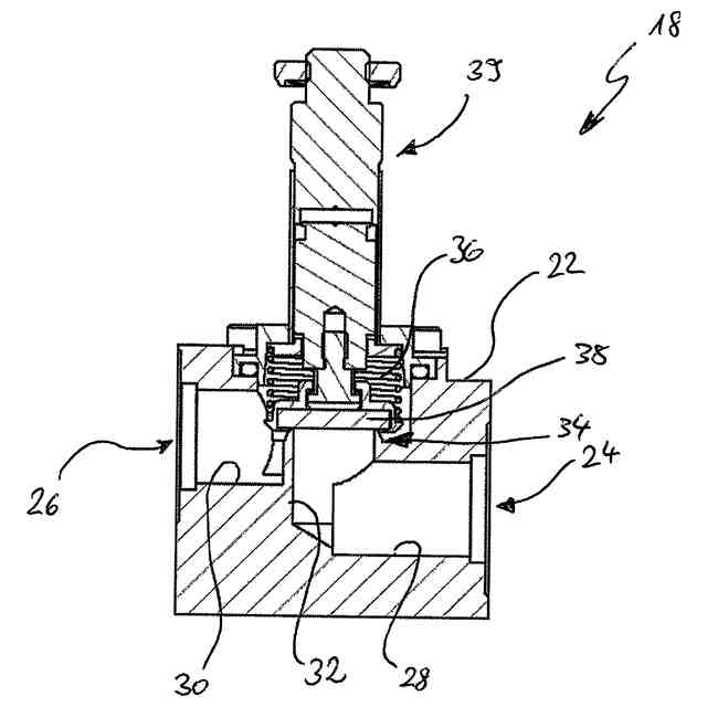
本発明に従い、真空バルブ装置は、バルブハウジングを備えており、このバルブハウジングが、ガス流入口とガス流出口とを有している。ガス流入口とガス流出口とは、貫通チャネルによって互いに接続している。
貫通チャネルは、移動可能に配置され且つ閉鎖位置においてバルブ座と協働するバルブ本体によって、選択的に、気密に遮断可能である。更に、バルブ装置内に統合された少なくとも1つのガス圧力センサーが設けられており、ガス圧力センサーによって、ガス圧力センサーに割り当てられた、貫通チャネルの部分内において支配的なガス圧力が測定可能である。
【0008】
ガス流入口とガス流出口とは、真空システムの更に別の構成要素、例えば直接的に真空槽及び/または真空ポンプのガス流出口及び/または真空導管と、接続可能である。ガス圧力センサーを用いて、貫通チャネル内における、バルブの開放の位置において支配的な圧力は、決定(bestimmt)され得る。
バルブ本体が密閉的にバルブ座と協働するバルブ装置の閉鎖位置において、ガス圧力センサーによって、このガス圧力センサーに割り当てられている、貫通チャネルの部分内における圧力が測定され得る。
【0009】
真空バルブ装置内へのガス圧力センサーの統合によって、真空システムの中央の構成要素におけるガス圧力を測定する、コンパクトな構成要素が提供される。真空バルブ装置の組み付けによって、従って、同時に2つの機能性(遮断可能性および監視センサー)が、相応する真空システム内へと統合され、このことは、組み付けコストおよび組み付け時間を少なからず低減する。
それに加えて、ガス圧力センサーを真空システム内へと統合することを可能にする、相応するアダプターを有する特別の導管部分を準備することは必要ない。真空ポンプ内への圧力センサーの統合は、著しいコストを伴い、且つ、メンテナンス作業及び/または修理作業に手間暇がかかる。
【0010】
本発明の更なる実施形態は、請求の範囲、明細書、および、添付された図内において記載されている。
(【0011】以降は省略されています)
この特許をJ-PlatPat(特許庁公式サイト)で参照する
関連特許
個人
留め具
27日前
個人
鍋虫ねじ
2か月前
個人
ホース保持具
6か月前
個人
回転伝達機構
3か月前
個人
紛体用仕切弁
2か月前
個人
差動歯車用歯形
4か月前
個人
トーションバー
7か月前
個人
ジョイント
1か月前
個人
給排気装置
1か月前
個人
ナット
1か月前
個人
地震の揺れ回避装置
3か月前
株式会社不二工機
電磁弁
5か月前
株式会社不二工機
電磁弁
4か月前
個人
ナット
5日前
個人
吐出量監視装置
2か月前
カヤバ株式会社
ダンパ
4か月前
カヤバ株式会社
緩衝器
4か月前
株式会社三協丸筒
枠体
7か月前
柿沼金属精機株式会社
分岐管
2か月前
カヤバ株式会社
緩衝器
1か月前
兼工業株式会社
バルブ
6日前
カヤバ株式会社
緩衝器
4か月前
カヤバ株式会社
ダンパ
4か月前
株式会社不二工機
電動弁
7か月前
株式会社ノーリツ
分配弁
6か月前
株式会社ノーリツ
分配弁
1か月前
個人
固着具と固着具の固定方法
5か月前
株式会社三五
ドライブシャフト
19日前
株式会社ニフコ
クリップ
1か月前
株式会社奥村組
制振機構
1か月前
株式会社奥村組
制振機構
1か月前
株式会社不二工機
電動弁
1か月前
個人
固着具と固着具の固定方法
5か月前
株式会社ノーリツ
分配弁
6か月前
株式会社ノーリツ
分配弁
6か月前
アズビル株式会社
回転弁
1か月前
続きを見る
他の特許を見る