TOP
|
特許
|
意匠
|
商標
特許ウォッチ
Twitter
他の特許を見る
公開番号
2025168284
公報種別
公開特許公報(A)
公開日
2025-11-07
出願番号
2025068185
出願日
2025-04-17
発明の名称
ガラスセラミック製の物品
出願人
ショット アクチエンゲゼルシャフト
,
SCHOTT AG
代理人
アインゼル・フェリックス=ラインハルト
,
個人
,
個人
,
個人
,
個人
,
個人
主分類
C03C
17/36 20060101AFI20251030BHJP(ガラス;鉱物またはスラグウール)
要約
【課題】ガラスセラミックからなるディスク状の透明な基材を有するガラスセラミック製の物品の提供。
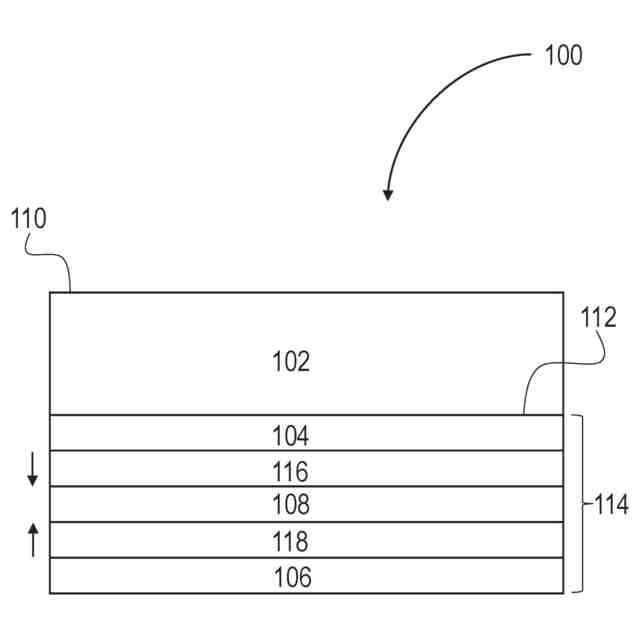
【解決手段】基材102が、使用面としての第1の表面110と、その反対側の第2の表面112とを有し、基材が、少なくとも80%の透明度を有し、基材が、透過時に、CIE標準光源D65の入射光の色座標がa=0.05~a=3にシフトすることを示し、第2の表面に、可視スペクトル範囲における反射率R
vis
が第1の表面への光入射時に30%超の反射性のコーティング114が被着されており、コーティングが、少なくとも3つの層を有し、第1の層104および第2の層106が、ケイ素含有および/もしくはアルミニウム含有の窒化物層または酸化物層または酸窒化物層であり、第1の層が、5nm~250nmの厚さを有し、第3の層108が、クロムまたはモリブデンからなる、ガラスセラミック製の物品である。
【選択図】図2
特許請求の範囲
【請求項1】
ガラスセラミックからなるディスク状の透明な基材(102)を有するガラスセラミック製の物品(100)であって、前記基材(102)が、使用面としての第1の表面(110)と、下面としての、前記第1の表面(110)と反対側の第2の表面(112)とを有し、
前記基材(102)が、少なくとも80%の透明度を有し、
前記基材(102)が、透過時に、CIE標準光源D65の入射光の色座標がa=0.05~a=3にシフトすることを示し、
前記基材(102)の前記第2の表面(112)に、可視スペクトル範囲における反射率R
vis
が前記第1の表面(110)への光入射時に30%超、好ましくは40%超である反射性のコーティング(114)が被着されており、
前記コーティング(114)が、少なくとも3つの層(104,106,108)を有し、
前記第2の表面(112)に最も近い、前記層のうちの第1の層(104)が、厚さ5nm~250nmのケイ素含有および/もしくはアルミニウム含有の窒化物層または酸化物層または酸窒化物層であり、
前記コーティング(114)において前記第2の表面(112)から最も遠くに離間されている、前記層のうちの第2の層(106)が、ケイ素含有および/もしくはアルミニウム含有の窒化物層または酸化物層または酸窒化物層であり、
前記第1の層(104)と前記第2の層(106)との間に配置された第3の層(108)が、クロムまたはモリブデンからなる、
物品(100)。
続きを表示(約 930 文字)
【請求項2】
前記第3の層(108)が、5~250nm、好ましくは5~50nmの厚さを有する、請求項1記載の物品(100)。
【請求項3】
前記第1の層(104)が、SiO
2
から、特にアルミニウムドープSiO
2
からなる、請求項1または2記載の物品(100)。
【請求項4】
前記第3の層(108)がモリブデンからなり、前記第3の層(108)と前記第1の層(104)との間にMoSiO
x
製の勾配層(116)が配置されており、前記勾配層(116)中のモリブデンの含有量が、前記第3の層(108)の方向に向かって増加する、請求項3記載の物品(100)。
【請求項5】
前記第1の層(104)が、5~200nm、好ましくは5~100nm、特に好ましくは5~60nmの厚さを有するSiO
x
N
y
からなる、請求項1または2記載の物品(100)。
【請求項6】
前記コーティング(114)が、MoO
3
不含である、請求項1から5までのいずれか1項記載の物品(100)。
【請求項7】
前記コーティング(114)の前記第1の層(104)および/または前記第2の層(106)が、非晶質である、請求項1から6までのいずれか1項記載の物品(100)。
【請求項8】
前記第1の層(104)と前記基材(102)の前記第2の表面(112)との間に、更なる層、特に装飾の形態の着色された層が配置されている、請求項1から7までのいずれか1項記載の物品(100)。
【請求項9】
前記コーティング(114)が、空所を有し、前記第2の表面(112)を全面にわたっては覆っていない、請求項1から8までのいずれか1項記載の物品(100)。
【請求項10】
前記基材(102)が、不可避の痕跡量を除いてヒ素およびアンチモン不含であるリチウムアルミニウムシリケートガラスセラミックからなる、請求項1から9までのいずれか1項記載の物品(100)。
発明の詳細な説明
【技術分野】
【0001】
本発明は、ガラスセラミックからなるディスク状の透明な基材を有するガラスセラミック製の物品に関する。
背景技術
続きを表示(約 1,600 文字)
【0002】
ガラスセラミック、特に透明なガラスセラミックは、長年知られている。そのようなガラスセラミックの従来技術で同様に知られている変形形態は、リチウムアルミニウムシリケート(LAS)ガラスセラミックであり、これは、特に透明な材料用の高石英混晶(HQMK)(β-ユークリプタイトとしても知られている)または特に半透明もしくは不透明な材料用のキータイト混晶(KMK)(b-スポジュメンとしても知られている)のいずれかを主結晶相として含有している。そのようなガラスセラミックを製造するためには、まずガラス製造について一般的な方法で、出発ガラス、いわゆるグリーンガラスを製造する。これらのグリーンガラスは、熱処理、すなわちセラミック化によってガラスセラミックに変換される。このようにして作製された透明なガラスセラミックは、多様な分野で適用することができる。特に、そのようなガラスセラミックは、調理面として使用される。さらに、このようなガラスセラミックは、暖炉、ベーキングオーブン用の覗き窓として、作業台として、または安全ガラスとして使用される。
【0003】
例えば、このような透明なガラスセラミックが記載されている本願人の欧州特許第2593409号明細書または欧州特許第817269号明細書(再発行)を参照する。
【0004】
調理面としての使用の場合、透明なガラスセラミックには、通常、下面コーティングが施され、そのため、調理面の下方に配置された部品、特に誘導コイルおよび更なる電気部品は、もはや調理面の上方からはエンドユーザに見えなくなる。調理面の下方にある部品の遮蔽に加えて、そのような下面コーティングはさらに、審美的目的も果たす。したがって、色および性質によって互いに異なる、このような下面コーティングの多様な構成が知られている。
【0005】
とりわけ、ここでは、ステンレス鋼合金をベースとする金属反射性下面コーティングが、例えば欧州特許第2801556号明細書に記載されているように、既知である。
【0006】
系に起因して、ガラスセラミックの製造時の製造パラメータのわずかな増減、例えば、組成における増減、溶融プロセスのプロセスパラメータにおける増減、およびセラミック化のパラメータにおける増減によって、透明なガラスセラミックの光学特性における変動が生じることがある。通常、そのような透明なガラスセラミックの最も重要な光学特性のうちの1つは、ガラスセラミックの透過時に、ガラスセラミックに入射するCIE標準光源D65の光の彩度が低いことなどによって表される、できる限り色的に中立な(farbneutrale)光透過である。ここで、色的に中立な透過は、下面コーティングが染色堅牢性を示すことと同義である。ここで、特定の種類のガラスセラミックの場合、CIE標準光源D65の入射光の色座標がCIELab色空間の0.05~3の範囲のaの値にシフトすることなどによって表される、赤色スペクトル範囲における色シフトが特に観察される。
【0007】
ここで、特に、金属反射性下面コーティングを使用する場合、下面コーティングにおいて反射された周囲が歪んだ色で再現されることから、ガラスセラミックの色シフトは、色的に中立な透過に比べて容易に目立つ。
【0008】
この背景を前にして、下面コーティングが被着される特に赤色範囲における透明なガラスセラミックの彩度を補償することを可能にする下面コーティングの需要がある。
【0009】
この課題は、本願の請求項1の対象によって解決される。
【0010】
本発明の好ましい構成は、従属請求項に記載されている。
(【0011】以降は省略されています)
この特許をJ-PlatPat(特許庁公式サイト)で参照する
関連特許
日本電気硝子株式会社
封着材料ペースト
1か月前
ノリタケ株式会社
封止用グリーンシート
1か月前
ノリタケ株式会社
ガラス接合材およびその利用
1か月前
AGC株式会社
感光性ガラス
2か月前
日本電気硝子株式会社
ガラスの製造方法
3か月前
AGC株式会社
車両用窓ガラスとその製造方法
1か月前
信越化学工業株式会社
光ファイバ母材の製造方法
3か月前
AGC株式会社
複層ガラス、高地対応複層ガラス
1か月前
信越化学工業株式会社
光ファイバ母材の製造方法
11日前
ノリタケ株式会社
ガラス接合材及びその利用
1か月前
日本板硝子株式会社
ビル用複層ガラス
2か月前
ノリタケ株式会社
ガラス接合材及びその利用
1か月前
日本電気硝子株式会社
ガラス製造装置
1か月前
ノリタケ株式会社
組立体の製造方法および組立体
1か月前
白金科技股分有限公司
微小球およびその調製方法
4か月前
AGC株式会社
合わせガラス
2か月前
日本電気硝子株式会社
ガラス板の製造方法
1か月前
信越化学工業株式会社
石英ガラス棒およびその製造方法
1か月前
信越化学工業株式会社
光ファイバ用多孔質母材の製造装置
11日前
日本電気硝子株式会社
ガラス物品の製造方法
2か月前
日本板硝子株式会社
車両用調光合わせガラス
4か月前
日本電気硝子株式会社
ガラス物品の製造方法
1か月前
AGC株式会社
積層体及び移動体
1か月前
AGC株式会社
ガラス材料、結晶化ガラス
19日前
住友電気工業株式会社
光ファイバの製造方法
3か月前
住友電気工業株式会社
光ファイバの製造装置
2か月前
住友電気工業株式会社
光ファイバの製造方法
2か月前
日本電気硝子株式会社
減圧脱泡装置及びガラス製造装置
1か月前
住友電気工業株式会社
光ファイバ母材の製造方法
2か月前
住友ゴム工業株式会社
ポリマー被覆ガラス基材
3か月前
日本電気硝子株式会社
溶融装置及びガラス物品の製造方法
3か月前
日本電気硝子株式会社
ガラス
2か月前
日本電気硝子株式会社
ガラス物品の製造方法及び製造装置
2か月前
AGC株式会社
ガラス
3か月前
ヘラクレスガラス技研株式会社
5G電波透過型日射遮蔽高可視光透過ガラス
2か月前
芝浦機械株式会社
ガラス成形装置及び金型洗浄方法
1か月前
続きを見る
他の特許を見る