TOP
|
特許
|
意匠
|
商標
特許ウォッチ
Twitter
他の特許を見る
公開番号
2025165886
公報種別
公開特許公報(A)
公開日
2025-11-05
出願番号
2025065151
出願日
2025-04-10
発明の名称
管状核燃料被覆管試料を事故条件下で機械的に試験する装置及び方法
出願人
コミサリア ア レネルジ アトミク エ オウ エネルジ アルタナティヴ
代理人
個人
主分類
G21C
3/02 20060101AFI20251028BHJP(核物理;核工学)
要約
【課題】管状核燃料被覆管試料を事故条件下で機械的に試験する装置及び方法を提供する。
【解決手段】管状核燃料被覆管試料(1)を事故条件下で機械的に試験する装置及び方法であって、
-管状試料(1)に挿入されて、機械的試験空間(4)に配置されるように設計された変形可能な円筒状コア(5)であって、その周囲に導電性ワイヤ(12)の巻線(11)を有し、当該巻線(11)が、一方の圧縮ピストン(2)に電気的に接続されるように設計された第1接続端(14A)と、他方の圧縮ピストン(2)に電気的に接続されるように設計された第2接続端(14B)とを有する、変形可能な円筒状コア(5)と、
-2つの圧縮ピストン(2)間及び巻線(11)内に電流を流すように設計された発電機(19)と
を有する。
【選択図】図2
特許請求の範囲
【請求項1】
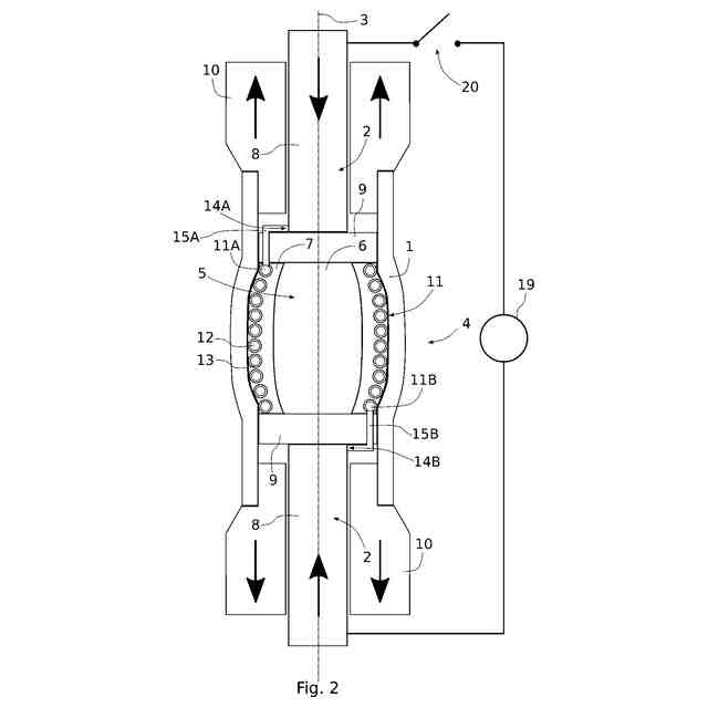
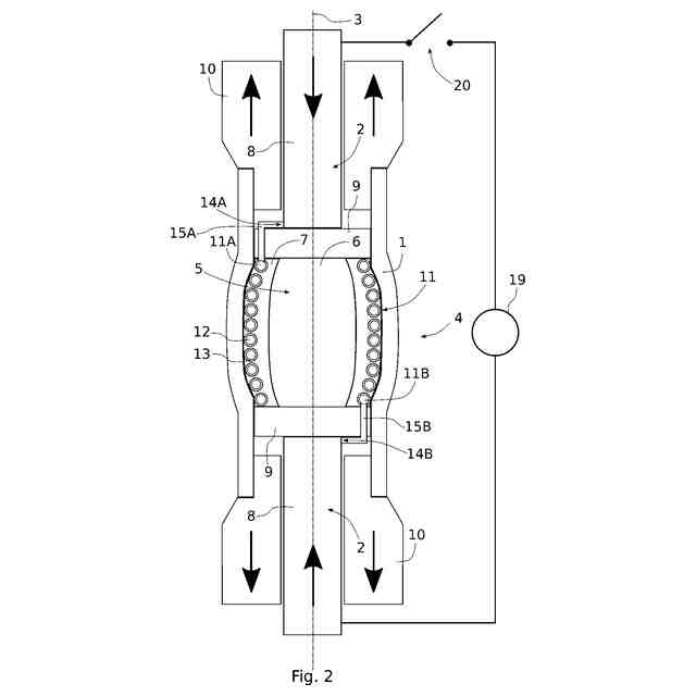
管状核燃料被覆管試料(1)を事故条件下で機械的に試験する装置であって、
クランプ軸(3)に沿って互いに相対的に移動することができ、それらの間に機械的試験空間(4)を画定することができる2つの圧縮ピストン(2)を含み、前記圧縮ピストン(2)が少なくとも1つの導電性部分を含むことを特徴とし、
-前記管状核燃料被覆管試料(1)内に挿入されて、前記機械的試験空間(4)に配置されるように設計された変形可能な円筒状コア(5)であって、その周囲に導電性ワイヤ(12)の巻線(11)を有し、当該巻線(11)が、一方の前記圧縮ピストン(2)に電気的に接続されるように設計された第1接続端(14A)と、他方の前記圧縮ピストン(2)に電気的に接続されるように設計された第2接続端(14B)とを有する、変形可能な円筒状コア(5)と、
-2つの前記圧縮ピストン(2)間及び前記巻線(11)内に電流を流すように設計された発電機(19)と、
を有する、
装置。
続きを表示(約 910 文字)
【請求項2】
前記巻線(11)は、前記変形可能な円筒状コア(5)の材料に一体化されていることを特徴とする、請求項1に記載の装置。
【請求項3】
前記導電性ワイヤ(12)は、電気絶縁シース(13)を備えていることを特徴とする、請求項1又は2に記載の装置。
【請求項4】
前記導電性ワイヤ(12)は、前記変形可能な円筒状コア(5)の一端から他端まで、前記クランプ軸(3)に沿って、前記変形可能な円筒状コア(5)の外側円筒面に螺旋状に巻かれていることを特徴とする、請求項1~3のいずれか1項に記載の装置。
【請求項5】
前記第1接続端(14A)及び前記第2接続端(14B)は、それぞれ、対応する前記圧縮ピストン(2)の一部を貫通する第1導体(15A)及び第2導体(15B)を備えていることを特徴とする、請求項1~4のいずれか1項に記載の装置。
【請求項6】
前記圧縮ピストン(2)は、それぞれ、前記発電機(19)に接続されるように設計された導電性バー(8)と、前記変形可能な円筒状コア(5)に対向して配置されるように設計された絶縁性の円筒状バッファ(9)とを備えていることを特徴とする、請求項1~5のいずれか1項に記載の装置。
【請求項7】
前記変形可能な円筒状コア(5)は、第1材料からなる内部円筒部(6)を備え、前記第1材料とは異なる第2材料からなる外部環状部(7)に嵌合されていることを特徴とする、請求項1~6のいずれか1項に記載の装置。
【請求項8】
前記内部円筒部(6)の降伏強度は、前記外部環状部(7)の降伏強度よりも低いことを特徴とする請求項7に記載の装置。
【請求項9】
外部環状部(7)の融点は、内部円筒部(6)の融点よりも高いことを特徴とする、請求項7又は8に記載の装置。
【請求項10】
前記管状核燃料被覆管試料(1)の端部を固定するように設計されたジョー(10)を備えることを特徴とする、請求項1~9のいずれか1項に記載の装置。
(【請求項11】以降は省略されています)
発明の詳細な説明
【技術分野】
【0001】
本発明は原子力の分野に関し、特にプラントの安全性の分野に関する。本発明は、原子炉で使用される要素の機械的挙動を解析するために使用される診断及び試験手段に関する。
続きを表示(約 1,700 文字)
【背景技術】
【0002】
原子炉は通常、被覆管(クラッド)と呼ばれる管状の棒のアセンブリを含み、その中に核燃料ペレットが積み重ねられている。この管状被覆管は、熱及び核分裂生成物を発生させる核分裂反応が起こる場所である。この管状被覆管は、燃料及び核分裂生成物の拡散に対する第1の封じ込め障壁を形成する。
【0003】
安全上の理由から、原子力発電所では、公称使用条件及び特定の偶発的(incidental)又は事故的(accidental)な条件を代表する特定の応力を受ける管状被覆管の材料の機械的挙動を知ることが最も重要である。この情報を得るため、原子炉からの管状被覆管試料に対し、遮蔽セル内で特定の機械的及び熱的試験が実施される。また、照射されていない被覆管試料に対しては、従来の実験室でも試験が実施される。
【0004】
本発明は、この文脈において、最も重要な条件である、事故条件下の原子炉で遭遇する条件に相当する条件下で、管状被覆管試料の機械的挙動(特に破断時の変形)に関するデータを提供することを目的とする。
【0005】
核燃料被覆管の実際の公称運転条件を可能な限り忠実に再現することを目的として、仏国特許出願公開第3041097号、第3101421号明細書は、被覆管に二軸機械的応力を加えることを目的として、被覆管試料の内部に配置された媒体を圧縮するためのソリューションを記載している。しかし、これらのデバイスは、事故条件下、すなわち温度が非常に急速に上昇する場合の機械的試験を可能にしない。
【0006】
他のソリューションは、事故条件を再現するために、機械的試験要素を、被覆管を加熱する手段と組み合わせることを提案している。しかし、これらのソリューションは、毎秒約100から200℃の試料の温度上昇率を可能にするが、これは、温度が最大1000℃/sの速度で上昇する可能性がある実際の事故条件からはまだ遠い。
【先行技術文献】
【特許文献】
【0007】
仏国特許出願公開第3041097号明細書
仏国特許出願公開第3101421号明細書
【発明の概要】
【発明が解決しようとする課題】
【0008】
本発明の目的は、従来の装置及び方法を改善することである。
【課題を解決するための手段】
【0009】
この目的のために、本発明は、管状核燃料被覆管試料を事故条件下で機械的に試験する装置に関する。この装置は、クランプ軸に沿って互いに相対的に移動することができ、それらの間に機械的試験空間を画定することができる2つの圧縮ピストンを含む。この装置において、前記圧縮ピストンは、少なくとも1つの導電性部分を含む。この装置は、さらに、
-前記管状核燃料被覆管試料内に挿入されて、前記機械的試験空間に配置されるように設計された変形可能な円筒状コアであって、その周囲に導電性ワイヤの巻線を有し、当該巻線が、一方の前記圧縮ピストンに電気的に接続されるように設計された第1接続端と、他方の前記圧縮ピストンに電気的に接続されるように設計された第2接続端とを有する、変形可能な円筒状コアと、
-2つの前記圧縮ピストン間及び前記巻線内に電流を流すように設計された発電機と、
を有する。
【0010】
別の主題によれば、本発明は、上記のような装置を用いて、管状核燃料被覆管試料を事故条件下で機械的に試験する方法に関する。この方法は、以下のステップ、
-管状核燃料被覆管試料を前記試験空間に配置し、前記変形可能な円筒状コアを前記管状核燃料被覆管試料内に挿入し、前記第1接続端及び前記第2接続端を対応する圧縮ピストンに電気的に接続し
-2つの圧縮ピストンを発電機に接続することにより、前記巻線を加熱して前記管状核燃料被覆管試料の温度を上昇させる第1シーケンスと、
-2つの圧縮ピストンを発電機から切り離し、前記円筒状コアを圧縮する第2圧縮シーケンスと、
を含む。
(【0011】以降は省略されています)
この特許をJ-PlatPat(特許庁公式サイト)で参照する
関連特許
個人
常温核融合装置
7か月前
個人
常温核融合装置
2日前
個人
常温核融合装置
7か月前
個人
原子力プラント
1か月前
個人
常温核融合装置
7か月前
個人
超音波振動子の利用
1か月前
個人
廃炉方法及び固化材
1か月前
個人
元素変換用固体核融合工程
5か月前
個人
安山岩を利用した放射線消去装置
6か月前
個人
安山岩を利用した放射線消去装置
4か月前
個人
はんれい岩を利用した放射線消去装置
4か月前
合同会社日本レプトン
電子発生部材
8日前
パテントフレア株式会社
核融合反応促進法
6か月前
パテントフレア株式会社
核融合反応促進法
7か月前
中国電力株式会社
燃料集合体移動装置
今日
個人
装置、加速器、減速器、核変換システム
7か月前
合同会社日本レプトン
電子発生ペースト
1か月前
株式会社エー・アンド・デイ
X線検査装置
6か月前
株式会社エー・アンド・デイ
X線検査装置
6か月前
栗田工業株式会社
放射性廃液の処理方法
1か月前
PDRファーマ株式会社
遮蔽容器
6か月前
個人
核変換システム、加工装置、除去装置、切除装置
6か月前
合同会社日本レプトン
電子発生部材の製造方法
8日前
個人
加速器屋が考えたTEMモード同軸共鳴器型核融合炉
21日前
国立大学法人大阪大学
原子力発電装置
6か月前
住友重機械工業株式会社
搬送システム
4か月前
合同会社日本レプトン
電子発生器具及びその製造方法
1か月前
合同会社日本レプトン
電子発生器具及びその製造方法
1か月前
浜松ホトニクス株式会社
電子線照射装置
7か月前
三菱重工業株式会社
原子炉
8日前
合同会社日本レプトン
電子発生素材及び電子発生部材
8日前
個人
共振励起型固体核融合装置と元素変換用固体核融合工程
4か月前
浜松ホトニクス株式会社
電子線照射装置
7か月前
三菱重工業株式会社
加圧容器
2か月前
個人
過剰熱起電力発生方法
5か月前
日揮株式会社
放射性廃棄物の固化処理方法
7か月前
続きを見る
他の特許を見る