TOP
|
特許
|
意匠
|
商標
特許ウォッチ
Twitter
他の特許を見る
10個以上の画像は省略されています。
公開番号
2025165285
公報種別
公開特許公報(A)
公開日
2025-11-04
出願番号
2024069314
出願日
2024-04-22
発明の名称
飲料水供給装置
出願人
浜名部品工業株式会社
代理人
個人
主分類
B67D
3/00 20060101AFI20251027BHJP(びん,広口びんまたは類似の容器の開封または密封;液体の取扱い)
要約
【課題】装置本体に対する収容容器の取り付け作業を容易に行わせることができる飲料水供給装置を提供する。
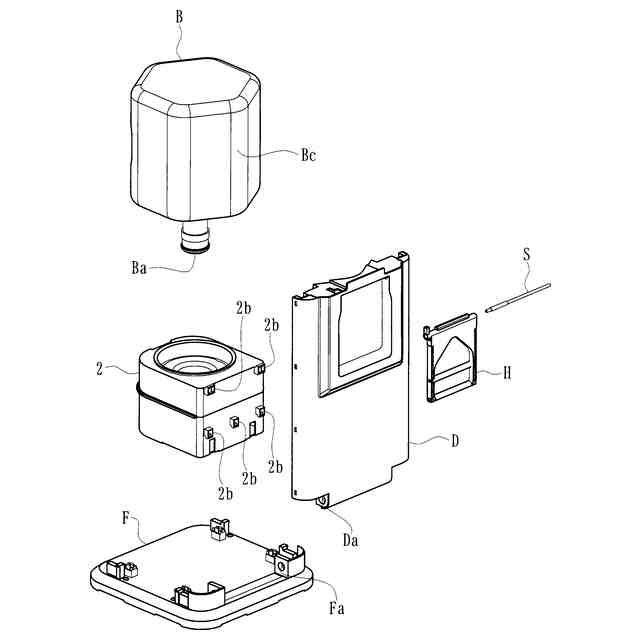
【解決手段】飲料水を収容した収容容器Bを取り付け又は取り外し可能な装置本体1と、収容容器Bの吐出口Baと接続される接続手段2と、所定の操作によって収容容器Bから吐出された飲料水を操作に応じた所定量だけ排出させる排出口3とを具備した飲料水供給装置であって、接続手段2が取り付けられるとともに、装置本体1の下部に形成された開口部1aを閉塞する閉塞位置と開口部1aを開放する開放位置との間で移動可能な開閉扉Dを具備して構成され、開閉扉Dは、開放位置にあるとき、収容容器Bを保持可能とされて吐出口Baが接続手段2と接続される接続位置まで当該収容容器Bを案内可能とされたものである。
【選択図】図1
特許請求の範囲
【請求項1】
所定容量の飲料水を収容するとともに、収容した飲料水を外部に吐出可能な吐出口が形成された収容容器と、
前記収容容器を取り付け又は取り外し可能な装置本体と、
前記装置本体に取り付けられた前記収容容器の前記吐出口と接続されるとともに、前記収容容器で収容された飲料水を前記吐出口から吐出させる接続手段と、
所定の操作によって前記収容容器から吐出された飲料水を前記操作に応じた所定量だけ排出させる排出口と、
を具備した飲料水供給装置であって、
前記接続手段が取り付けられるとともに、前記装置本体の下部に形成された開口部を閉塞する閉塞位置と前記開口部を開放する開放位置との間で移動可能な開閉扉を具備して構成され、前記開閉扉は、前記開放位置にあるとき、前記収容容器を保持可能とされて前記吐出口が前記接続手段と接続される接続位置まで当該収容容器を案内可能とされたことを特徴とする飲料水供給装置。
続きを表示(約 440 文字)
【請求項2】
前記開閉扉は、所定角度傾斜して前記開放位置とされるとともに、前記開放位置にある前記開閉扉を支持して所定角度傾斜した状態を維持する支持手段を具備したことを特徴とする請求項1記載の飲料水供給装置。
【請求項3】
前記開閉扉は、前記収容容器の外周面に沿った形状の摺動面を有し、当該摺動面に前記収容容器の外周面を合致させつつ前記接続位置まで摺動させて案内可能とされたことを特徴とする請求項2記載の飲料水供給装置。
【請求項4】
前記支持手段は、作業者が把持して前記開閉扉を前記閉塞位置から開放位置まで揺動させる把持レバーから成ることを特徴とする請求項2記載の飲料水供給装置。
【請求項5】
前記支持手段は、前記開閉扉に収納された収納状態と、前記開閉扉から突出した突出状態との間で移動可能とされ、前記開閉扉が開放位置にあるとき、前記突出状態が維持されて当該開閉扉を支持することを特徴とする請求項4記載の飲料水供給装置。
発明の詳細な説明
【技術分野】
【0001】
本発明は、飲料水を任意の量だけ排出させて提供し得る飲料水供給装置に関するものである。
続きを表示(約 1,500 文字)
【背景技術】
【0002】
近時において、任意の量の飲料水などを提供するウォータサーバなどの飲料水供給装置が普及しつつある。かかる飲料水供給装置は、例えば特許文献1等にて開示されているように、飲料水を収容した収容容器(ボトルや袋体等)を装置本体の上部に取り付け、所定の操作によって排出口から収容容器内の飲料水を排出させるとともに、収容容器内の飲料水が不足した場合、当該収容容器を装置本体から取り外し、新たな収容容器に交換可能とされている。
【先行技術文献】
【特許文献】
【0003】
特開2016-84159号公報
【発明の概要】
【発明が解決しようとする課題】
【0004】
しかしながら、上記従来技術においては、収容容器を交換する場合、空の収容容器を取り外した後、飲料水で満たされた重量のある収容容器を装置本体の上部まで持ち上げて取り付ける必要がある。さらに、収容容器を装置本体に取り付ける際、持ち上げた収容ボトルの吐出口が下方を向くように持ち直し、その吐出口を装置本体の接続手段に接続する必要があり、特に女性や子供にとって収容容器を交換するのが難しいという課題があった。
【0005】
本発明は、このような事情に鑑みてなされたもので、装置本体に対する収容容器の取り付け作業を容易に行わせることができる飲料水供給装置を提供することにある。
【課題を解決するための手段】
【0006】
請求項1記載の発明は、所定容量の飲料水を収容するとともに、収容した飲料水を外部に吐出可能な吐出口が形成された収容容器と、前記収容容器を取り付け又は取り外し可能な装置本体と、前記装置本体に取り付けられた前記収容容器の前記吐出口と接続されるとともに、前記収容容器で収容された飲料水を前記吐出口から吐出させる接続手段と、所定の操作によって前記収容容器から吐出された飲料水を前記操作に応じた所定量だけ排出させる排出口とを具備した飲料水供給装置であって、前記接続手段が取り付けられるとともに、前記装置本体の下部に形成された開口部を閉塞する閉塞位置と前記開口部を開放する開放位置との間で移動可能な開閉扉を具備して構成され、前記開閉扉は、前記開放位置にあるとき、前記収容容器を保持可能とされて前記吐出口が前記接続手段と接続される接続位置まで当該収容容器を案内可能とされたことを特徴とする。
【0007】
請求項2記載の発明は、請求項1記載の飲料水供給装置において、前記開閉扉は、所定角度傾斜して前記開放位置とされるとともに、前記開放位置にある前記開閉扉を支持して所定角度傾斜した状態を維持する支持手段を具備したことを特徴とする。
【0008】
請求項3記載の発明は、請求項2記載の飲料水供給装置において、前記開閉扉は、前記収容容器の外周面に沿った形状の摺動面を有し、当該摺動面に前記収容容器の外周面を合致させつつ前記接続位置まで摺動させて案内可能とされたことを特徴とする。
【0009】
請求項4記載の発明は、請求項2記載の飲料水供給装置において、前記支持手段は、作業者が把持して前記開閉扉を前記閉塞位置から開放位置まで揺動させる把持レバーから成ることを特徴とする。
【0010】
請求項5記載の発明は、請求項4記載の飲料水供給装置において、前記支持手段は、前記開閉扉に収納された収納状態と、前記開閉扉から突出した突出状態との間で移動可能とされ、前記開閉扉が開放位置にあるとき、前記突出状態が維持されて当該開閉扉を支持することを特徴とする。
【発明の効果】
(【0011】以降は省略されています)
この特許をJ-PlatPat(特許庁公式サイト)で参照する
関連特許
浜名部品工業株式会社
飲料水供給装置
12日前
個人
万能シリコン漏斗。
4か月前
個人
ペットボトルオープナー
23日前
株式会社タツノ
給油装置
2か月前
個人
ウォーターサーバー
17日前
澁谷工業株式会社
キャッパ
10か月前
澁谷工業株式会社
充填装置
6か月前
株式会社タツノ
給油認証システム
1か月前
有限会社ユウアイ
内容物充填装置
2か月前
個人
ボトルキャップ用開栓具
12か月前
靜甲株式会社
キャップの巻締め機構
4か月前
個人
開封具
5か月前
浜名部品工業株式会社
飲料水供給装置
12日前
澁谷工業株式会社
キャッピング装置
9か月前
澁谷工業株式会社
キャッピング装置
4か月前
個人
液体注出補助具
4か月前
ホシザキ株式会社
飲料供給装置
9か月前
ホシザキ株式会社
飲料供給装置
9か月前
ホシザキ株式会社
飲料供給装置
9か月前
株式会社吉野工業所
高温充填方法
9か月前
キリンホールディングス株式会社
飲料注出装置
4か月前
アクアムホールディングス株式会社
空気製水機
23日前
靜甲株式会社
キャップ保持機構並びにキャッパー
4か月前
キリンホールディングス株式会社
容器の保管装置
3か月前
アサヒ飲料株式会社
炭酸飲料製造ラインの制御方法
9か月前
サッポロビール株式会社
カラン
10か月前
澁谷工業株式会社
充填装置の洗浄・殺菌システム
2か月前
富士電機株式会社
飲料供給装置
4か月前
富士電機株式会社
飲料供給装置
10か月前
サッポロビール株式会社
飲料サーバー
5か月前
富士電機株式会社
飲料供給装置
10か月前
Kyopalab合同会社
詰替装置および詰替方法
2か月前
富士電機株式会社
飲料供給装置
10か月前
トキコシステムソリューションズ株式会社
給液装置
7か月前
サッポロビール株式会社
飲料サーバー
10か月前
富士電機株式会社
飲料供給装置
4か月前
続きを見る
他の特許を見る